TOP
|
特許
|
意匠
|
商標
特許ウォッチ
Twitter
他の特許を見る
10個以上の画像は省略されています。
公開番号
2025158787
公報種別
公開特許公報(A)
公開日
2025-10-17
出願番号
2024061662
出願日
2024-04-05
発明の名称
電子装置
出願人
株式会社東芝
代理人
弁理士法人鈴榮特許綜合事務所
主分類
H05K
7/20 20060101AFI20251009BHJP(他に分類されない電気技術)
要約
【課題】放熱性と保温性とを両立できる電子装置を提供する。
【解決手段】実施形態にかかる電子装置は、第1部と、第2部と、前記第1部と前記第2部との間に設けられ、温度によって熱伝導状態が変化する熱伝導可変部と、を備える。
【選択図】 図4
特許請求の範囲
【請求項1】
第1部と、
第2部と、
前記第1部と前記第2部との間に設けられ、温度によって熱伝導状態が変化する熱伝導可変部と、を備える、電子装置。
続きを表示(約 560 文字)
【請求項2】
前記熱伝導可変部は、温度によって接触状態が切り替わる接触部材を有する、請求項1に記載の電子装置。
【請求項3】
前記接触部材は、温度によって変形する変形部を有する、請求項2に記載の電子装置。
【請求項4】
前記変形部は、熱特性の異なる複数の金属部材を貼り合わせたバイメタル部材である、請求項3に記載の電子装置。
【請求項5】
前記変形部は、熱により伸縮する伸縮部材を備える、請求項3に記載の電子装置。
【請求項6】
前記伸縮部材は、コイルばねである、請求項5に記載の電子装置。
【請求項7】
前記第1部は、電子部品を搭載した基板であり、
前記第2部は、モジュールを収容するシャーシである、請求項2に記載の電子装置。
【請求項8】
前記基板のエッジにおいて、前記シャーシとの間に配されるリテーナを備え、
前記第1部は前記基板のエッジに接続され、前記第2部はリテーナに接続される、請求項7に記載の電子装置。
【請求項9】
前記モジュールは、
基板と、
前記基板に搭載される電子部品と
前記基板を覆うカバー部材と、
を備える、請求項8に記載の電子装置。
発明の詳細な説明
【技術分野】
【0001】
本発明の実施形態は、電子装置に関する。
続きを表示(約 1,700 文字)
【背景技術】
【0002】
寒冷地や航空機に搭載される電子装置は、低温下に曝露されることからウォームアップ(暖気)によって起動時間を短縮することがある。一方、周囲温度が高いときには、装置外部への放熱性を確保しなければならない。そこで、保温性と放熱性を両立できる電子装置が求められている。
【先行技術文献】
【特許文献】
【0003】
特開2022-7173号公報
特開2019-102662号公報
【発明の概要】
【発明が解決しようとする課題】
【0004】
本発明が解決しようとする課題は保温性と放熱性を両立できる電子装置を提供することである。
【課題を解決するための手段】
【0005】
実施形態にかかる電子装置は、第1部と、第2部と、前記第1部と前記第2部との間に設けられ、温度によって熱伝導状態が変化する熱伝導可変部と、を備える。
【図面の簡単な説明】
【0006】
第1実施形態にかかる電子装置の説明図。
同電子装置の構成を示す断面図。
同電子装置の一部の構成を示す説明図。
同電子装置の熱伝導可変部の構成を示す断面図。
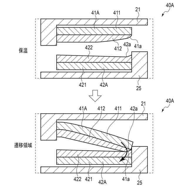
変形例1にかかる電子装置の熱伝導可変部の構成を示す断面図。
バイメタルの構造式を示す説明図。
変形例2にかかる電子装置の熱伝導可変部の構成を示す断面図。
同熱伝導可変部の構成を示す平面図。
同熱伝導可変部による熱伝導モードを示すグラフ。
変形例3にかかる電子装置の熱伝導可変部の構成を示す説明図。
熱伝導率の式を示す説明図。
同熱伝導可変部による熱伝導モードを示すグラフ。
同熱伝導可変部の構成を示す説明図。
変形例4にかかる電子装置の熱伝導可変部の構成を示す断面図。
同熱伝導可変部の構成を示す平面図。
変形例5にかかる電子装置の熱伝導可変部の構成を示す断面図。
変形例6にかかる電子装置の熱伝導可変部の構成を示す断面図。
同熱伝導可変部による熱伝導モードを示すグラフ。
【発明を実施するための形態】
【0007】
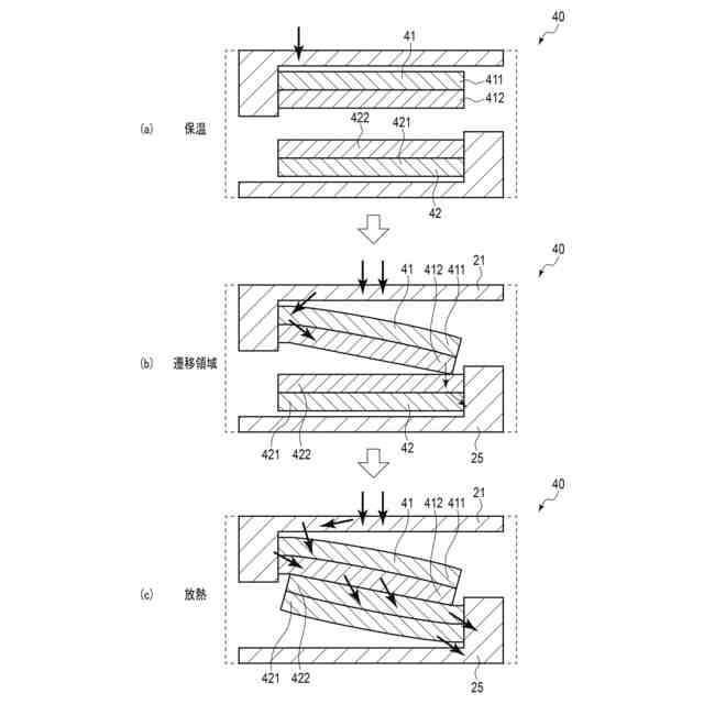
以下、本発明の一実施形態にかかる電子装置1について、図1乃至図4を参照して説明する。図1第1実施形態にかかる電子装置1の説明図であり、図2は電子装置1の構成を示す断面図である。図3は電子装置の一部であってシャーシ10と基板21のエッジ21aの組付け部の構成を示す説明図である。図4は熱伝導可変部40の構成を示す説明図である。各図において説明のため、適宜構成を拡大、縮小または省略して概略的に示している。図中矢印X,Y,Zは互いに直交する3方向をそれぞれ示す。一例として、X軸は第1方向、Y軸は第2方向、Z軸は第3方向に、それぞれ沿って配置される姿勢を示す。
【0008】
電子装置1は、例えば筐体に設けられるシャーシ10と、モジュール20と、熱伝導可変部40と、を備える。例えば電子装置1は航空機の通信制御装置等である。本実施形態においてモジュール20の基板21を第1部の一例とし、シャーシ10を第2部の一例とする。
【0009】
シャーシ10は、例えばモジュール20を挿入する開口を有し、モジュール20を収容する筐体である。例えばシャーシ10は、一対のレール部11と、一対のレール部11を接続する端部フレーム12と、を備え、モジュール20の挿入方向の一方側に開くコ字状に構成される。
【0010】
一対のレール部11は、モジュール20の幅方向に沿う第1方向における両端にそれぞれ配置される。各レール部11は、挿入方向となる第2方向に沿って延出する。一対のレール部11は、互いに対向する第1方向内側に向けて開口する、スリット状のレール溝11aを有する。レール部11のレール溝11aは、モジュール20の両側部に設けられるエッジ部20aと係合し、モジュール20の挿入方向を案内する。
(【0011】以降は省略されています)
この特許をJ-PlatPat(特許庁公式サイト)で参照する
関連特許
株式会社東芝
固定子
3か月前
株式会社東芝
モータ
2か月前
株式会社東芝
端子台
1か月前
株式会社東芝
センサ
3か月前
株式会社東芝
電子源
3日前
株式会社東芝
センサ
2か月前
株式会社東芝
センサ
2か月前
株式会社東芝
電子回路
1か月前
株式会社東芝
電子装置
1か月前
株式会社東芝
電子装置
2か月前
株式会社東芝
吸音装置
2か月前
株式会社東芝
除去装置
1か月前
株式会社東芝
金型構造
2か月前
株式会社東芝
半導体装置
2か月前
株式会社東芝
半導体装置
1か月前
株式会社東芝
ラック装置
3か月前
株式会社東芝
真空バルブ
1か月前
株式会社東芝
電動送風機
3か月前
株式会社東芝
半導体装置
1か月前
株式会社東芝
半導体装置
1か月前
株式会社東芝
高周波回路
1か月前
株式会社東芝
半導体装置
1か月前
株式会社東芝
半導体装置
1か月前
株式会社東芝
半導体装置
1か月前
株式会社東芝
半導体装置
2か月前
株式会社東芝
半導体装置
1か月前
株式会社東芝
半導体装置
1か月前
株式会社東芝
半導体装置
1か月前
株式会社東芝
真空バルブ
1か月前
株式会社東芝
半導体装置
2か月前
株式会社東芝
半導体装置
1か月前
株式会社東芝
半導体装置
1か月前
株式会社東芝
半導体装置
1か月前
株式会社東芝
半導体装置
1か月前
株式会社東芝
半導体装置
1か月前
株式会社東芝
半導体装置
18日前
続きを見る
他の特許を見る