TOP
|
特許
|
意匠
|
商標
特許ウォッチ
Twitter
他の特許を見る
10個以上の画像は省略されています。
公開番号
2025140723
公報種別
公開特許公報(A)
公開日
2025-09-29
出願番号
2024040280
出願日
2024-03-14
発明の名称
半導体装置
出願人
株式会社東芝
,
東芝デバイス&ストレージ株式会社
代理人
弁理士法人志賀国際特許事務所
主分類
H01L
23/50 20060101AFI20250919BHJP(基本的電気素子)
要約
【課題】端子から樹脂部が剥がれることを抑制できる半導体装置を提供することである。
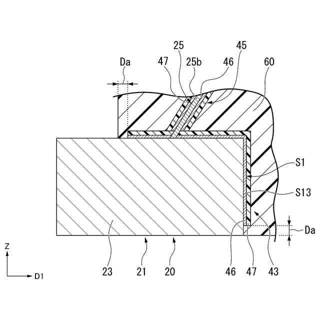
【解決手段】実施形態の半導体装置は、半導体素子を持つ。半導体素子と接続され、表面の少なくとも一部が銅を含む第1表面である端子を持つ。端子の一部、および半導体素子を覆う樹脂部を持つ。第1表面のうち樹脂部に覆われる部分の少なくとも一部には、酸素原子を含む有機膜を有する機能膜が形成される。有機膜は、樹脂部と結合している。
【選択図】図2
特許請求の範囲
【請求項1】
半導体素子と、
前記半導体素子と接続され、表面の少なくとも一部が銅を含む第1表面である端子と、
前記端子の一部、および前記半導体素子を覆う樹脂部と、
を備え、
前記第1表面のうち前記樹脂部に覆われる部分の少なくとも一部には、酸素原子を含む有機膜を有する機能膜が形成され、
前記有機膜は、前記樹脂部と結合している、半導体装置。
続きを表示(約 900 文字)
【請求項2】
前記機能膜は、前記第1表面と前記有機膜との間に酸化銅によって構成される酸化銅膜を有し、
前記酸化銅膜は、前記第1表面と密着している、請求項1に記載の半導体装置。
【請求項3】
前記酸化銅膜の厚さは、1nm以上、15nm以下である、請求項2に記載の半導体装置。
【請求項4】
前記有機膜の厚さは、10nm以上、200nm以下である、請求項2に記載の半導体装置。
【請求項5】
前記有機膜の厚さは、10nm以上、60nm以下である、請求項4に記載の半導体装置。
【請求項6】
前記端子の少なくとも一部は、銅、銅を含有する合金、および表面が銅鍍金された銅以外の金属材料のいずれかによって構成される、請求項1に記載の半導体装置。
【請求項7】
前記端子は、リードフレーム、および前記リードフレームと前記半導体素子とを接続するワイヤを含み、
前記リードフレームの表面、および前記ワイヤの表面それぞれの少なくとも一部は、前記第1表面である、請求項1から6のいずれか一項に記載の半導体装置。
【請求項8】
前記端子は、前記リードフレームの表面に形成される電極部を含み、
前記電極部は、銅を含まない第2表面を有し、
前記第2表面には、前記機能膜が形成されていない、請求項7に記載の半導体装置。
【請求項9】
前記端子は、リードフレーム、および前記リードフレームと前記半導体素子とを接続するワイヤを含み、
前記リードフレームの表面は、前記第1表面であり、
前記ワイヤの表面は、銅を含まない第2表面であり、
前記第2表面には、前記機能膜が形成されていない、請求項1から6のいずれか一項に記載の半導体装置。
【請求項10】
前記リードフレームの表面のうち前記樹脂部の外部に位置する部分には、鍍金層が形成され、
前記機能膜と前記鍍金層との間の距離は、100μm以上である、請求項7に記載の半導体装置。
発明の詳細な説明
【技術分野】
【0001】
本発明の実施形態は、半導体装置に関する。
続きを表示(約 1,700 文字)
【背景技術】
【0002】
リードフレームおよびワイヤ等の端子を封止樹脂によって封止することで、端子が外気と接触することを抑制する半導体装置が提案されている。しかしながら、例えば銅等の金属材料によって端子が構成される場合、端子と封止樹脂との密着性を高めづらく、端子から封止樹脂が剥がれる虞があった。端子から封止樹脂が剥がれて、端子が外気と接触すると、端子が腐食等によって劣化するため、半導体装置の信頼性が低下する虞があった。
【先行技術文献】
【特許文献】
【0003】
特開2015-149370号公報
【発明の概要】
【発明が解決しようとする課題】
【0004】
本発明が解決しようとする課題は、端子から樹脂部が剥がれることを抑制できる半導体装置を提供することである。
【課題を解決するための手段】
【0005】
実施形態の半導体装置は、半導体素子を持つ。半導体素子と接続され、表面の少なくとも一部が銅を含む第1表面である端子を持つ。端子の一部、および半導体素子を覆う樹脂部を持つ。第1表面のうち樹脂部に覆われる部分の少なくとも一部には、酸素原子を含む有機膜を有する機能膜が形成される。有機膜は、樹脂部と結合している。
【図面の簡単な説明】
【0006】
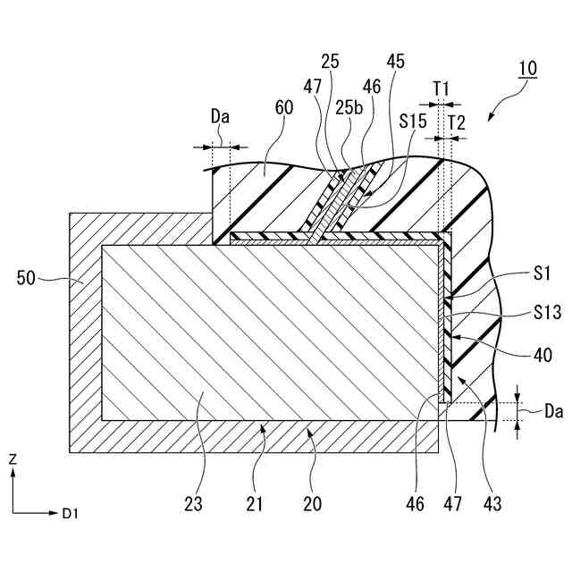
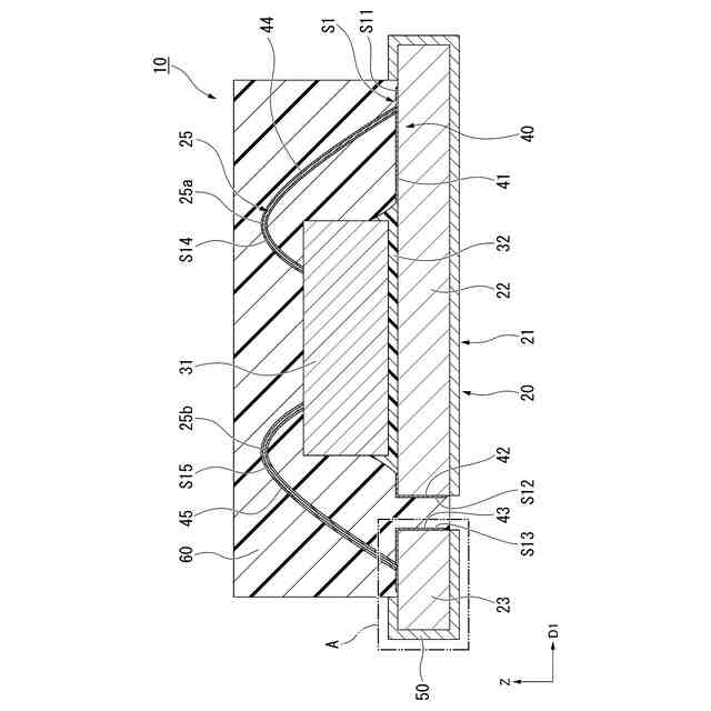
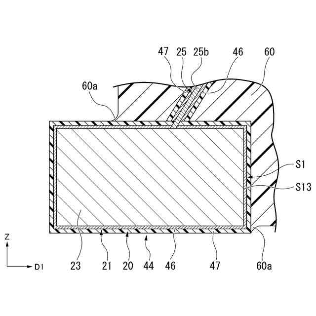
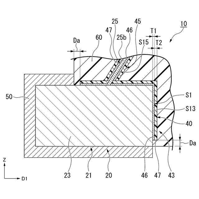
実施形態の半導体装置を示す断面図。
実施形態の半導体装置の一部を示す部分拡大断面図。
実施形態の半導体装置の製造工程を示すフローチャート。
実施形態の半導体装置の製造工程を示す第1の部分拡大断面図。
実施形態の半導体装置の製造工程を示す第2の部分拡大断面図。
実施形態の半導体装置の製造工程を示す第3の部分拡大断面図。
実施形態の第1変形例の半導体装置を示す断面図。
実施形態の第2変形例の半導体装置を示す断面図。
実施形態の第3変形例の半導体装置を示す断面図。
実施形態の第4変形例の半導体装置の一部を示す部分拡大断面図。
実施形態の第5変形例の半導体装置を示す断面図。
実施形態の第6変形例の半導体装置を示す断面図。
【発明を実施するための形態】
【0007】
以下、実施形態の半導体装置を、図面を参照して説明する。
【0008】
各図面に示すZ軸方向は、半導体装置の上下方向である。Z軸方向の矢印が向く側(+Z側)は、半導体装置の上側である。Z軸方向の矢印が向く側と反対側(-Z側)は、半導体装置の下側である。以下の説明では、半導体装置の上側を、単に「上側」と呼び、半導体装置の下側を、単に「下側」と呼び、半導体装置の上下方向を単に「上下方向」呼ぶ。なお、「上側」、「下側」、「上下方向」のそれぞれは、重力方向との関係を示す用語ではない。以下の説明では、半導体装置を構成する各部材および各層等の外面のうち上側を向く面を上面と呼び、下側を向く面を下面と呼ぶ。
【0009】
各図面に示す第1方向D1は、上下方向と直交する方向である。以下の説明では、第1方向D1の矢印が向く側(+D1側)を、第1方向D1の一方側と呼び、第1方向D1の矢印が向く側と反対側(-D1側)を、第1方向D1の他方側と呼ぶ。
【0010】
(実施形態)
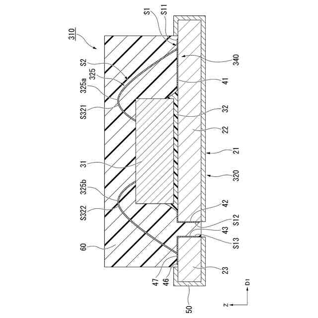
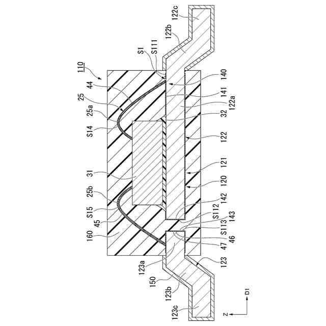
図1は、本実施形態の半導体装置10を示す断面図である。図2は、実施形態の半導体装置10の一部を示す部分拡大断面図である。図2は、半導体装置10のうち図1において一点鎖線で囲むA部を示している。本実施形態の半導体装置10は、例えばMOSFET(metal-oxide-semiconductor field-effect transistor)およびIGBT(Insulated Gate Bipolar Transistor)等の半導体装置である。図1に示すように、本実施形態の半導体装置10は、半導体素子31と、端子20と、樹脂部60と、を備える。
(【0011】以降は省略されています)
この特許をJ-PlatPat(特許庁公式サイト)で参照する
関連特許
日新イオン機器株式会社
イオン源
3日前
株式会社東芝
電子源
3日前
矢崎総業株式会社
電線固定構造
3日前
矢崎総業株式会社
端子付き電線
3日前
AMPコンサルティング合同会社
半導体チップ用均熱ユニット
3日前
日東精工株式会社
二次電池の端子および二次電池の端子の製造方法
3日前
矢崎総業株式会社
端子付き電線の製造方法
3日前
栗田工業株式会社
洗浄水製造装置及び洗浄水製造方法
3日前
株式会社AESCジャパン
電解液および該電解液を含む電池
3日前
株式会社AESCジャパン
電解液および該電解液を含む電池
3日前
株式会社AESCジャパン
電解液およびリチウムイオン電池
3日前
株式会社AESCジャパン
電解液およびリチウムイオン電池
3日前
矢崎総業株式会社
端子付き電線、及び、端子
3日前
株式会社ADEKA
硫黄含有材料の製造方法
今日
株式会社AESCジャパン
バッテリエンドキャップ及びバッテリ
3日前
トヨタ自動車株式会社
電解液およびリチウムイオン電池
3日前
トヨタ自動車株式会社
電極活物質
3日前
ローム株式会社
半導体装置
3日前
ローム株式会社
半導体装置
3日前
株式会社SUMCO
ウェーハの搬送方法及びウェーハの搬送装置
3日前
TDK株式会社
接合構造
3日前
トヨタ自動車株式会社
端部絶縁された電極体の製造方法
3日前
日本圧着端子製造株式会社
基板実装コネクタおよびコネクタ取付構造
3日前
株式会社村田製作所
スイッチ付き同軸コネクタおよびそれを備える同軸コネクタセット
3日前
株式会社ディスコ
被加工物の加工方法、加工装置、及び、ウエーハの製造方法
3日前
株式会社AESCジャパン
電池モジュール
3日前
イブ エナジー カンパニー,リミテッド
リチウム一次電池及びその製造方法
3日前
西江大学校 産学協力団
濃度勾配型二次電池用負極活物質およびその製造方法
3日前
東京エレクトロン株式会社
基板処理装置
3日前
愛三工業株式会社
集電体、集電体を製造するための中間体及び集電体の製造方法
3日前
日本碍子株式会社
半導体製造装置用部材
3日前
川崎重工業株式会社
ロボットシステム
3日前
株式会社AESCジャパン
電池モジュールの製造方法
3日前
株式会社豊田中央研究所
不活性化方法及び不活性化装置
3日前
三星電子株式会社
半導体パッケージ
3日前
川崎重工業株式会社
基板搬送システム及び基板搬送方法
3日前
続きを見る
他の特許を見る