TOP
|
特許
|
意匠
|
商標
特許ウォッチ
Twitter
他の特許を見る
公開番号
2025177916
公報種別
公開特許公報(A)
公開日
2025-12-05
出願番号
2024085074
出願日
2024-05-24
発明の名称
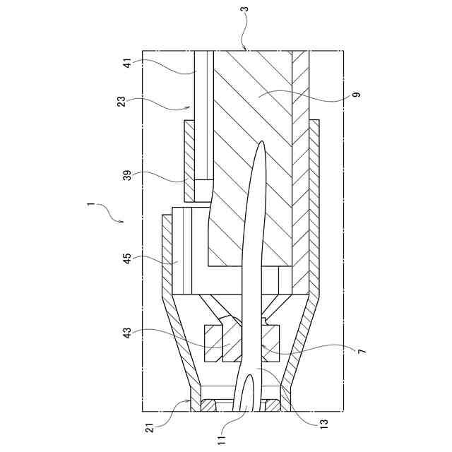
電線固定構造
出願人
矢崎総業株式会社
代理人
個人
,
個人
,
個人
主分類
H01R
13/58 20060101AFI20251128BHJP(基本的電気素子)
要約
【課題】内部電線を安定して保護することができる電線固定構造を提供する。
【解決手段】複数の内部電線7の外周を覆ったシース部9を有する電線3と、電線3の外周に対して、シース部9と、シース部9から露出する内部電線7とに配置される配置部材23とを備えた電線固定構造1において、配置部材23が、シース部9に固定されるシース固定部41と、複数の内部電線7に固定される内部固定部43とを有した。
【選択図】図5
特許請求の範囲
【請求項1】
複数の内部電線の外周を覆ったシース部を有する電線と、
前記電線の外周に対して、前記シース部と、前記シース部から露出する前記内部電線とに配置される配置部材と、
を備え、
前記配置部材は、前記シース部に固定されるシース固定部と、複数の前記内部電線に固定される内部固定部とを有する電線固定構造。
続きを表示(約 180 文字)
【請求項2】
前記シース部から露出する前記内部電線の端末部には、インナ端子が電気的に接続され、
前記インナ端子は、絶縁性材料からなるインナハウジングに収容され、
前記インナハウジングは、アウタ端子に収容され、
前記配置部材は、導電性材料からなり、前記アウタ端子に電気的に接続される端子接続部を有する請求項1に記載の電線固定構造。
発明の詳細な説明
【技術分野】
【0001】
本発明は、電線固定構造に関する。
続きを表示(約 2,000 文字)
【背景技術】
【0002】
従来、電線固定構造としては、複数の内部電線としての通信線の外周を覆ったシース部を有する電線としてのツイストペアケーブルを備えている。また、ツイストペアケーブルの外周に対して、シース部と、シース部から露出する通信線とに配置される配置部材としてのかしめ部材を備えたものが知られている(特許文献1参照)。この電線固定構造では、かしめ部材が、シース部の外周にかしめられるバレル部と、シース部から露出する通信線の周囲に配置される非かしめ部とを有する。かしめ部材は、バレル部をシース部の外周にかしめることによって、ツイストペアケーブルに固定される。かしめ部材の非かしめ部は、通信線の周囲に配置されることにより、シース部から露出する通信線のインピーダンスを所望の範囲に収めている。
【先行技術文献】
【特許文献】
【0003】
特開2021-51846号公報
【発明の概要】
【発明が解決しようとする課題】
【0004】
ところで、複数の内部電線の外周を覆ったシース部を有する電線は、複数の内部電線と、シース部との間の密着力が弱い。このため、電線に引張力が加わったときに、内部電線とシース部とが、それぞれ独立するように引っ張られる。上記特許文献1の電線固定構造では、配置部材が、電線のシース部のみに固定されている。このため、電線に引張力が加わったときに、シース部に追随して配置部材が移動し、シース部から露出する内部電線に対する配置部材の配置位置が変動し、配置部材によって内部電線を安定して保護することができない可能性があった。加えて、配置部材の配置位置が固定されている場合、シース部は、引張力が加わったときに、肉厚を薄くするように伸び易く、肉厚が薄くなることにより、内部電線の保護が不安定になる可能性があった。
【0005】
本発明は、このような従来技術が有する課題に鑑みてなされたものである。そして本発明の目的は、内部電線を安定して保護することができる電線固定構造を提供することにある。
【課題を解決するための手段】
【0006】
本実施形態に係る電線固定構造は、複数の内部電線の外周を覆ったシース部を有する電線と、前記電線の外周に対して、前記シース部と、前記シース部から露出する前記内部電線とに配置される配置部材と、を備え、前記配置部材は、前記シース部に固定されるシース固定部と、複数の前記内部電線に固定される内部固定部とを有する。
【発明の効果】
【0007】
本発明によれば、内部電線を安定して保護することができる電線固定構造を提供することができる。
【図面の簡単な説明】
【0008】
本実施形態に係る電線固定構造の斜視図である。
本実施形態に係る電線固定構造の分解斜視図である。
本実施形態に係る電線固定構造の電線の端末部にアウタ端子を組付けたときの斜視図である。
図3の断面図である。
図4の要部拡大図である。
本実施形態に係る電線固定構造の電線の端末部にインナハウジングを組付けたときの斜視図である。
本実施形態に係る電線固定構造の電線の端末部にインナ端子を組付けたときの斜視図である。
本実施形態に係る電線固定構造の電線の側面図である。
本実施形態に係る電線固定構造の配置部材の斜視図である。
本実施形態に係る電線固定構造の配置部材を展開したときの斜視図である。
本実施形態に係る電線固定構造の配置部材の内部固定部を内部電線に固定したときの断面図である。
本実施形態に係る電線固定構造の配置部材の他例の内部固定部を内部電線に固定したときの断面図である。
本実施形態に係る電線固定構造の配置部材の他例の内部固定部を内部電線に固定したときの断面図である。
【発明を実施するための形態】
【0009】
以下、図面を用いて本実施形態に係る電線固定構造について詳細に説明する。なお、図面の寸法比率は説明の都合上誇張されており、実際の比率と異なる場合がある。
【0010】
図1に示すように、本実施形態に係る電線固定構造1は、例えば、電源と機器、或いは機器と機器などの2つの電気部品(不図示)の間の情報通信を行う高速通信伝送用のコネクタ5に適用される。コネクタ5は、一方の電気部品に電気的に接続された電線3の端末部に設けられている。コネクタ5は、他方の電気部品に電気的に接続された相手コネクタ(不図示)と嵌合可能となっている。コネクタ5は、相手コネクタと嵌合することにより、相手コネクタと電気的に接続され、2つの電気部品の間の情報通信が可能となる。
(【0011】以降は省略されています)
この特許をJ-PlatPat(特許庁公式サイト)で参照する
関連特許
矢崎総業株式会社
端子
8日前
矢崎総業株式会社
端子台
3日前
矢崎総業株式会社
端子台
3日前
矢崎総業株式会社
端子台
3日前
矢崎総業株式会社
端子台
3日前
矢崎総業株式会社
箱状体
1か月前
矢崎総業株式会社
箱状体
1か月前
矢崎総業株式会社
箱状体
1か月前
矢崎総業株式会社
電源回路
16日前
矢崎総業株式会社
給電装置
9日前
矢崎総業株式会社
コネクタ
1か月前
矢崎総業株式会社
コネクタ
16日前
矢崎総業株式会社
コネクタ
8日前
矢崎総業株式会社
コネクタ
8日前
矢崎総業株式会社
コネクタ
2日前
矢崎総業株式会社
コネクタ
2日前
矢崎総業株式会社
接合装置
1日前
矢崎総業株式会社
コネクタ
1か月前
矢崎総業株式会社
コネクタ
1日前
矢崎総業株式会社
コネクタ
16日前
矢崎総業株式会社
接続構造
1か月前
矢崎総業株式会社
コネクタ
17日前
矢崎総業株式会社
コネクタ
1日前
矢崎総業株式会社
コネクタ
1日前
矢崎総業株式会社
コネクタ
9日前
矢崎総業株式会社
電流センサ
2日前
矢崎総業株式会社
電気接続箱
3日前
矢崎総業株式会社
スイッチ装置
29日前
矢崎総業株式会社
バスバー電線
9日前
矢崎総業株式会社
通信ケーブル
29日前
矢崎総業株式会社
スイッチ装置
29日前
矢崎総業株式会社
スイッチ装置
29日前
矢崎総業株式会社
車両用室内灯
29日前
矢崎総業株式会社
照明ユニット
10日前
矢崎総業株式会社
連結コネクタ
16日前
矢崎総業株式会社
バスバー電線
9日前
続きを見る
他の特許を見る