TOP
|
特許
|
意匠
|
商標
特許ウォッチ
Twitter
他の特許を見る
公開番号
2025170835
公報種別
公開特許公報(A)
公開日
2025-11-20
出願番号
2024075611
出願日
2024-05-08
発明の名称
連結コネクタ
出願人
矢崎総業株式会社
代理人
弁理士法人虎ノ門知的財産事務所
主分類
H01R
13/518 20060101AFI20251113BHJP(基本的電気素子)
要約
【課題】体格の小型化を図ること。
【解決手段】端子金具を収容させる端子収容室12が形成され、かつ、コネクタ嵌合方向に直交する配列方向に並べられた複数のハウジング10と、配列方向に並べた複数のハウジング10を配列方向とコネクタ嵌合方向とに対する直交方向で挟み込む一対の挟持部材20と、を備え、ハウジング10には、一方の挟持部材20を嵌合接続させる第1嵌合部13と、他方の挟持部材20を嵌合接続させる第2嵌合部14と、を設け、一方の挟持部材20には、配列方向に並べた複数のハウジング10毎に形成され、かつ、第1嵌合部13が嵌合接続される第1被嵌合部21Aを設け、他方の挟持部材20には、配列方向に並べた複数のハウジング10毎に形成され、かつ、第2嵌合部14が嵌合接続される第2被嵌合部21Bを設けること。
【選択図】図3
特許請求の範囲
【請求項1】
端子金具を収容させる端子収容室が形成され、かつ、コネクタ嵌合方向に直交する配列方向に並べられた複数のハウジングと、
前記配列方向に並べた複数の前記ハウジングを前記配列方向と前記コネクタ嵌合方向とに対する直交方向で挟み込む一対の挟持部材と、
を備え、
前記ハウジングには、一方の前記挟持部材を嵌合接続させる第1嵌合部と、他方の前記挟持部材を嵌合接続させる第2嵌合部と、を設け、
一方の前記挟持部材には、前記配列方向に並べた複数の前記ハウジング毎に形成され、かつ、前記第1嵌合部が嵌合接続される第1被嵌合部を設け、
他方の前記挟持部材には、前記配列方向に並べた複数の前記ハウジング毎に形成され、かつ、前記第2嵌合部が嵌合接続される第2被嵌合部を設けることを特徴とした連結コネクタ。
続きを表示(約 790 文字)
【請求項2】
前記ハウジングは、複数の前記第1嵌合部と複数の前記第2嵌合部を有することを特徴とした請求項1に記載の連結コネクタ。
【請求項3】
前記挟持部材は、前記配列方向に並べた複数の前記ハウジングに一方の平面を対向配置させ且つ嵌合接続させる平板状の主体部を有することを特徴とした請求項1に記載の連結コネクタ。
【請求項4】
相手方コネクタにコネクタ嵌合させる際の嵌合補助力を一対の前記挟持部材に作用させるレバー部材を備え、
前記レバー部材は、一方の前記挟持部材に前記嵌合補助力を作用させる第1アーム部と、他方の前記挟持部材に前記嵌合補助力を作用させる第2アーム部と、を有し、
一方の前記挟持部材の他方の平面には、平行に配置された第1回転軸と第1ガイド軸とを設け、
他方の前記挟持部材の他方の平面には、前記第1回転軸と同軸上に配置された第2回転軸と、前記第1ガイド軸と同軸上に配置された第2ガイド軸と、を設け、
前記第1アーム部には、前記第1回転軸の軸受部と、前記第1回転軸の軸周りに沿った自身の回転軌跡を規制するべく前記第1ガイド軸を案内する第1ガイド部と、を設け、
前記第2アーム部には、前記第2回転軸の軸受部と、前記第2回転軸の軸周りに沿った自身の回転軌跡を規制するべく前記第2ガイド軸を案内する第2ガイド部と、を設けることを特徴とした請求項3に記載の連結コネクタ。
【請求項5】
複数の前記ハウジングは、その全てが同一部品である又は前記端子収容室の異なる異形状部品が含まれることを特徴とした請求項1から4の内の何れか1つに記載の連結コネクタ。
【請求項6】
一対の前記挟持部材は、同一部品であることを特徴とした請求項1から4の内の何れか1つに記載の連結コネクタ。
発明の詳細な説明
【技術分野】
【0001】
本発明は、連結コネクタに関する。
続きを表示(約 1,600 文字)
【背景技術】
【0002】
連結コネクタとは、複数のハウジングを連結させることによって1つのコネクタ部品として形作られたものである。例えば、隣り合う2つの連結対象のハウジングにおいては、端子収容室等が形成されたハウジング本体のそれぞれの接合面に、この接合面から突出させた凸部と、この接合面を凹ませた凹部と、が設けられている。連結コネクタにおいては、一方のハウジングの凸部を他方のハウジングの凹部にスライド嵌合させ、かつ、他方のハウジングの凸部を一方のハウジングの凹部にスライド嵌合させることによって、この隣り合う2つのハウジング同士を連結させる。この種の連結コネクタについては、例えば、下記の特許文献1に開示されている。
【先行技術文献】
【特許文献】
【0003】
特開2018-81847号公報
【発明の概要】
【発明が解決しようとする課題】
【0004】
ところで、従来の連結コネクタにおいては、端子収容室等のハウジング本体の内部構造に影響を与えることなく、このハウジング本体に凹部と凸部を配置しなければならず、その凹部と凸部の配置場所を確保するために、ハウジング本体を連結対象の相手方のハウジング側に拡張している。よって、従来の連結コネクタは、その体格が複数のハウジングの配列方向に大きくなってしまう。
【0005】
そこで、本発明は、複数のハウジングの配列方向でその体格の小型化を図り得る連結コネクタを提供することを、その目的とする。
【課題を解決するための手段】
【0006】
本発明は、端子金具を収容させる端子収容室が形成され、かつ、コネクタ嵌合方向に直交する配列方向に並べられた複数のハウジングと、前記配列方向に並べた複数の前記ハウジングを前記配列方向と前記コネクタ嵌合方向とに対する直交方向で挟み込む一対の挟持部材と、を備え、前記ハウジングには、一方の前記挟持部材を嵌合接続させる第1嵌合部と、他方の前記挟持部材を嵌合接続させる第2嵌合部と、を設け、一方の前記挟持部材には、前記配列方向に並べた複数の前記ハウジング毎に形成され、かつ、前記第1嵌合部が嵌合接続される第1被嵌合部を設け、他方の前記挟持部材には、前記配列方向に並べた複数の前記ハウジング毎に形成され、かつ、前記第2嵌合部が嵌合接続される第2被嵌合部を設けることを特徴とする。
【発明の効果】
【0007】
本発明に係る連結コネクタは、このような複数のハウジングを配列方向とコネクタ嵌合方向とに直交する方向で一対の挟持部材によって挟み込む連結保持構造を採っており、複数のハウジングの連結を維持するための連結保持構造を従来のように配列方向に設けていない。従って、本発明に係る連結コネクタは、その複数のハウジングの配列方向に見ると、従来のものよりも体格の小型化を図ることができる。
【図面の簡単な説明】
【0008】
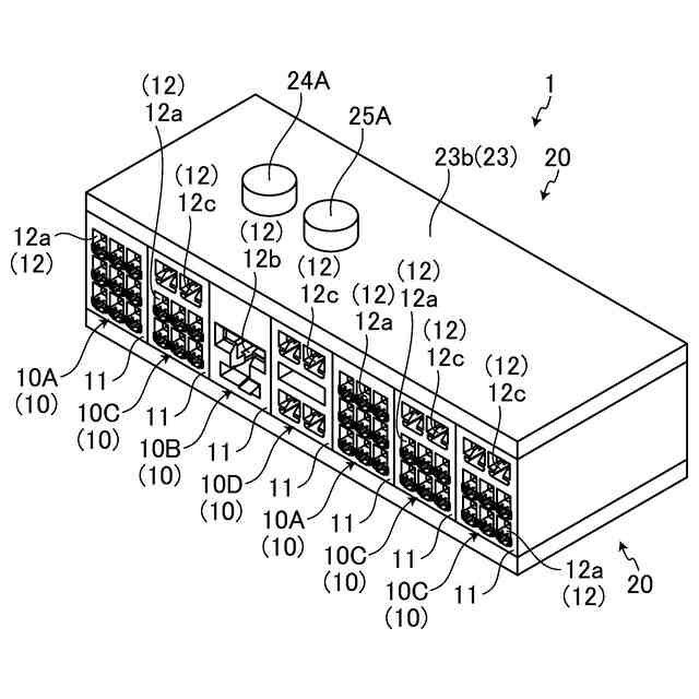
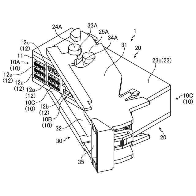
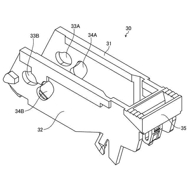
図1は、実施形態の連結コネクタを示す斜視図である。
図2は、連結コネクタ(レバー部材を除く)を示す斜視図である。
図3は、連結コネクタ(レバー部材を除く)を示す分解斜視図である。
図4は、連結コネクタ(レバー部材を除く)を別角度から見た分解斜視図である。
図5は、連結対象のハウジングについて示す分解斜視図である。
図6は、レバー部材を示す斜視図である。
【発明を実施するための形態】
【0009】
以下に、本発明に係る連結コネクタの実施形態を図面に基づいて詳細に説明する。尚、この実施形態によりこの発明が限定されるものではない。
【0010】
[実施形態]
本発明に係る連結コネクタの実施形態の1つを図1から図6に基づいて説明する。
(【0011】以降は省略されています)
この特許をJ-PlatPat(特許庁公式サイト)で参照する
関連特許
矢崎総業株式会社
端子
24日前
矢崎総業株式会社
箱状体
17日前
矢崎総業株式会社
箱状体
17日前
矢崎総業株式会社
箱状体
17日前
矢崎総業株式会社
箱状体
1か月前
矢崎総業株式会社
箱状体
1か月前
矢崎総業株式会社
照明灯
2か月前
矢崎総業株式会社
コネクタ
1か月前
矢崎総業株式会社
照明装置
25日前
矢崎総業株式会社
照明装置
25日前
矢崎総業株式会社
コネクタ
1か月前
矢崎総業株式会社
コネクタ
1か月前
矢崎総業株式会社
照明構造
1か月前
矢崎総業株式会社
コネクタ
1か月前
矢崎総業株式会社
接続構造
17日前
矢崎総業株式会社
コネクタ
1か月前
矢崎総業株式会社
止水部材
1か月前
矢崎総業株式会社
電源回路
1日前
矢崎総業株式会社
照明装置
1か月前
矢崎総業株式会社
コネクタ
1か月前
矢崎総業株式会社
報知装置
1か月前
矢崎総業株式会社
コネクタ
1か月前
矢崎総業株式会社
コネクタ
1か月前
矢崎総業株式会社
コネクタ
1か月前
矢崎総業株式会社
コネクタ
1か月前
矢崎総業株式会社
バスバー
1か月前
矢崎総業株式会社
コネクタ
1か月前
矢崎総業株式会社
コネクタ
1日前
矢崎総業株式会社
コネクタ
1か月前
矢崎総業株式会社
コネクタ
1か月前
矢崎総業株式会社
コネクタ
1か月前
矢崎総業株式会社
照明装置
24日前
矢崎総業株式会社
コネクタ
16日前
矢崎総業株式会社
コネクタ
2日前
矢崎総業株式会社
コネクタ
2か月前
矢崎総業株式会社
コネクタ
2か月前
続きを見る
他の特許を見る