TOP
|
特許
|
意匠
|
商標
特許ウォッチ
Twitter
他の特許を見る
公開番号
2025139129
公報種別
公開特許公報(A)
公開日
2025-09-26
出願番号
2024037904
出願日
2024-03-12
発明の名称
コネクタ
出願人
矢崎総業株式会社
代理人
個人
,
個人
主分類
H01R
13/42 20060101AFI20250918BHJP(基本的電気素子)
要約
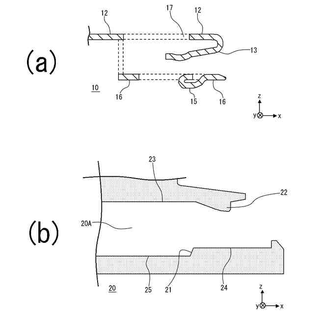
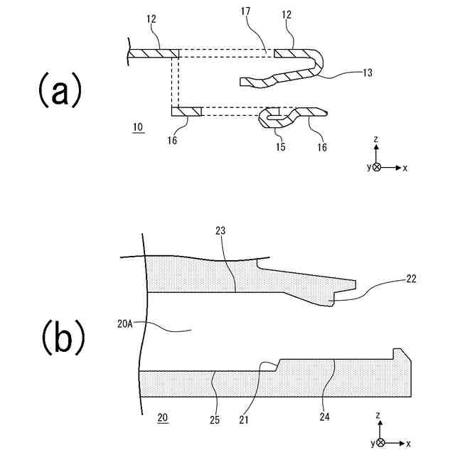
【課題】コネクタハウジングに対して端子金具が確実に固定されるコネクタを得る。
【解決手段】端子金具10において、第2のバネ15は、端子金具下面16よりも下側に突出した形態とされる。ハウジング20(端子金具収容部20A)の下側においては、端子金具10の装着時に端子金具下面16と当接する収容部第1下面24が形成される。収容部第1下面24よりもx方向負側には、収容部第1下面24よりも低い収容部第2下面25が形成される。これによって、収容部第1下面24と収容部第2下面25の境界には、段差部21が形成される。段差部21は、端子金具10の装着時に第2のバネ15を上側に向けて曲げるように機能する。
【選択図】図4
特許請求の範囲
【請求項1】
金属材料で構成された端子金具が樹脂材料で構成されたコネクタハウジング中に装着された構成を具備するコネクタであって、
前記端子金具は、前記コネクタハウジングに設けられた端子金具収容部内に、第1の方向における一方の側から他方の側に向けて装着されるように構成され、
前記端子金具における前記第1の方向と交差する第2の方向における一方の側には、当該一方の側で前記第2の方向と交差する面である端子金具下面よりも当該一方の側に突出する板バネである固定用バネ部が設けられ、
前記コネクタハウジングにおいて、前記端子金具収容部内の前記第2の方向における前記一方の側には、前記端子金具の装着時において前記端子金具下面と当接するように設けられた前記第2の方向と交差する端子金具固定面と、当該端子金具固定面の前記第1の方向における前記一方の側で前記第2の方向における前記一方の側に向かうように前記第2の方向に沿って設けられた段差部と、が設けられ、
前記端子金具を前記端子金具収容部内で前記第1の方向における前記一方の側から前記他方の側に移動させた際に、前記段差部が前記固定用バネ部と係合して前記固定用バネ部を前記第2の方向における前記他方の側に向けて屈曲させるように構成されたことを特徴とするコネクタ。
続きを表示(約 1,000 文字)
【請求項2】
前記固定用バネ部は、前記端子金具下面が前記第1の方向における前記一方の側で切断され、前記第1の方向における前記他方の側を支点として曲げ加工されて構成されたことを特徴とする請求項1に記載のコネクタ。
【請求項3】
前記固定用バネ部は、前記第1の方向における前記他方の側で前記第2の方向における前記一方の側に向けて屈曲し、前記第1の方向における前記一方の側で前記第2の方向における前記他方の側に向けて屈曲した形状を具備することを特徴とする請求項2に記載のコネクタ。
【請求項4】
前記端子金具は、前記第2の方向における前記他方の側で前記第2の方向と交差する面である端子金具上面から前記第2の方向における前記一方の側に突出した板バネである連結用バネ部を具備し、
他のコネクタが前記第1の方向における前記他方の側から前記一方の側に向けて連結される際に、前記他のコネクタにおける端子が、前記連結用バネ部と前記固定用バネ部の間で挟持される構成とされたことを特徴とする請求項3に記載のコネクタ。
【請求項5】
前記端子金具を前記端子金具収容部内で前記第1の方向における前記一方の側から前記他方の側に移動させたことによって前記固定用バネ部を前記第2の方向における前記他方の側に向けて屈曲させた状態で前記固定用バネ部と前記端子金具固定面とが当接した状態で、前記端子金具に係止されることによって前記第1の方向における前記一方の側への前記端子金具の移動を制限するランスが、前記コネクタハウジングにおける前記端子金具収容部内に設けられたことを特徴とする請求項1又は2に記載のコネクタ。
【請求項6】
前記端子金具における前記第1の方向における前記一方の側において、前記端子金具に接続される配線を固定する配線固定部が設けられ、
前記端子金具を前記端子金具収容部内で前記第1の方向における前記一方の側から前記他方の側に移動させた際に、前記第2の方向からみて、
前記ランスが前記端子金具に係止される前の状態では、前記配線固定部は前記端子金具収容部の外に位置し、
前記ランスが前記端子金具に係止された状態では、前記配線固定部は前記端子金具収容部の中に位置するように構成されたことを特徴とする請求項5に記載のコネクタ。
発明の詳細な説明
【技術分野】
【0001】
本発明は、コネクタハウジング内に端子が嵌装された構成を具備するコネクタの構造に関する。
続きを表示(約 2,700 文字)
【背景技術】
【0002】
自動車等においては、多数の配線(ケーブル線)が多数の電気部品に接続されて用いられる際に、複数の配線の端子同士を接続して固定するために多数のコネクタが用いられている。このようなコネクタにおいては、各端子が確実に固定されること、各端子が固定された状態のコネクタを、他のコネクタと接続して配線を確実に連結できること、が要求される。
【0003】
このようなコネクタとしては、オスコネクタとメスコネクタがあり、これらが嵌合して連結されることによって、オスコネクタ側の配線とメスコネクタ側の配線とが接続される。また、どちらのコネクタも樹脂材料製のコネクタハウジング中に配線が接続された(あるいは配線の一部となる)金属製の端子金具が固定されて構成される。この際、端子金具は、コネクタハウジングに対して嵌入されることによって固定され、固定後に脱落することがないように、コネクタハウジング側に形成された抜け止めのためのランスに係止される。
【0004】
この場合、後でこのコネクタ(オスコネクタ又はメスコネクタ)を連結する際には、コネクタハウジングに対して端子金具が確実に固定されていることが要求される。このためには、前記のランスによる抜け止めだけでは不十分であり、端子金具がコネクタハウジングに対して適正な位置に固定された上で、ランスによって係止されることが必要である。このため、端子金具の固定が不十分である状態(半固定状態)であることが防止される、あるいはこれを認識しやすい構造が採用される。
【0005】
特許文献1には、コネクタハウジングとは別体として製造されたリテーナが用いられ、コネクタハウジングとリテーナとが組み合わされた状態で端子金具が前記のように装着される構造が記載されている。この構造では、端子金具が半固定状態ではリテーナがコネクタハウジングに固定されないため、作業者は半固定状態であることを容易に認識することができる。これによって、端子金具が半固定状態となることが防止される。
【先行技術文献】
【特許文献】
【0006】
特開2012-252875号公報
【発明の開示】
【発明が解決しようとする課題】
【0007】
特許文献1に記載の技術において、半固定状態を適正に認識できるか否かは、新たな部品であるリテーナとコネクタハウジングの係合の状態に依存する。このため、例えばリテーナとコネクタハウジングとの間にガタがある場合には、これを適正に認識することができない場合あった。このため、コネクタハウジングに対して端子金具がより確実に固定される構造が望まれた。
【0008】
本発明は、このような状況に鑑みなされたもので、上記課題を解決することを目的とする。
【課題を解決するための手段】
【0009】
本発明は、金属材料で構成された端子金具が樹脂材料で構成されたコネクタハウジング中に装着された構成を具備するコネクタであって、前記端子金具は、前記コネクタハウジングに設けられた端子金具収容部内に、第1の方向における一方の側から他方の側に向けて装着されるように構成され、前記端子金具における前記第1の方向と交差する第2の方向における一方の側には、当該一方の側で前記第2の方向と交差する面である端子金具下面よりも当該一方の側に突出する板バネである固定用バネ部が設けられ、前記コネクタハウジングにおいて、前記端子金具収容部内の前記第2の方向における前記一方の側には、前記端子金具の装着時において前記端子金具下面と当接するように設けられた前記第2の方向と交差する端子金具固定面と、当該端子金具固定面の前記第1の方向における前記一方の側で前記第2の方向における前記一方の側に向かうように前記第2の方向に沿って設けられた段差部と、が設けられ、前記端子金具を前記端子金具収容部内で前記第1の方向における前記一方の側から前記他方の側に移動させた際に、前記段差部が前記固定用バネ部と係合して前記固定用バネ部を前記第2の方向における前記他方の側に向けて屈曲させるように構成されている。
前記固定用バネ部は、前記端子金具下面が前記第1の方向における前記一方の側で切断され、前記第1の方向における前記他方の側を支点として曲げ加工されて構成されていてもよい。
前記固定用バネ部は、前記第1の方向における前記他方の側で前記第2の方向における前記一方の側に向けて屈曲し、前記第1の方向における前記一方の側で前記第2の方向における前記他方の側に向けて屈曲した形状を具備してもよい。
前記端子金具は、前記第2の方向における前記他方の側で前記第2の方向と交差する面である端子金具上面から前記第2の方向における前記一方の側に突出した板バネである連結用バネ部を具備し、他のコネクタが前記第1の方向における前記他方の側から前記一方の側に向けて連結される際に、前記他のコネクタにおける端子が、前記連結用バネ部と前記固定用バネ部の間で挟持される構成とされていてもよい。
前記端子金具を前記端子金具収容部内で前記第1の方向における前記一方の側から前記他方の側に移動させたことによって前記固定用バネ部を前記第2の方向における前記他方の側に向けて屈曲させた状態で前記固定用バネ部と前記端子金具固定面とが当接した状態で、前記端子金具に係止されることによって前記第1の方向における前記一方の側への前記端子金具の移動を制限するランスが、前記コネクタハウジングにおける前記端子金具収容部内に設けられていてもよい。
前記端子金具における前記第1の方向における前記一方の側において、前記端子金具に接続される配線を固定する配線固定部が設けられ、前記端子金具を前記端子金具収容部内で前記第1の方向における前記一方の側から前記他方の側に移動させた際に、前記第2の方向からみて、前記ランスが前記端子金具に係止される前の状態では、前記配線固定部は前記端子金具収容部の外に位置し、前記ランスが前記端子金具に係止された状態では、前記配線固定部は前記端子金具収容部の中に位置するように構成されていてもよい。
【発明の効果】
【0010】
本発明は以上のように構成されているので、コネクタハウジングに対して端子金具がより確実に固定されるコネクタを得ることができる。
【図面の簡単な説明】
(【0011】以降は省略されています)
この特許をJ-PlatPat(特許庁公式サイト)で参照する
関連特許
矢崎総業株式会社
端子
12日前
矢崎総業株式会社
端子台
今日
矢崎総業株式会社
端子台
7日前
矢崎総業株式会社
端子台
7日前
矢崎総業株式会社
端子台
7日前
矢崎総業株式会社
端子台
7日前
矢崎総業株式会社
端子台
今日
矢崎総業株式会社
端子台
今日
矢崎総業株式会社
端子台
今日
矢崎総業株式会社
電源回路
20日前
矢崎総業株式会社
接合装置
5日前
矢崎総業株式会社
コネクタ
12日前
矢崎総業株式会社
給電装置
13日前
矢崎総業株式会社
コネクタ
5日前
矢崎総業株式会社
コネクタ
12日前
矢崎総業株式会社
コネクタ
5日前
矢崎総業株式会社
コネクタ
5日前
矢崎総業株式会社
コネクタ
13日前
矢崎総業株式会社
コネクタ
6日前
矢崎総業株式会社
コネクタ
20日前
矢崎総業株式会社
コネクタ
6日前
矢崎総業株式会社
バスバー
1日前
矢崎総業株式会社
コネクタ
20日前
矢崎総業株式会社
コネクタ
今日
矢崎総業株式会社
コネクタ
21日前
矢崎総業株式会社
電気接続箱
7日前
矢崎総業株式会社
光ケーブル
1日前
矢崎総業株式会社
電流センサ
6日前
矢崎総業株式会社
端子防水構造
6日前
矢崎総業株式会社
端子防水構造
6日前
矢崎総業株式会社
照明ユニット
14日前
矢崎総業株式会社
バスバー電線
13日前
矢崎総業株式会社
コネクタ構造
5日前
矢崎総業株式会社
抵抗溶接装置
5日前
矢崎総業株式会社
抵抗溶接装置
5日前
矢崎総業株式会社
端子付き電線
5日前
続きを見る
他の特許を見る