TOP
|
特許
|
意匠
|
商標
特許ウォッチ
Twitter
他の特許を見る
公開番号
2025176968
公報種別
公開特許公報(A)
公開日
2025-12-05
出願番号
2024083405
出願日
2024-05-22
発明の名称
コネクタ構造
出願人
矢崎総業株式会社
代理人
弁理士法人栄光事務所
主分類
H01R
13/6581 20110101AFI20251128BHJP(基本的電気素子)
要約
【課題】生産性に優れたコネクタ構造を提供すること。
【解決手段】コネクタ構造8は、コネクタ1と、コネクタ1が嵌合される嵌合対象90と、を備える。コネクタ1は、導体芯線2aと導体芯線2aを覆うシールド材2cとを有する電線2と、導体芯線2aに電気的に接続される通電用端子6と、シールド材2cに電気的に接続されるグラウンド用端子120と、通電用端子6が収容されるハウジング10と、ハウジング10に装着され且つグラウンド用端子120に電気的に接続される導電性の外装部材80と、を有する。嵌合対象90は、嵌合対象90にコネクタ1が嵌合されたときにグラウンド用端子120に電気的に接続される導電性のグラウンド部材94を有し、外装部材80とグラウンド部材94とは、グラウンド用端子120を取り囲むように配置される。
【選択図】図7
特許請求の範囲
【請求項1】
コネクタと、前記コネクタが嵌合される嵌合対象と、を備えるコネクタ構造であって、
前記コネクタは、
導体芯線と前記導体芯線を覆うシールド材とを有する電線と、前記導体芯線に電気的に接続される通電用端子と、前記シールド材に電気的に接続されるグラウンド用端子と、前記通電用端子が収容されるハウジングと、前記ハウジングに装着され且つ前記グラウンド用端子に電気的に接続される導電性の外装部材と、を有し、
前記嵌合対象は、
当該嵌合対象に前記コネクタが嵌合されたときに前記グラウンド用端子に電気的に接続される導電性のグラウンド部材を有し、
前記外装部材と前記グラウンド部材とは、
前記グラウンド用端子を取り囲むように配置される、
コネクタ構造。
続きを表示(約 200 文字)
【請求項2】
請求項1に記載のコネクタ構造において、
前記外装部材及び前記グラウンド部材の少なくとも一方は、
前記グラウンド用端子に向けて突出して前記グラウンド用端子に接触する突起部を有する、
コネクタ構造。
【請求項3】
請求項1に記載のコネクタ構造において、
前記外装部材と前記グラウンド部材とは電気的に接続される、
コネクタ構造。
発明の詳細な説明
【技術分野】
【0001】
本発明は、コネクタと、コネクタが嵌合される嵌合対象と、を備えるコネクタ構造に関する。
続きを表示(約 1,500 文字)
【背景技術】
【0002】
従来から、ハウジングに収容された板状端子と、その板状端子に接続される電線と、ハウジングの外部に取り付けられる金属製のシールドシェルと、を備えたシールドコネクタが提案されている(例えば、特許文献1を参照。)。
【先行技術文献】
【特許文献】
【0003】
特開2023-005221号公報
【発明の概要】
【発明が解決しようとする課題】
【0004】
上述した種類のシールドコネクタは、一般に、多数の構成部品を組み付けて製造され且つ組付工程が複雑である等の理由から、生産性を高めることが難しい。シールドコネクタに限らず、複数の構成部品を有するコネクタにおいて、同様に、生産性の点で改善の余地がある。
【0005】
本発明の目的の一つは、生産性に優れたコネクタ構造の提供である。
【課題を解決するための手段】
【0006】
前述した目的を達成するために、本発明に係るコネクタ構造は、下記を特徴としている。
【0007】
コネクタと、前記コネクタが嵌合される嵌合対象と、を備えるコネクタ構造であって、
前記コネクタは、
導体芯線と前記導体芯線を覆うシールド材とを有する電線と、前記導体芯線に電気的に接続される通電用端子と、前記シールド材に電気的に接続されるグラウンド用端子と、前記通電用端子が収容されるハウジングと、前記ハウジングに装着され且つ前記グラウンド用端子に電気的に接続される導電性の外装部材と、を有し、
前記嵌合対象は、
当該嵌合対象に前記コネクタが嵌合されたときに前記グラウンド用端子に電気的に接続される導電性のグラウンド部材を有し、
前記外装部材と前記グラウンド部材とは、
前記グラウンド用端子を取り囲むように配置される、
コネクタ構造であること。
【発明の効果】
【0008】
本発明のコネクタ構造によれば、コネクタが嵌合対象に嵌合されたとき、ハウジングに装着される導電性の外装部材(いわゆるシールドシェル)と、嵌合対象が有する導電性のグラウンド部材と、が電線のシールド材(例えば、編組導体)に電気的に接続されるグラウンド用端子(いわゆるシールド端子)を取り囲むように配置されるとともに、グラウンド用端子に電気的に接続される。これにより、外装部材とグラウンド部材とでグラウンド用端子を取り囲むことでシールド機能を高めながら、コネクタに専用のグラウンド部材を設ける場合に比べてコネクタの構成部品を少なくすることができる。したがって、本発明のコネクタ構造は、生産性に優れている。
【0009】
以上、本発明について簡潔に説明した。更に、以下に説明される発明を実施するための形態を添付の図面を参照して通読することにより、本発明の詳細は更に明確化されるであろう。
【図面の簡単な説明】
【0010】
図1は、本発明の実施形態に係るコネクタ構造を示す斜視図である。
図2は、図1に示すコネクタ構造の分解斜視図である。
図3は、図2のA部の拡大図である。
図4は、図2に示すシールドシェルを後方からみた斜視図である。
図5は、図2に示すハウジングに収容された状態にある電線及び電線に関連する部品のみを抜き出して示す正面図である。
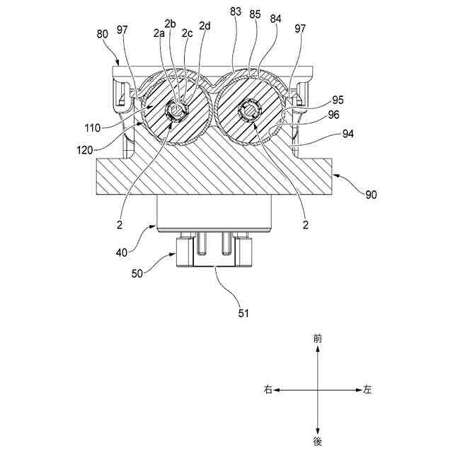
図6は、図1に示すコネクタ構造の正面図である。
図7は、図6のB-B断面図である。
【発明を実施するための形態】
(【0011】以降は省略されています)
この特許をJ-PlatPat(特許庁公式サイト)で参照する
関連特許
矢崎総業株式会社
端子
1か月前
矢崎総業株式会社
端子
10日前
矢崎総業株式会社
端子台
5日前
矢崎総業株式会社
箱状体
1か月前
矢崎総業株式会社
端子台
5日前
矢崎総業株式会社
端子台
5日前
矢崎総業株式会社
端子台
5日前
矢崎総業株式会社
箱状体
2か月前
矢崎総業株式会社
箱状体
2か月前
矢崎総業株式会社
箱状体
1か月前
矢崎総業株式会社
箱状体
1か月前
矢崎総業株式会社
照明装置
1か月前
矢崎総業株式会社
照明装置
1か月前
矢崎総業株式会社
接続構造
1か月前
矢崎総業株式会社
コネクタ
10日前
矢崎総業株式会社
コネクタ
4日前
矢崎総業株式会社
コネクタ
10日前
矢崎総業株式会社
コネクタ
1か月前
矢崎総業株式会社
コネクタ
1か月前
矢崎総業株式会社
給電装置
11日前
矢崎総業株式会社
コネクタ
19日前
矢崎総業株式会社
コネクタ
18日前
矢崎総業株式会社
コネクタ
11日前
矢崎総業株式会社
コネクタ
18日前
矢崎総業株式会社
照明装置
1か月前
矢崎総業株式会社
コネクタ
2か月前
矢崎総業株式会社
コネクタ
4日前
矢崎総業株式会社
接合装置
3日前
矢崎総業株式会社
コネクタ
2か月前
矢崎総業株式会社
コネクタ
3日前
矢崎総業株式会社
コネクタ
3日前
矢崎総業株式会社
コネクタ
3日前
矢崎総業株式会社
コネクタ
1か月前
矢崎総業株式会社
コネクタ
1か月前
矢崎総業株式会社
バスバー
1か月前
矢崎総業株式会社
コネクタ
2か月前
続きを見る
他の特許を見る