TOP
|
特許
|
意匠
|
商標
特許ウォッチ
Twitter
他の特許を見る
公開番号
2025179373
公報種別
公開特許公報(A)
公開日
2025-12-10
出願番号
2024086084
出願日
2024-05-28
発明の名称
端子台
出願人
矢崎総業株式会社
代理人
弁理士法人虎ノ門知的財産事務所
主分類
H01R
9/00 20060101AFI20251203BHJP(基本的電気素子)
要約
【課題】ハウジングを取付対象物へ適切に取り付けることができる端子台を提供する。
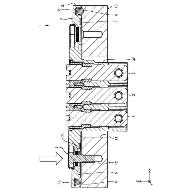
【解決手段】端子台1は、端子2を保持するハウジング3と、少なくとも二つ設けられハウジング3を取付対象物10に締結する締結部材4と、締結部材4を囲うように設けられハウジング3と取付対象物10との間を止水する第一止水部材5と、端子2を囲うように環状に形成されハウジング3と取付対象物10との間を止水する第二止水部材6と、を備え、締結部材4は、端子2を挟んだ位置にそれぞれ設けられ、第二止水部材6は、端子2、締結部材4及び第一止水部材5を囲うように設けられるに構成されている。
【選択図】図2
特許請求の範囲
【請求項1】
端子を保持するハウジングと、
少なくとも二つ設けられ、前記ハウジングを取付対象物に締結する締結部材と、
前記締結部材を囲うように設けられ、前記ハウジングと前記取付対象物との間を止水する第一止水部材と、
前記端子を囲うように環状に形成され、前記ハウジングと前記取付対象物との間を止水する第二止水部材と、を備え、
前記締結部材は、前記端子を挟んだ位置にそれぞれ設けられ、
前記第二止水部材は、前記端子、前記締結部材及び前記第一止水部材を囲うように設けられている、
端子台。
発明の詳細な説明
【技術分野】
【0001】
本発明は、端子台に関する。
続きを表示(約 1,700 文字)
【背景技術】
【0002】
従来、端子台として、例えば、特許文献1に記載されるように、ハウジング(本体)で端子を保持し、端子を挟むように二つの締結部を設け、弾性部材によりハウジングと取付対象物(取付部)の間の止水を行うものが知られている。この端子台は、二つの締結部により、ハウジングを取付対象物に取り付けて用いられる。
【先行技術文献】
【特許文献】
【0003】
特開2023-102063号公報
【発明の概要】
【発明が解決しようとする課題】
【0004】
このような端子台にあっては、ハウジングを取付対象物へ適切に取り付けられない場合がある点で改善の余地がある。例えば、上述した端子台において、ハウジングを取付対象物へ二つ締結部により取り付ける場合、まず一方の締結部の締結を行い、次いで他方の締結部の締結を行ってハウジングを取付対象物へ取り付けることとなる。この場合、先に一方の締結部を締結すると、他方の締結部の箇所において取付対象物とハウジングの間に大きく隙間ができるおそれがある。すなわち、一方の締結部と他方の締結部の間に止水用の弾性部材があるため、一方の締結部を強く締結すると、弾性部材を支点として他方の締結部におけるハウジングが取付対象物から離れてしまう。このため、ハウジングを取付対象物と平行に取り付けるためには、他方の締結部をかなり強く締結する必要があり、ハウジングを取付対象物へ適切に取り付けることが困難となる。
【0005】
そこで、本発明は、ハウジングを取付対象物へ適切に取り付けることができる端子台を提供することを目的とする。
【課題を解決するための手段】
【0006】
すなわち、本発明に係る端子台は、端子を保持するハウジングと、少なくとも二つ設けられ、前記ハウジングを取付対象物に締結する締結部材と、前記締結部材を囲うように設けられ、前記ハウジングと前記取付対象物との間を止水する第一止水部材と、前記端子を囲うように環状に形成され、前記ハウジングと前記取付対象物との間を止水する第二止水部材と、を備え、前記締結部材は、前記端子を挟んだ位置にそれぞれ設けられ、前記第二止水部材は、前記端子、前記締結部材及び前記第一止水部材を囲うように設けるように構成されている。
【発明の効果】
【0007】
本発明に係る端子台によれば、ハウジングを取付対象物へ適切に取り付けることができる。
【図面の簡単な説明】
【0008】
図1は、実施形態に係る端子台の斜視図である。
図2は、実施形態に係る端子台の分解斜視図である。
図3は、図1のIII-IIIにおける端子台の断面図である。
図4は、実施形態に係る端子台の接続の説明図である。
図5は、実施形態に係る端子台の接続の説明図であり、図1のV-Vにおける端子台の断面を示している。
図6は、比較例の端子台の説明図である。
【発明を実施するための形態】
【0009】
以下に、本発明に係る実施形態を図面に基づいて詳細に説明する。なお、この実施形態により本発明が限定されるものではない。また、下記実施形態における構成要素には、当業者が置換可能かつ容易なもの、あるいは実質的に同一のものが含まれる。
【0010】
[実施形態]
本実施形態は、端子台に関する。以下の説明では、互いに交差する第一方向、第二方向、及び、第三方向のうち、第一方向を「長手方向X」といい、第二方向を「幅方向Y」といい、第三方向を「取付方向Z」という。ここでは、長手方向Xと幅方向Yと取付方向Zとは、相互に直交する。なお、ここでいう直交は、ほぼ直交を含む。長手方向Xは、ハウジングが長く延びている方向に相当する。取付方向Zは、ハウジングを取付対象物へ取り付ける方向に相当する。また、以下の説明で用いる各方向は、特に断りのない限り、各部が相互に組み付けられた状態での方向を表すものとする。
(【0011】以降は省略されています)
この特許をJ-PlatPat(特許庁公式サイト)で参照する
関連特許
矢崎総業株式会社
端子
1か月前
矢崎総業株式会社
端子
12日前
矢崎総業株式会社
端子台
今日
矢崎総業株式会社
端子台
7日前
矢崎総業株式会社
端子台
7日前
矢崎総業株式会社
箱状体
1か月前
矢崎総業株式会社
箱状体
1か月前
矢崎総業株式会社
箱状体
1か月前
矢崎総業株式会社
端子台
7日前
矢崎総業株式会社
端子台
7日前
矢崎総業株式会社
端子台
今日
矢崎総業株式会社
端子台
今日
矢崎総業株式会社
端子台
今日
矢崎総業株式会社
箱状体
2か月前
矢崎総業株式会社
箱状体
2か月前
矢崎総業株式会社
コネクタ
2か月前
矢崎総業株式会社
コネクタ
21日前
矢崎総業株式会社
コネクタ
12日前
矢崎総業株式会社
コネクタ
12日前
矢崎総業株式会社
給電装置
13日前
矢崎総業株式会社
コネクタ
13日前
矢崎総業株式会社
電源回路
20日前
矢崎総業株式会社
コネクタ
20日前
矢崎総業株式会社
コネクタ
20日前
矢崎総業株式会社
コネクタ
1か月前
矢崎総業株式会社
コネクタ
1か月前
矢崎総業株式会社
コネクタ
2か月前
矢崎総業株式会社
コネクタ
2か月前
矢崎総業株式会社
コネクタ
2か月前
矢崎総業株式会社
コネクタ
2か月前
矢崎総業株式会社
接続構造
1か月前
矢崎総業株式会社
照明装置
1か月前
矢崎総業株式会社
照明装置
1か月前
矢崎総業株式会社
照明装置
1か月前
矢崎総業株式会社
報知装置
1か月前
矢崎総業株式会社
バスバー
1か月前
続きを見る
他の特許を見る