TOP
|
特許
|
意匠
|
商標
特許ウォッチ
Twitter
他の特許を見る
10個以上の画像は省略されています。
公開番号
2025162227
公報種別
公開特許公報(A)
公開日
2025-10-27
出願番号
2024065363
出願日
2024-04-15
発明の名称
照明装置
出願人
矢崎総業株式会社
代理人
個人
,
個人
,
個人
主分類
B60Q
1/24 20060101AFI20251020BHJP(車両一般)
要約
【課題】照射領域を所望の範囲に簡易的に設定する照明装置を提供する。
【解決手段】照明装置1は、光源11を実装した基板10と、基板10の少なくとも一部を収容する光透過性のケース50と、ケース50の内部で光源11の光射出面13を覆うように配置され、光射出面13から射出された光の進行方向を変化させるプリズム41とを備える。照明装置1は、プリズム41を支持し、かつ、基板10の一部の把持するプリズム支持部42を備えてもよい。
【選択図】図3
特許請求の範囲
【請求項1】
光源を実装した基板と、
前記基板の少なくとも一部を収容する光透過性のケースと、
前記ケースの内部で前記光源の光射出面を覆うように配置され、前記光射出面から射出された光の進行方向を変化させるプリズムと、
を備える照明装置。
続きを表示(約 450 文字)
【請求項2】
前記プリズムを支持し、かつ、前記基板の一部の把持するプリズム支持部を備える、請求項1に記載の照明装置。
【請求項3】
前記プリズムは、
前記ケースの内面と対向する凸形の曲面である第1表面と、
前記基板と対向する凸形の曲面である第2表面と、
前記第2表面の一部に形成され、少なくとも一部が前記光源の前記光射出面と対向する凹形の曲面である受光面と、
を有する、請求項1又は2に記載の照明装置。
【請求項4】
前記基板を保持するハウジングを備え、
前記ハウジングは、充電インレットの一部を構成する外部コネクタに接続されるコネクタ部を有し、
前記コネクタ部が前記外部コネクタに接続されているとき、前記ケースを通じて射出された照射光は、前記充電インレットの充電口に向けて照射され、
前記第1表面、前記第2表面又は前記受光面の各々の曲率は、前記照射光の照射領域に基づいて設定される、請求項3に記載の照明装置。
発明の詳細な説明
【技術分野】
【0001】
本発明は、照明装置に関する。
続きを表示(約 1,400 文字)
【背景技術】
【0002】
従来、電気自動車又はプラグインハイブリッド自動車等の車両に設置され、車両外部から車載バッテリに電力を供給させるための充電インレットがある。また、充電インレットでの充電口の近傍には、バッテリの充電状態等を表示する充電表示装置などが設置される場合もある。特許文献1には、光透過性のケースの内部において、複数の光源を実装した基板と当該基板を載置する遮光部とで各々の光源による光漏れ又は光の混色を抑止させる充電表示装置に関する技術が開示されている。
【先行技術文献】
【特許文献】
【0003】
特開2012-253843号公報
【発明の概要】
【発明が解決しようとする課題】
【0004】
特許文献1に開示の充電表示装置では、光源からの光は、ケースに設けられた表示体としてのレンズを通過して外方に射出されるため、照射領域がレンズによって狭まる。そのため、例えば、夜間の給電作業時に、充電インレットの近傍にある充電表示装置からの照射光によって充電口の全体が照らされるとは限らず、結果として、ユーザーが充電口に充電ガンをスムーズに挿入させることが難しい状況もあり得る。
【0005】
本発明は、このような従来技術が有する課題に鑑みてなされたものである。そして本発明の目的は、照射領域を所望の範囲に簡易的に設定する照明装置を提供することにある。
【課題を解決するための手段】
【0006】
本発明の態様に係る照明装置は、光源を実装した基板と、基板の少なくとも一部を収容する光透過性のケースと、ケースの内部で光源の光射出面を覆うように配置され、光射出面から射出された光の進行方向を変化させるプリズムと、を備える。
【発明の効果】
【0007】
本発明によれば、照射領域を所望の範囲に簡易的に設定する照明装置を提供することができる。
【図面の簡単な説明】
【0008】
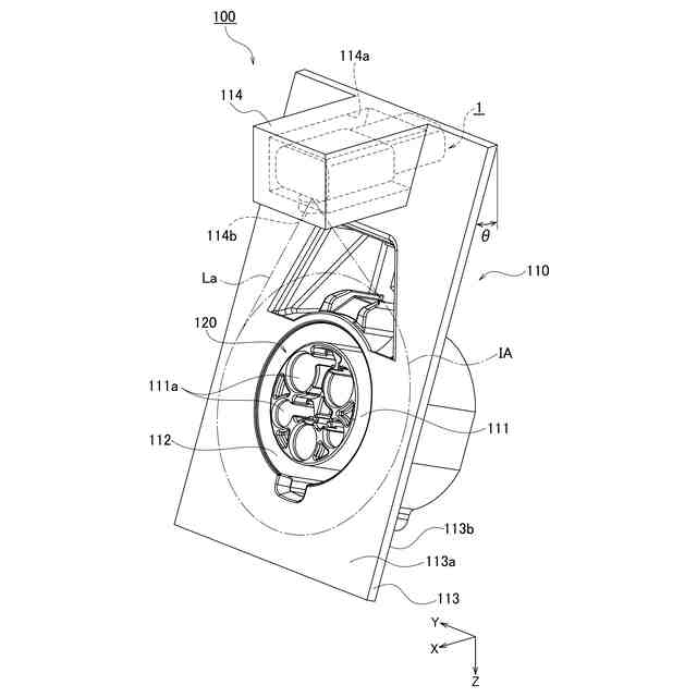
一実施形態に係る照明装置を取り付けた充電インレットの斜視図である。
先端部を視認させる一実施形態に係る照明装置の斜視図である。
後端部を視認させる一実施形態に係る照明装置の斜視図である。
ケースを取り外した状態の一実施形態に係る照明装置の斜視図である。
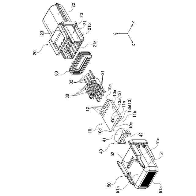
一実施形態に係る照明装置の分解斜視図である。
プリズムの前面側を視認させるプリズムユニットの斜視図である。
プリズムの後面側を視認させるプリズムユニットの斜視図である。
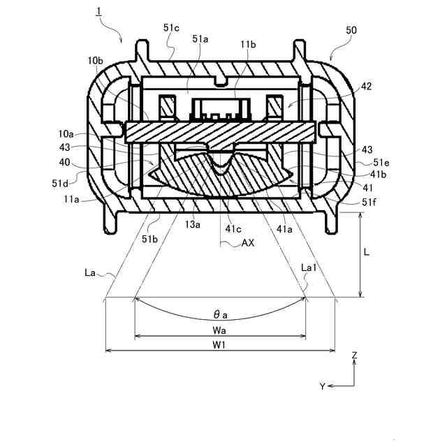
図2AのVI-VI部に対応した一実施形態に係る照明装置の断面図である。
図2AのVII-VII部に対応した一実施形態に係る照明装置の断面図である。
【発明を実施するための形態】
【0009】
以下、図面を用いて一実施形態に係る照明装置について詳細に説明する。なお、図面の寸法比率は説明の都合上誇張されており、実際の比率と異なる場合がある。
【0010】
図1は、一実施形態に係る照明装置1を取り付けた充電インレット100の斜視図である。なお、図1では、充電インレット100の内部に配置されている照明装置1は、概略的に破線で示されている。
(【0011】以降は省略されています)
この特許をJ-PlatPat(特許庁公式サイト)で参照する
関連特許
矢崎総業株式会社
端子
2日前
矢崎総業株式会社
照明灯
1か月前
矢崎総業株式会社
箱状体
22日前
矢崎総業株式会社
箱状体
22日前
矢崎総業株式会社
コネクタ
1か月前
矢崎総業株式会社
コネクタ
22日前
矢崎総業株式会社
コネクタ
1か月前
矢崎総業株式会社
コネクタ
1か月前
矢崎総業株式会社
報知装置
9日前
矢崎総業株式会社
コネクタ
1か月前
矢崎総業株式会社
コネクタ
23日前
矢崎総業株式会社
バスバー
13日前
矢崎総業株式会社
コネクタ
22日前
矢崎総業株式会社
コネクタ
1か月前
矢崎総業株式会社
コネクタ
1か月前
矢崎総業株式会社
コネクタ
1か月前
矢崎総業株式会社
コネクタ
21日前
矢崎総業株式会社
コネクタ
20日前
矢崎総業株式会社
コネクタ
16日前
矢崎総業株式会社
コネクタ
1か月前
矢崎総業株式会社
照明装置
8日前
矢崎総業株式会社
コネクタ
23日前
矢崎総業株式会社
コネクタ
23日前
矢崎総業株式会社
コネクタ
1か月前
矢崎総業株式会社
照明装置
2日前
矢崎総業株式会社
コネクタ
1か月前
矢崎総業株式会社
コネクタ
2か月前
矢崎総業株式会社
照明装置
3日前
矢崎総業株式会社
照明装置
3日前
矢崎総業株式会社
コネクタ
29日前
矢崎総業株式会社
コネクタ
29日前
矢崎総業株式会社
コネクタ
1か月前
矢崎総業株式会社
止水部材
27日前
矢崎総業株式会社
コネクタ
1か月前
矢崎総業株式会社
照明構造
27日前
矢崎総業株式会社
コネクタ
27日前
続きを見る
他の特許を見る