TOP
|
特許
|
意匠
|
商標
特許ウォッチ
Twitter
他の特許を見る
公開番号
2025151388
公報種別
公開特許公報(A)
公開日
2025-10-09
出願番号
2024052787
出願日
2024-03-28
発明の名称
コネクタ
出願人
矢崎総業株式会社
代理人
個人
,
個人
,
個人
主分類
H01R
13/42 20060101AFI20251002BHJP(基本的電気素子)
要約
【課題】コネクタハウジングの端子挿入部内における雌端子金具の振動を抑制することができるコネクタを提供する。
【解決手段】本発明に係るコネクタCNは、ランス36がランスホール215に係止した状態において、ランス36の係止溝37の水平面371が雌端子金具2の筒状部21の外壁である第1壁部211に弾性的に接触し、ランス36の弾性変形に伴う反力により雌端子金具2を押圧する。このため、筒状部21が端子収容部30の内壁である底壁31又は上壁33に押し付けられると共に、係止溝37の水平面371が筒状部21の第1壁部211に圧接する。これにより、雌コネクタハウジング3と雌端子金具2との間に摩擦が生じ、当該摩擦によって端子収容部30内における雌端子金具2の相対移動が規制され、端子挿入部30内における雌端子金具2の振動を抑制することができる。
【選択図】図2
特許請求の範囲
【請求項1】
雄コネクタと雌コネクタとが接続されるコネクタであって、
前記雌コネクタは、
内部に端子収容部を有する雌コネクタハウジングと、
前記端子収容部に収容され、前記雄コネクタに設けられた雄端子金具が挿入される筒状部を有し、前記雄端子金具が前記筒状部に挿入されることで前記雄端子金具と電気的に接続される雌端子金具と、
前記筒状部の外壁に開口するランスホールと、
前記端子収容部の内壁から内方へ突出するかたちで前記端子収容部の内壁に片持ち状に弾性支持され、先端部に前記ランスホールの開口縁部に係止可能な係止溝を有するランスと、
を備え、
前記係止溝は、前記筒状部の外壁と対向する水平面と、前記ランスホールの被係止面に係止することで前記雌端子金具の挿入方向の移動を規制する係止面と、を有し、
前記ランスは、自由状態において、前記水平面が前記端子収容部の内壁よりも前記端子収容部側に位置し、
前記ランスは、前記ランスホールに係止した状態において、前記端子収容部に対する前記雌端子金具の挿入時に前記筒状部の外壁に押し退けられることによって発生する前記ランスの弾性変形に伴う反力に基づき、前記水平面が前記筒状部の外壁に弾性的に接触する、
ことを特徴とするコネクタ。
続きを表示(約 680 文字)
【請求項2】
請求項1に記載のコネクタであって、
前記ランスが前記ランスホールに係止した状態において、前記係止面は前記ランスホールの被係止面から離間している、
ことを特徴とするコネクタ。
【請求項3】
請求項1又は2に記載のコネクタであって、
前記筒状部は、
前記ランスホールが形成される第1壁部と、
前記第1壁部と対向する第2壁部と、
を有し、
前記端子収容部は、
前記雌端子金具の挿入方向の第1端部に設けられ、前記筒状部よりも大きく開口し、前記端子収容部の内壁との間に所定の隙間を隔てた状態で前記筒状部が挿入される雌端子挿入口と、
前記雌端子金具の挿入方向において前記第1端部と反対側の第2端部に設けられ、前記筒状部よりも小さく開口して前記雄端子金具が挿入される雄端子挿入口と、
を有し、
前記雄端子挿入口は、前記筒状部の前記第2壁部の先端面と対向し、前記雌端子金具の挿入状態において前記第2壁部の先端面が当接することにより前記筒状部の挿入位置を規制する端壁部を有し、
前記ランスの自由状態において、前記隙間に基づき、前記筒状部の前記第2壁部の一部が前記端壁部の先端よりも前記第1壁部側に位置し、
前記ランスが前記ランスホールに係止した状態において、前記水平面に押圧されて前記筒状部が持ち上げられることにより、前記筒状部の前記第2壁部の先端面全体が前記端壁部と対向して前記端壁部の内側に収容される、
ことを特徴とするコネクタ。
発明の詳細な説明
【技術分野】
【0001】
本発明は、例えば自動車内に配索されるワイヤハーネスなどの接続に用いるコネクタに関する。
続きを表示(約 2,200 文字)
【背景技術】
【0002】
従来のコネクタとしては、例えば以下の特許文献に記載されたものが知られている。
【0003】
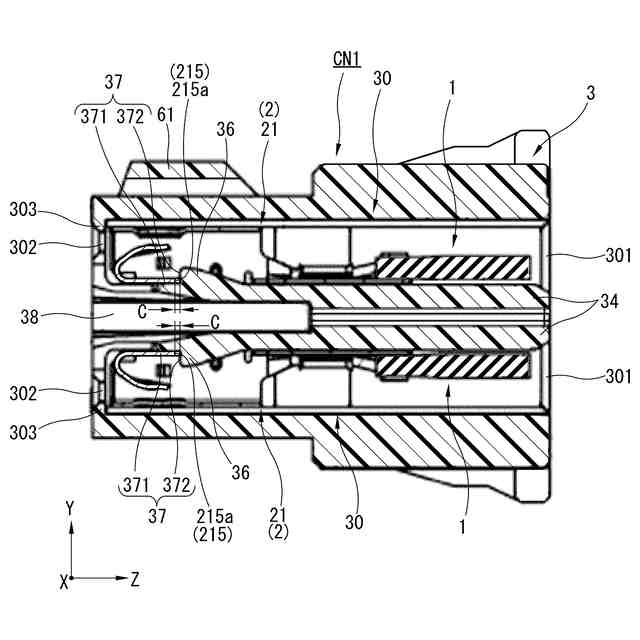
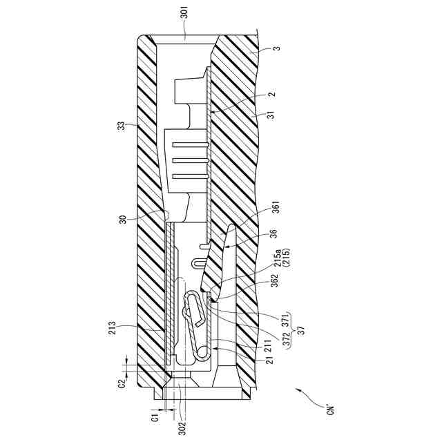
このコネクタCN´では、例えば図7に示すように、雌コネクタハウジング3の内部に設けられた端子収容部30の底壁31に、基端部361が片持ち状に支持されていて基端部361を支点として弾性変形可能に形成されたランス36を有している。このランス36の先端部362には、雌端子金具2の筒状部21の第1壁部211に開口するランスホール215の開口縁部に係止する係止溝37が設けられている。係止溝37は、雌端子金具2の第1壁部211に概ね平行な水平面371と、この水平面371から概ね垂直状に立ち上がり、端子挿入方向においてランスホール215の被係止面215aと対向する係止面372と、を有している。そして、コネクタCN´では、ランス36の係止溝37がランスホール215の開口縁部に係止することによって、雌端子金具2が雌コネクタハウジング3に係止状態に固定されている。
【先行技術文献】
【特許文献】
【0004】
特開2016-207253号公報
【発明の概要】
【発明が解決しようとする課題】
【0005】
しかしながら、前記従来のコネクタCN´では、雌端子金具2の筒状部21の第2壁部213と雌コネクタハウジング3の上壁33とのY方向間において鉛直方向の隙間C1が設けられると共に、雌端子金具2の筒状部21と雌コネクタハウジング3の端壁部303とのZ方向間において水平方向の隙間C2が設けられていた。このため、コネクタCN´では、各隙間C1,C2に基づき雌端子金具2が雌コネクタハウジング3に対して相対移動することによって、車両走行中において外部入力が発生した際に、雌コネクタハウジング3の内部で雌端子金具2が振動してしまうおそれがある点で、なおも改善の余地が残されていた。
【0006】
本発明は、かかる技術的課題に着目して案出されたものであって、コネクタハウジングの端子挿入部内における雌端子金具の振動を抑制することができるコネクタを提供することを目的としている。
【課題を解決するための手段】
【0007】
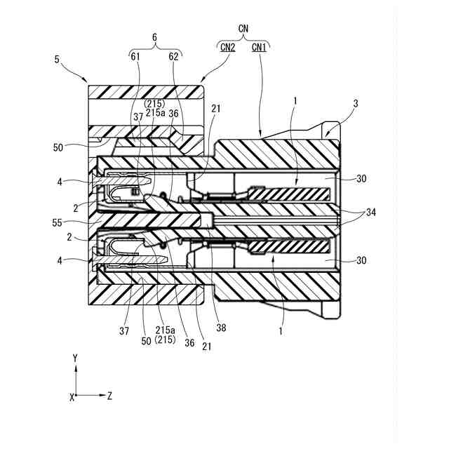
本発明は、その一態様として、雄コネクタと雌コネクタとが接続されるコネクタであって、前記雌コネクタは、内部に端子収容部を有する雌コネクタハウジングと、前記端子収容部に収容され、前記雄コネクタに設けられた雄端子金具が挿入される筒状部を有し、前記雄端子金具が前記筒状部に挿入されることで前記雄端子金具と電気的に接続される雌端子金具と、前記筒状部の外壁に開口するランスホールと、前記端子収容部の内壁から内方へ突出するかたちで前記端子収容部の内壁に片持ち状に弾性支持され、先端部に前記ランスホールの開口縁部に係止可能な係止溝を有するランスと、を備え、前記係止溝は、前記筒状部の外壁と対向する水平面と、前記ランスホールの被係止面に係止することで前記雌端子金具の挿入方向の移動を規制する係止面と、を有し、前記ランスは、自由状態において、前記水平面が前記端子収容部の内壁よりも前記端子収容部側に位置し、前記ランスは、前記ランスホールに係止した状態において、前記端子挿入部に対する前記雌端子金具の挿入時に前記筒状部の外壁に押し退けられることによって発生する前記ランスの弾性変形に伴う反力に基づき、前記水平面が前記筒状部の外壁に弾性的に接触する。
【発明の効果】
【0008】
本発明によれば、ランスがランスホールに係止した状態で、ランスの係止溝の水平面が雌端子金具の筒状部の外壁に弾性的に接触し、ランスの弾性変形に伴う反力によって雌端子金具を押圧することが可能となっている。このため、筒状部が端子収容部の内壁に押し付けられると共に、係止溝の水平面が筒状部の外壁に圧接することで、雌コネクタハウジングと雌端子金具との間に摩擦が発生し、当該摩擦によって端子収容部内における雌端子金具の相対移動が規制される。これにより、車両走行中の振動に伴って雌端子金具が振動してしまうおそれがなく、かかる雌端子金具の振動に基づく異音の発生を抑制することができる。
【0009】
また、雌コネクタハウジング内における雌端子金具の相対移動が規制されることによって、雌コネクタと雄コネクタが嵌合した状態における雌端子金具と雄端子金具の相対移動が規制されて、雌端子金具と雄端子金具との微摺動摩耗を抑制することができる。これにより、コネクタの耐久性を向上させることができる。
【0010】
また、ランスがランスホールに係止した状態において雌端子金具の筒状部に作用するランスの弾性変形に伴う反力により、雌端子金具が端子収容部に固定されている。このため、例えば端子収容部に対する雌端子金具の挿入力が増大するなど、端子収容部に対する雌端子金具の挿入力に影響を与えることなく雌端子金具を適切に保持可能となる。これにより、コネクタの製造作業性を向上させることができる。
【図面の簡単な説明】
(【0011】以降は省略されています)
この特許をJ-PlatPat(特許庁公式サイト)で参照する
関連特許
矢崎総業株式会社
照明灯
1か月前
矢崎総業株式会社
箱状体
10日前
矢崎総業株式会社
箱状体
10日前
矢崎総業株式会社
コネクタ
17日前
矢崎総業株式会社
コネクタ
1か月前
矢崎総業株式会社
コネクタ
1か月前
矢崎総業株式会社
コネクタ
1か月前
矢崎総業株式会社
コネクタ
10日前
矢崎総業株式会社
コネクタ
10日前
矢崎総業株式会社
コネクタ
11日前
矢崎総業株式会社
コネクタ
11日前
矢崎総業株式会社
コネクタ
1か月前
矢崎総業株式会社
コネクタ
11日前
矢崎総業株式会社
コネクタ
17日前
矢崎総業株式会社
コネクタ
19日前
矢崎総業株式会社
コネクタ
15日前
矢崎総業株式会社
コネクタ
15日前
矢崎総業株式会社
照明構造
15日前
矢崎総業株式会社
コネクタ
23日前
矢崎総業株式会社
止水部材
15日前
矢崎総業株式会社
コネクタ
22日前
矢崎総業株式会社
コネクタ
29日前
矢崎総業株式会社
コネクタ
1か月前
矢崎総業株式会社
コネクタ
1か月前
矢崎総業株式会社
コネクタ
1か月前
矢崎総業株式会社
コネクタ
1か月前
矢崎総業株式会社
コネクタ
1か月前
矢崎総業株式会社
コネクタ
9日前
矢崎総業株式会社
コネクタ
4日前
矢崎総業株式会社
バスバー
1日前
矢崎総業株式会社
コネクタ
8日前
矢崎総業株式会社
電気接続箱
1か月前
矢崎総業株式会社
カバー構造
1か月前
矢崎総業株式会社
電気接続箱
22日前
矢崎総業株式会社
電流センサ
1か月前
矢崎総業株式会社
電流センサ
1か月前
続きを見る
他の特許を見る