TOP
|
特許
|
意匠
|
商標
特許ウォッチ
Twitter
他の特許を見る
公開番号
2025138026
公報種別
公開特許公報(A)
公開日
2025-09-25
出願番号
2024036698
出願日
2024-03-11
発明の名称
コネクタ
出願人
矢崎総業株式会社
代理人
個人
,
個人
,
個人
主分類
H01R
13/42 20060101AFI20250917BHJP(基本的電気素子)
要約
【課題】組付け時の作業性を向上させるコネクタを提供する。
【解決手段】コネクタ1は、第1締結部材70を収容自在として第1締結部材70の締結方向に沿った基準方向で貫通する収容孔23を有する絶縁ブロック20と、基準方向と直交する方向に貫通する貫通部11aが形成された平板状の接続部11を有し、外部から配索された電線100の端末に取り付けられるインナー端子10と、インナー端子10の貫通部11aに一部を貫通させつつ、絶縁ブロック20の側面部25に設けられた被締結部72に締結される第2締結部材71と、第1締結部材70の一部を貫通させる第1貫通孔41aと、第2締結部材71の一部を貫通させる第2貫通孔42aとを有し、アウター端子50とインナー端子10とを電気的に導通させるL形のバスバー40と、絶縁ブロック20を基準方向に沿って収容する筒状のハウジング60とを備える。
【選択図】図5
特許請求の範囲
【請求項1】
アウター端子と、
前記アウター端子の基部に締結される第1締結部材と、
前記第1締結部材を収容自在として当該第1締結部材の締結方向に沿った基準方向で貫通する収容孔を有する絶縁ブロックと、
前記基準方向と直交する方向に貫通する貫通部が形成された平板状の接続部を有し、外部から配索された電線の端末に取り付けられるインナー端子と、
前記インナー端子の前記貫通部に一部を貫通させつつ、前記絶縁ブロックの側面部に設けられた被締結部に締結される第2締結部材と、
前記第1締結部材の一部を貫通させる第1貫通孔と、前記第2締結部材の一部を貫通させる第2貫通孔とを有し、前記アウター端子と前記インナー端子とを電気的に導通させるL形のバスバーと、
前記絶縁ブロックを前記基準方向に沿って収容する筒状のハウジングと、を備え、
前記アウター端子、前記インナー端子、前記絶縁ブロックの前記収容孔、前記バスバー、前記第1締結部材及び前記第2締結部材を1つずつ含む組み合わせは、1つの前記電線に対応し、かつ、複数ある、コネクタ。
続きを表示(約 600 文字)
【請求項2】
前記アウター端子、前記インナー端子、前記絶縁ブロックの前記収容孔、前記バスバー、前記第1締結部材及び前記第2締結部材の前記組み合わせは、2つあり、
前記絶縁ブロックでは、一方の前記被締結部に一方の前記第2締結部材が締結される方向と、他方の前記被締結部に他方の前記第2締結部材が締結される方向とは、互いに並列に配置されている2つの前記収容孔を挟んで、互いに対向する、請求項1に記載のコネクタ。
【請求項3】
前記絶縁ブロックは、前記収容孔の開口のうち前記アウター端子に近い側の第1開口が形成されている正面部を有し、
前記バスバーは、
前記第1貫通孔が形成されている第1板部と、
前記第2貫通孔が形成されている第2板部と、を有し、
前記第1板部は、前記絶縁ブロックの前記正面部と接触し、
前記第2板部は、前記絶縁ブロックの前記側面部と接触する、請求項1又は2に記載のコネクタ。
【請求項4】
前記絶縁ブロックは、前記正面部の一部と前記側面部の一部とで連続するように、前記バスバーを収容する溝状のバスバー収容部を有する、請求項3に記載のコネクタ。
【請求項5】
前記絶縁ブロックは、互いに隣り合う一方の前記収容孔と他方の収容孔との間に、切り欠き部を有する、請求項1又は2に記載のコネクタ。
発明の詳細な説明
【技術分野】
【0001】
本発明は、コネクタに関する。
続きを表示(約 1,400 文字)
【背景技術】
【0002】
従来、電線の端末に取り付けられた第1の端子と、外部コネクタ等と直接的に接続される第2の端子とを電気的に導通させるバスバーを、第1の端子と第2の端子との組み合わせごとに複数備えるコネクタがある。特許文献1は、バスバーの一端が第2の端子を兼ねる構成であるが、2つの端子付き電線に個別に接続される2つのバスバーを備えるコネクタに関する技術を開示している。
【先行技術文献】
【特許文献】
【0003】
特開2023-5221号公報
【発明の概要】
【発明が解決しようとする課題】
【0004】
特許文献1に開示のコネクタでは、インナーハウジングによってハウジングの内部が覆われる前に、ハウジングの内部に、締結部材を用いて第1の端子と第2の端子とを組み付ける。そのため、当該コネクタの組付け時には、ハウジングの内部に対する作業が必然的に多くなることから、作業性をより向上させる点で改善の余地がある。
【0005】
本発明は、このような従来技術が有する課題に鑑みてなされたものである。そして本発明の目的は、組付け時の作業性を向上させるコネクタを提供することにある。
【課題を解決するための手段】
【0006】
本発明の態様に係るコネクタは、アウター端子と、アウター端子の基部に締結される第1締結部材と、第1締結部材を収容自在として第1締結部材の締結方向に沿った基準方向で貫通する収容孔を有する絶縁ブロックと、基準方向と直交する方向に貫通する貫通部が形成された平板状の接続部を有し、外部から配索された電線の端末に取り付けられるインナー端子と、インナー端子の貫通部に一部を貫通させつつ、絶縁ブロックの側面部に設けられた被締結部に締結される第2締結部材と、第1締結部材の一部を貫通させる第1貫通孔と、第2締結部材の一部を貫通させる第2貫通孔とを有し、アウター端子とインナー端子とを電気的に導通させるL形のバスバーと、絶縁ブロックを基準方向に沿って収容する筒状のハウジングと、を備え、アウター端子、インナー端子、絶縁ブロックの収容孔、バスバー、第1締結部材及び第2締結部材を1つずつ含む組み合わせは、1つの電線に対応し、かつ、複数ある。
【発明の効果】
【0007】
本発明によれば、組付け時の作業性を向上させるコネクタを提供することができる。
【図面の簡単な説明】
【0008】
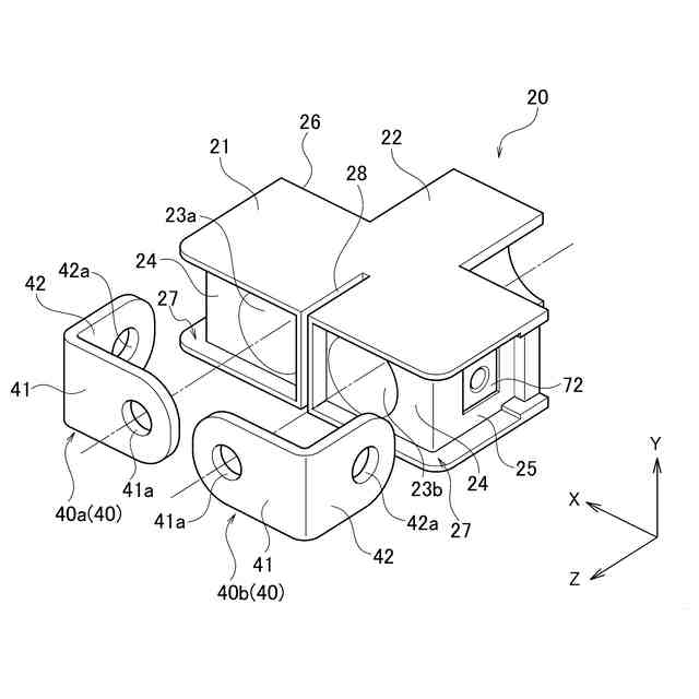
一実施形態に係るコネクタの斜視図である。
一実施形態に係るコネクタの一部分解図である。
絶縁ブロックとナットとの分解斜視図である。
絶縁ブロックとバスバーとの分解斜視図である。
バスバーを保持した絶縁ブロックとインナー端子との分解斜視図である。
【発明を実施するための形態】
【0009】
以下、図面を用いて一実施形態に係るコネクタについて詳細に説明する。なお、図面の寸法比率は説明の都合上誇張されており、実際の比率と異なる場合がある。
【0010】
図1は、一実施形態に係るコネクタ1の斜視図である。図2は、コネクタ1の一部分解図である。
(【0011】以降は省略されています)
この特許をJ-PlatPat(特許庁公式サイト)で参照する
関連特許
矢崎総業株式会社
箱状体
16日前
矢崎総業株式会社
箱状体
16日前
矢崎総業株式会社
箱状体
16日前
矢崎総業株式会社
コネクタ
15日前
矢崎総業株式会社
コネクタ
15日前
矢崎総業株式会社
コネクタ
1日前
矢崎総業株式会社
接続構造
16日前
矢崎総業株式会社
通信ケーブル
13日前
矢崎総業株式会社
車両用室内灯
13日前
矢崎総業株式会社
スイッチ装置
13日前
矢崎総業株式会社
スイッチ装置
13日前
矢崎総業株式会社
スイッチ装置
13日前
矢崎総業株式会社
車両用室内灯
13日前
矢崎総業株式会社
導電モジュール
15日前
矢崎総業株式会社
導通検査システム
13日前
矢崎総業株式会社
ワイヤーハーネス
16日前
矢崎総業株式会社
レバー式コネクタ
16日前
矢崎総業株式会社
ホルダ付きコネクタ
21日前
矢崎総業株式会社
車両用対話システム
14日前
矢崎総業株式会社
放熱体、及び、箱状体
16日前
矢崎総業株式会社
放熱体、及び、箱状体
16日前
矢崎総業株式会社
ジャンクションボックス
16日前
矢崎総業株式会社
端子付き電線の製造方法
1日前
矢崎総業株式会社
コネクタ及び伝送システム
15日前
矢崎総業株式会社
導電モジュール及び測温装置
14日前
矢崎総業株式会社
導電性部材のボルト締結構造
13日前
矢崎総業株式会社
ホルダ体、および車体固定構造
14日前
矢崎総業株式会社
プロテクタおよびワイヤハーネス
8日前
矢崎総業株式会社
端子付き電線及びワイヤーハーネス
16日前
矢崎総業株式会社
バスバホルダおよびバスバホルダの製造方法
8日前
矢崎総業株式会社
端子付き電線、及び、端子付き電線の製造方法
21日前
矢崎総業株式会社
ワイヤーハーネス接続構造及びワイヤーハーネス接続構造の製造方法
1日前
他の特許を見る