TOP
|
特許
|
意匠
|
商標
特許ウォッチ
Twitter
他の特許を見る
公開番号
2025173166
公報種別
公開特許公報(A)
公開日
2025-11-27
出願番号
2024078616
出願日
2024-05-14
発明の名称
給電装置
出願人
矢崎総業株式会社
代理人
個人
,
個人
,
個人
主分類
H02G
11/00 20060101AFI20251119BHJP(電力の発電,変換,配電)
要約
【課題】本発明は、部品点数を低減することにより製造コストの低減を図った給電装置を提供することを目的とする。
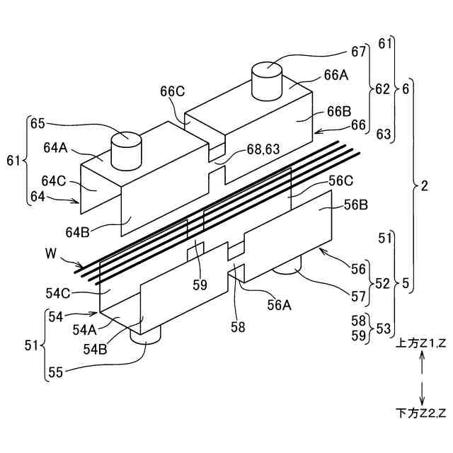
【解決手段】給電装置1は、車体BとスライドドアSとの間に配索される電線Wを外装する外装部品2を備え、外装部品2は、電線Wを挟み込むための一対の部材5、6を有して、電線Wを外装可能な筒状に構成され、一対の部材5、6は、それぞれ、車体Bに揺動自在に支持されるとともに直線状に延びて形成された車体側部51、61と、スライドドアSに揺動自在に支持されるとともに直線状に延びて形成されたドア側部52、62と、車体側部51、61とドア側部52、62との間に設けられて両者51、52(61、62)を連結する連結部53、63と、を一体に備え、連結部53、63は、車体側部51、61の延在方向およびドア側部52、62の延在方向を変化させるように屈曲可能に構成されている。
【選択図】図1
特許請求の範囲
【請求項1】
車体とスライドドアとを有する車両において、前記車体と前記スライドドアとを電気的に接続するための給電装置であって、
前記車体と前記スライドドアとの間に配索される電線を外装する外装部品を備え、
前記外装部品は、前記電線を挟み込むための一対の部材を有して、前記電線を外装可能な筒状に構成され、
前記一対の部材は、それぞれ、前記車体に揺動自在に支持されるとともに直線状に延びて形成された車体側部と、前記スライドドアに揺動自在に支持されるとともに直線状に延びて形成されたドア側部と、前記車体側部と前記ドア側部との間に設けられてこれらを連結する連結部と、を一体に備え、
前記連結部は、前記車体側部の延在方向および前記ドア側部の延在方向を変化させるように屈曲可能に構成されていることを特徴とする給電装置。
続きを表示(約 100 文字)
【請求項2】
前記外装部品の軸に直交する方向の断面積は、前記各部材における前記連結部の断面積が、前記各部材における他の部分の断面積に比して小さいことを特徴とする請求項1に記載の給電装置。
発明の詳細な説明
【技術分野】
【0001】
本発明は、給電装置に関する。
続きを表示(約 1,900 文字)
【背景技術】
【0002】
従来、スライドドアを備えた自動車には、車両本体からスライドドアの電装品に電源供給や信号伝送を行う給電装置が搭載されている(例えば特許文献1参照)。図3は、スライドドアSの移動に伴って、従来の給電装置101が変位する様子を示す図である。図3において、全閉位置にあるスライドドアSを符号S1で示し、全開位置にあるスライドドアSを符号S2で示し、半開位置にあるスライドドアSを符号S3で示す。
【0003】
従来の給電装置101は、図3に示すように、車両本体BからスライドドアSに配索される電線(不図示)を外装するコルゲートチューブ102Aと、該コルゲートチューブ102Aの一端部を支持するとともに、車両本体Bに固定されたボディプロテクタ103に揺動自在に軸支されるボディロータ102Bと、コルゲートチューブ102Aの他端部を支持するとともに、スライドドアSに固定されたドアプロテクタ104に揺動自在に軸支されるドアロータ102Cと、を備える。
【0004】
ボディロータ102Bは、ボディベース(不図示)と、該ボディベースに組み付けられるボディカバー102B(ボディロータと同一符号を付与する)と、の2部品から構成されているとともに、車両本体Bに固定されたボディプロテクタ103に揺動自在に支持されている。
【0005】
ドアロータ102Cは、ドアベース(不図示)と、該ドアベースに組み付けられるドア側カバー102C(ドアロータと同一符号を付与する)と、の2部品から構成されているとともに、スライドドアSに固定されたドアプロテクタ104に揺動自在に支持されている。
【0006】
このような従来の給電装置101を組み立てる場合には、電線をコルゲートチューブ102Aの内部に通す作業(通し作業)を行って、電線にコルゲートチューブ102Aを外装する。そして、このコルゲートチューブ102Aの一端部を、ボディベースおよびボディカバー102Bで挟み込んで、コルゲートチューブ102Aの一端部をボディロータ102Bに組み付ける。また、コルゲートチューブ102Aの他端部を、ドアベースおよびドア側カバー102Cで挟み込んで、コルゲートチューブ102Aの他端部をドアロータ102Cに組み付ける。この後、ボディロータ102Bを、車両本体Bに固定されたボディプロテクタ103に揺動自在に支持させ、ドアロータ102Cを、スライドドアSに固定されたドアプロテクタ104に揺動自在に支持させる。このようにして従来の給電装置101は組み立てられている。
【先行技術文献】
【特許文献】
【0007】
特開2018-85812号公報
【発明の概要】
【発明が解決しようとする課題】
【0008】
しかしながら、従来の給電装置101において、車両本体BとスライドドアSとの間(以下では「渡り部100」と記す場合がある)は、ボディベースとボディカバー102Bとにより構成されたボディロータ102B、ドアベースとドア側カバー102Cとにより構成されたドアロータ102C、及びコルゲートチューブ102Aの5部品で構成されている。このため、これらの部品を製造するための金型製造費等の製造コストが高かった。
【0009】
本発明は、部品点数を低減することにより製造コストの低減を図った給電装置を提供することを目的とする。
【課題を解決するための手段】
【0010】
前記課題を解決し目的を達成するために、請求項1に記載された発明は、車体とスライドドアとを有する車両において、前記車体と前記スライドドアとを電気的に接続するための給電装置であって、前記車体と前記スライドドアとの間に配索される電線を外装する外装部品を備え、前記外装部品は、前記電線を挟み込むための一対の部材を有して、前記電線を外装可能な筒状に構成され、前記一対の部材は、それぞれ、前記車体に揺動自在に支持されるとともに直線状に延びて形成された車体側部と、前記スライドドアに揺動自在に支持されるとともに直線状に延びて形成されたドア側部と、前記車体側部と前記ドア側部との間に設けられてこれらを連結する連結部と、を一体に備え、前記連結部は、前記車体側部の延在方向および前記ドア側部の延在方向を変化させるように屈曲可能に構成されていることを特徴とする。
【発明の効果】
(【0011】以降は省略されています)
この特許をJ-PlatPat(特許庁公式サイト)で参照する
関連特許
矢崎総業株式会社
端子
1か月前
矢崎総業株式会社
箱状体
1か月前
矢崎総業株式会社
箱状体
23日前
矢崎総業株式会社
箱状体
23日前
矢崎総業株式会社
箱状体
23日前
矢崎総業株式会社
コネクタ
22日前
矢崎総業株式会社
コネクタ
22日前
矢崎総業株式会社
接続構造
23日前
矢崎総業株式会社
照明装置
1か月前
矢崎総業株式会社
照明装置
1か月前
矢崎総業株式会社
コネクタ
7日前
矢崎総業株式会社
照明装置
1か月前
矢崎総業株式会社
照明装置
1か月前
矢崎総業株式会社
報知装置
1か月前
矢崎総業株式会社
バスバー
1か月前
矢崎総業株式会社
コネクタ
1か月前
矢崎総業株式会社
コネクタ
1か月前
矢崎総業株式会社
コネクタ
1か月前
矢崎総業株式会社
コネクタ
8日前
矢崎総業株式会社
給電装置
今日
矢崎総業株式会社
電源回路
7日前
矢崎総業株式会社
コネクタ
7日前
矢崎総業株式会社
コネクタ
今日
矢崎総業株式会社
カバー構造
28日前
矢崎総業株式会社
スイッチ装置
20日前
矢崎総業株式会社
画像表示装置
1か月前
矢崎総業株式会社
連結コネクタ
7日前
矢崎総業株式会社
バスバー電線
今日
矢崎総業株式会社
照明ユニット
1日前
矢崎総業株式会社
端子付き電線
1か月前
矢崎総業株式会社
スイッチ装置
20日前
矢崎総業株式会社
スイッチ装置
20日前
矢崎総業株式会社
車両用室内灯
20日前
矢崎総業株式会社
車両用室内灯
20日前
矢崎総業株式会社
通信ケーブル
20日前
矢崎総業株式会社
コネクタ構造
1か月前
続きを見る
他の特許を見る