TOP
|
特許
|
意匠
|
商標
特許ウォッチ
Twitter
他の特許を見る
10個以上の画像は省略されています。
公開番号
2025158225
公報種別
公開特許公報(A)
公開日
2025-10-17
出願番号
2024060565
出願日
2024-04-04
発明の名称
バスバー
出願人
矢崎総業株式会社
代理人
個人
,
個人
,
個人
,
個人
,
個人
主分類
H05K
1/02 20060101AFI20251009BHJP(他に分類されない電気技術)
要約
【課題】一実施形態は、放熱性の向上を図ることができるバスバーを提供する。
【解決手段】一実施形態のバスバー20は、板状の延伸部23を含む。延伸部23の延伸方向とは交差した断面で見た場合に、延伸部23は、第1主面41と、第1側部43と、第1角部51とを有する。第1側部43は、第1主面41とは異なる方向を向いている。第1角部51は、第1主面41と第1側部43とを繋ぐ。第1角部51は、延伸部23の外側に向けて凸となる曲面または第1主面41に対して45度を超える角度で傾斜した傾斜面のうち少なくとも一方を有する。
【選択図】図3
特許請求の範囲
【請求項1】
板状の延伸部を含むバスバーであって、
前記延伸部の延伸方向とは交差した断面で見た場合に、
前記延伸部は、第1主面と、前記第1主面とは異なる方向を向いた第1側部と、前記第1主面と前記第1側部とを繋ぐ第1角部とを有し、
前記第1角部は、前記延伸部の外側に向けて凸となる曲面または前記第1主面に対して45度を超える角度で傾斜した傾斜面のうち少なくとも一方を有した、
バスバー。
続きを表示(約 910 文字)
【請求項2】
前記第1角部は、前記曲面を有し、
前記曲面の最小曲率半径は、1mm以上である、
請求項1に記載のバスバー。
【請求項3】
前記第1角部は、前記曲面を有し、
前記延伸部は、導体と、前記導体の外周を覆う絶縁被膜とを有し、
前記曲面の最小曲率半径は、前記絶縁被膜の膜厚よりも大きい、
請求項1または請求項2に記載のバスバー。
【請求項4】
前記第1角部は、前記曲面を有し、
前記延伸部は、導体と、前記導体の外周を覆う絶縁被膜と、前記絶縁被膜の外周を覆うシールド層とを有し、
前記第1角部の表面は、前記シールド層の表面の一部によって形成されている、
請求項1または請求項2に記載のバスバー。
【請求項5】
前記曲面の最小曲率半径は、前記シールド層の膜厚よりも大きい、
請求項4に記載のバスバー。
【請求項6】
前記第1角部は、前記曲面を有し、
前記延伸部は、導体と、前記導体の外周を覆う絶縁被膜とを有し、
前記導体は、前記第1主面と平行な第1導体主面と、前記第1側部と平行な第1導体側部と、前記第1導体主面と前記第1導体側部とを繋ぐ第1導体角部とを有し、
前記第1導体角部は、前記曲面の内周側に位置して前記延伸部の外側に向けて凸となる導体曲面を有した、
請求項1または請求項2に記載のバスバー。
【請求項7】
前記断面で見た場合に、
前記延伸部は、前記延伸部の厚さ方向で前記第1主面とは反対側に位置して前記第1主面と平行な第2主面と、前記第1側部と前記第2主面とを繋ぐ第2角部とを有し、
前記第2角部は、前記曲面よりも小さな曲面、前記傾斜面よりも小さな傾斜面、または直角に屈曲した屈曲面のうち少なくとも1つを有した、
請求項1または請求項2に記載のバスバー。
【請求項8】
前記第1角部は、前記第1主面に対して45度を超える角度で傾斜した傾斜面を有した、
請求項1に記載のバスバー。
発明の詳細な説明
【技術分野】
【0001】
本発明の実施形態は、バスバーに関する。
続きを表示(約 1,600 文字)
【背景技術】
【0002】
例えば車載用の電気接続部材の1つとして、バスバーが利用されている。バスバーは、電気部品に接続される接続部と、板状の延伸部とを有する。
【先行技術文献】
【特許文献】
【0003】
特開2023-023721号公報
【発明の概要】
【発明が解決しようとする課題】
【0004】
ところで、使用環境によってはバスバーの温度が上昇しやすい場合がある。
【0005】
一実施形態は、放熱性の向上を図ることができるバスバーを提供する。
【課題を解決するための手段】
【0006】
一実施形態のバスバーは、板状の延伸部を含む。前記延伸部の延伸方向とは交差した断面で見た場合に、前記延伸部は、第1主面と、第1側部と、第1角部とを有する。前記第1側部は、前記第1主面とは異なる方向を向いている。前記第1角部は、前記第1主面と前記第1側部とを繋ぐ。前記第1角部は、前記延伸部の外側に向けて凸となる曲面または前記第1主面に対して45度を超える角度で傾斜した傾斜面のうち少なくとも一方を有する。
【発明の効果】
【0007】
一実施形態によれば、バスバーの放熱性の向上を図ることができる。
【図面の簡単な説明】
【0008】
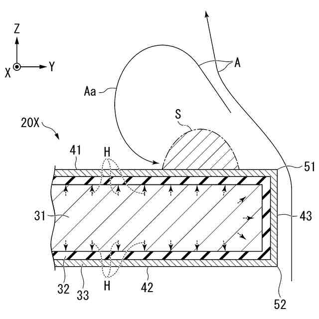
第1実施形態のバスバーを含む車両の一例を示す図。
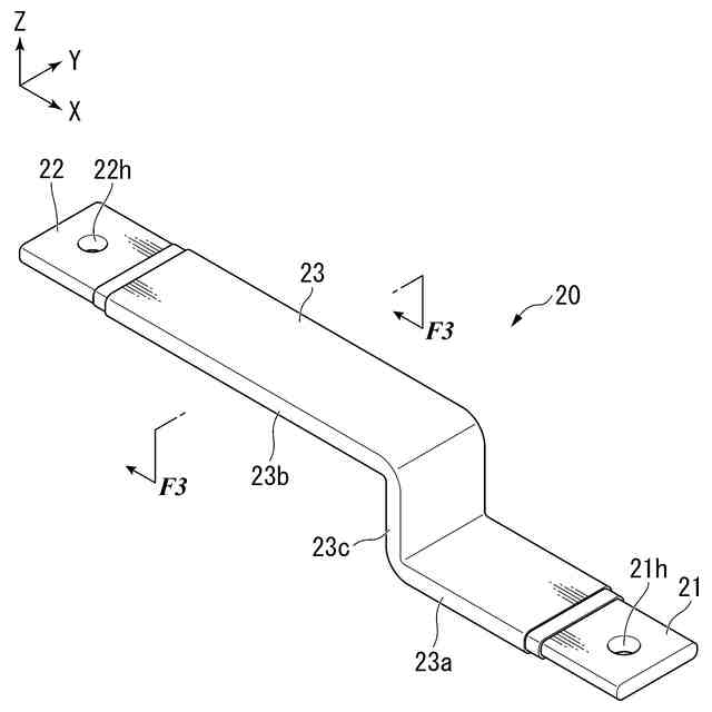
第1実施形態のバスバーの一例を示す斜視図。
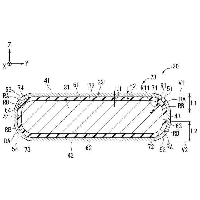
図2中に示されたバスバーのF3-F3線に沿う断面図。
比較例のバスバーに関するシミュレーション結果を示す図。
比較例のバスバーの周囲の空気流れを説明するための図。
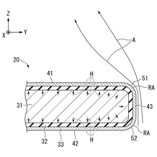
第1実施形態のバスバーに関するシミュレーション結果を示す図。
第1実施形態のバスバーの周囲の空気流れを説明するための図。
第1実施形態の曲率半径と断面積比との関係を示す図。
第1実施形態の曲率半径とバスバーの温度上昇との関係を示す図。
第1実施形態の第1変形例のバスバーを示す断面図。
第1実施形態の第2変形例のバスバーを示す断面図。
第2実施形態のバスバーを示す断面図。
第2実施形態のバスバーに関するシミュレーション結果を示す図。
第2実施形態の変形例の電気接続ユニットの一例を示す断面図。
図12中に示された電気接続ユニットのF13-F13線に沿う断面図。
【発明を実施するための形態】
【0009】
以下、実施形態について図面を参照して説明する。以下の説明では、同一または類似の機能を有する構成に同一の符号を付す。そして、それら構成の重複する説明は省略する場合がある。本開示では、用語は以下のように定義される。「接続」とは、機械的な接続に限定されず、電気的な接続を含み得る。すなわち「接続」とは、接続対象である2つの要素が直接に接続される場合に限定されず、接続対象である2つの要素が別の要素を間に介在させて接続される場合を含み得る。「平行」、「直交」、「水平」、「真円」、「直角」、または「同じ」とは、それぞれ、「略平行」、「略直交」、「略水平」、「略真円」、「略直角」、または「同じ」である場合を含み得る。
【0010】
本開示では、X方向、Y方向、およびZ方向は、以下のように定義される。X方向は、後述するバスバー20の第1延伸部23aの延伸方向である。Y方向は、バスバー20の第1延伸部23aの幅方向である。Z方向は、バスバー20の第1延伸部23aの厚さ方向である。なお以下の説明における水平方向および上下左右は、バスバー20の使用状態(例えば車両Vへの搭載状態)における姿勢を基準としている。
(【0011】以降は省略されています)
この特許をJ-PlatPat(特許庁公式サイト)で参照する
関連特許
矢崎総業株式会社
端子
13日前
矢崎総業株式会社
箱状体
6日前
矢崎総業株式会社
箱状体
6日前
矢崎総業株式会社
箱状体
1か月前
矢崎総業株式会社
箱状体
1か月前
矢崎総業株式会社
箱状体
6日前
矢崎総業株式会社
コネクタ
1か月前
矢崎総業株式会社
照明装置
13日前
矢崎総業株式会社
照明装置
19日前
矢崎総業株式会社
報知装置
20日前
矢崎総業株式会社
接続構造
6日前
矢崎総業株式会社
バスバー
24日前
矢崎総業株式会社
照明装置
14日前
矢崎総業株式会社
コネクタ
27日前
矢崎総業株式会社
照明装置
14日前
矢崎総業株式会社
コネクタ
1か月前
矢崎総業株式会社
コネクタ
5日前
矢崎総業株式会社
コネクタ
5日前
矢崎総業株式会社
カバー構造
11日前
矢崎総業株式会社
電気接続箱
1か月前
矢崎総業株式会社
電気接続箱
1か月前
矢崎総業株式会社
フラット導体
1か月前
矢崎総業株式会社
端子付き電線
25日前
矢崎総業株式会社
画像表示装置
14日前
矢崎総業株式会社
画像表示装置
14日前
矢崎総業株式会社
通信ケーブル
3日前
矢崎総業株式会社
車両用室内灯
3日前
矢崎総業株式会社
車両用室内灯
3日前
矢崎総業株式会社
スイッチ装置
3日前
矢崎総業株式会社
コネクタ構造
20日前
矢崎総業株式会社
コネクタ構造
20日前
矢崎総業株式会社
スイッチ装置
3日前
矢崎総業株式会社
スイッチ装置
3日前
矢崎総業株式会社
コネクタ構造
20日前
矢崎総業株式会社
充電インレット
19日前
矢崎総業株式会社
ワイヤハーネス
27日前
続きを見る
他の特許を見る