TOP
|
特許
|
意匠
|
商標
特許ウォッチ
Twitter
他の特許を見る
公開番号
2025155149
公報種別
公開特許公報(A)
公開日
2025-10-14
出願番号
2024058725
出願日
2024-04-01
発明の名称
ワイヤハーネス
出願人
矢崎総業株式会社
代理人
弁理士法人虎ノ門知的財産事務所
主分類
B60R
16/02 20060101AFI20251006BHJP(車両一般)
要約
【課題】組付作業の作業性を向上することができるワイヤハーネスを提供することを目的とする。
【解決手段】ワイヤハーネスWHは、サブモジュール10と、分岐ボックス20と、を備え、分岐ボックス20の第3コネクタ23は、一方が基板24側の第1接続端子27と接続され、他方が制御装置30側の第2接続端子33と接続される一対の端子部25aと、一対の端子部25aを接続する弾性変形可能な繋ぎ部25bと、を有した中継端子25と、中継端子25を支持するコネクタハウジング26と、を含んで構成され、筐体21の第2外壁21bには、隙間G1が設けられ、中継端子25は、筐体21に対するコネクタハウジング26の第1嵌合方向Yおよび高さ方向Z(第2嵌合方向Xと交差する方向)に沿った相対移動に伴って繋ぎ部25bが弾性変形することで当該コネクタハウジング26の移動に追従可能に構成される。
【選択図】図5
特許請求の範囲
【請求項1】
可撓性を有し車両の取付パネルに沿って配索される平型配索材と、前記平型配索材に設けられる第1コネクタと、を有したサブモジュールと、
筐体と、前記筐体の第1外壁に設けられ第1嵌合方向に沿って前記第1コネクタと接続される第2コネクタと、前記筐体の第2外壁に設けられ前記第1嵌合方向と交差する第2嵌合方向に沿って前記車両の制御装置と接続される第3コネクタと、前記筐体に収容される基板と、を有した分岐ボックスと、を備え、
前記第3コネクタは、一方が前記基板側の第1接続端子と接続され、他方が前記制御装置側の第2接続端子と接続される一対の端子部と、一対の端子部を接続する弾性変形可能な繋ぎ部と、を有した中継端子と、前記中継端子を支持するコネクタハウジングと、を含んで構成され、
前記筐体の前記第2外壁には、前記コネクタハウジングの前記第2嵌合方向と交差する方向に沿った相対移動を許容する隙間が設けられ、
前記中継端子は、前記筐体に対する前記コネクタハウジングの前記第2嵌合方向と交差する方向に沿った相対移動に伴って前記繋ぎ部が弾性変形することで当該コネクタハウジングの移動に追従可能に構成される、
ワイヤハーネス。
続きを表示(約 120 文字)
【請求項2】
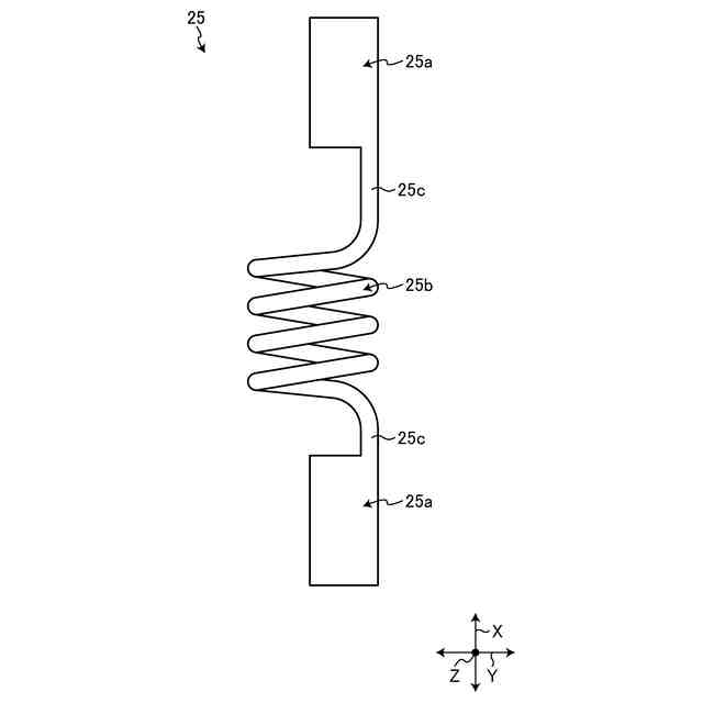
前記繋ぎ部は、前記一対の端子部と別部品でつる巻きばね状に形成されており、
前記中継端子は、前記一対の端子部と前記繋ぎ部とを一体化する溶接部を含んで構成される、
請求項1に記載のワイヤハーネス。
発明の詳細な説明
【技術分野】
【0001】
本発明は、ワイヤハーネスに関する。
続きを表示(約 2,200 文字)
【背景技術】
【0002】
従来のワイヤハーネスに関する技術として、例えば、特許文献1には、可撓性を有し、車両の取付パネルに沿って配索される平型配索材と、平型配索材に設けられる第1コネクタと、を有したサブモジュールと、第1嵌合方向に沿って第1コネクタと接続される第2コネクタと、第1嵌合方向と交差する第2嵌合方向に沿って車両の制御装置と接続される第3コネクタと、を有した分岐ボックスと、を備えたワイヤハーネスが開示されている。
【先行技術文献】
【特許文献】
【0003】
特開2012-055105号公報
【発明の概要】
【発明が解決しようとする課題】
【0004】
ところで、上述した特許文献1に記載のワイヤハーネスでは、例えば、車両の制御装置が取付パネルに対してボルトによって締結固定される場合があり、この場合、組付作業の作業性向上の点で更なる改善の余地があった。
【0005】
本発明は、上記の事情に鑑みてなされたものであって、組付作業の作業性を向上することができるワイヤハーネスを提供することを目的とする。
【課題を解決するための手段】
【0006】
上記目的を達成するために、本発明に係るワイヤハーネスは、可撓性を有し車両の取付パネルに沿って配索される平型配索材と、前記平型配索材に設けられる第1コネクタと、を有したサブモジュールと、筐体と、前記筐体の第1外壁に設けられ第1嵌合方向に沿って前記第1コネクタと接続される第2コネクタと、前記筐体の第2外壁に設けられ前記第1嵌合方向と交差する第2嵌合方向に沿って前記車両の制御装置と接続される第3コネクタと、前記筐体に収容される基板と、を有した分岐ボックスと、を備え、前記第3コネクタは、一方が前記基板側の第1接続端子と接続され、他方が前記制御装置側の第2接続端子と接続される一対の端子部と、一対の端子部を接続する弾性変形可能な繋ぎ部と、を有した中継端子と、前記中継端子を支持するコネクタハウジングと、を含んで構成され、前記筐体の前記第2外壁には、前記コネクタハウジングの前記第2嵌合方向と交差する方向に沿った相対移動を許容する隙間が設けられ、前記中継端子は、前記筐体に対する前記コネクタハウジングの前記第2嵌合方向と交差する方向に沿った相対移動に伴って前記繋ぎ部が弾性変形することで当該コネクタハウジングの移動に追従可能に構成される。
【発明の効果】
【0007】
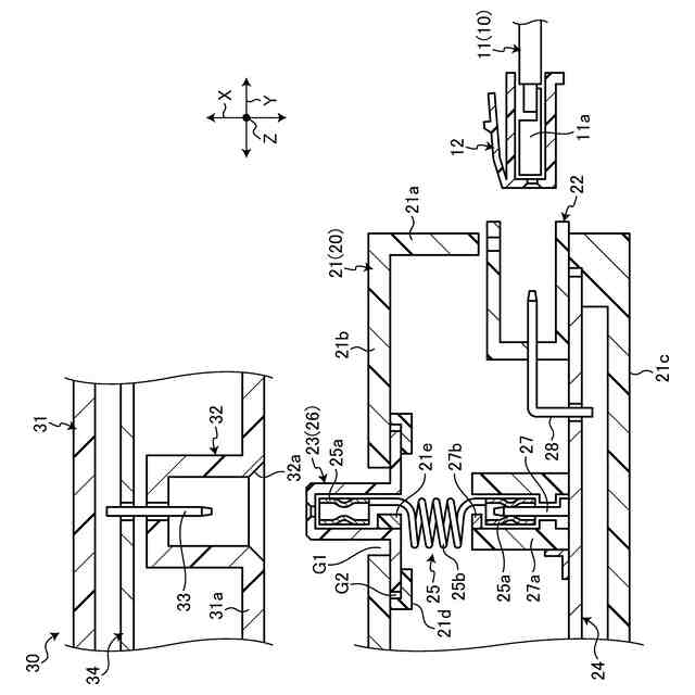
本発明に係るワイヤハーネスでは、中継端子は、筐体に対するコネクタハウジングの第2嵌合方向と交差する方向に沿った相対移動に伴って繋ぎ部が弾性変形することで当該コネクタハウジングの移動に追従可能に構成される。この構成により、ワイヤハーネスは、例えば、車両の制御装置が取付パネルに対してボルトによって締結固定される場合に、中継端子がコネクタハウジングの移動に追従することで、制御装置と取付パネルの締結穴との第2嵌合方向と交差する方向に沿った位置ズレを吸収することができる。この結果、ワイヤハーネスは、組付作業の作業性を向上することができる、という効果を奏する。
【図面の簡単な説明】
【0008】
図1は、実施形態に係るワイヤハーネスが適用される車両の例示的な斜視図である。
図2は、実施形態に係るワイヤハーネスが適用される車両の例示的な斜視図であって、制御装置が取り外された状態の図である。
図3は、実施形態に係るワイヤハーネスの分岐ボックスの例示的な斜視図である。
図4は、実施形態に係るワイヤハーネスのサブモジュールおよび分岐ボックスの例示的な斜視図である。
図5は、実施形態に係るワイヤハーネスのサブモジュールおよび分岐ボックスの例示的な断面図である。
図6は、実施形態に係るワイヤハーネスの中継端子の例示的な側面図である。
【発明を実施するための形態】
【0009】
以下、本発明に係る実施形態を図面に基づいて詳細に説明する。なお、下記実施形態によりこの発明が限定されるものではない。また、下記実施形態における構成要素には、当業者が置換可能かつ容易なもの、あるいは実質的に同一のものが含まれる。なお、本明細書では、序数は、部品や、部材、部位、位置、方向等を区別するためだけに用いられており、順番や優先度を示すものではない。
【0010】
[実施形態]
図1は、実施形態に係るワイヤハーネスWHが適用される車両100の斜視図であり、図2は、車両100の斜視図であって、制御装置30が取り外された状態の図である。図1、2に示される本実施形態のワイヤハーネスWHは、車両100に適用され、当該車両100に搭載される各装置間を接続し電源供給や信号通信に用いられるものである。本実施形態のワイヤハーネスWHは、例えば、車両100のダッシュパネル120に設けられると共に、車両100のインストルメントパネル(不図示)の内部に設置される。ダッシュパネル120は、車両100のエンジンルーム130と車室内(キャビン)とを仕切る隔壁であり、車両100の構造部材(骨格部材)を構成している。
(【0011】以降は省略されています)
この特許をJ-PlatPat(特許庁公式サイト)で参照する
関連特許
矢崎総業株式会社
端子
13日前
矢崎総業株式会社
箱状体
6日前
矢崎総業株式会社
箱状体
6日前
矢崎総業株式会社
箱状体
6日前
矢崎総業株式会社
箱状体
1か月前
矢崎総業株式会社
箱状体
1か月前
矢崎総業株式会社
照明構造
1か月前
矢崎総業株式会社
コネクタ
27日前
矢崎総業株式会社
照明装置
14日前
矢崎総業株式会社
照明装置
14日前
矢崎総業株式会社
報知装置
20日前
矢崎総業株式会社
バスバー
24日前
矢崎総業株式会社
コネクタ
1か月前
矢崎総業株式会社
コネクタ
1か月前
矢崎総業株式会社
接続構造
6日前
矢崎総業株式会社
コネクタ
1か月前
矢崎総業株式会社
コネクタ
1か月前
矢崎総業株式会社
コネクタ
1か月前
矢崎総業株式会社
コネクタ
1か月前
矢崎総業株式会社
コネクタ
1か月前
矢崎総業株式会社
コネクタ
1か月前
矢崎総業株式会社
コネクタ
1か月前
矢崎総業株式会社
照明装置
13日前
矢崎総業株式会社
照明装置
19日前
矢崎総業株式会社
コネクタ
5日前
矢崎総業株式会社
コネクタ
5日前
矢崎総業株式会社
電気接続箱
1か月前
矢崎総業株式会社
プロテクタ
1か月前
矢崎総業株式会社
カバー構造
11日前
矢崎総業株式会社
ゴムブーツ
1か月前
矢崎総業株式会社
電気接続箱
1か月前
矢崎総業株式会社
電気接続箱
1か月前
矢崎総業株式会社
コネクタ構造
20日前
矢崎総業株式会社
コネクタ構造
20日前
矢崎総業株式会社
コネクタ構造
20日前
矢崎総業株式会社
端子付き電線
25日前
続きを見る
他の特許を見る