TOP
|
特許
|
意匠
|
商標
特許ウォッチ
Twitter
他の特許を見る
10個以上の画像は省略されています。
公開番号
2025145888
公報種別
公開特許公報(A)
公開日
2025-10-03
出願番号
2024046370
出願日
2024-03-22
発明の名称
コネクタ
出願人
矢崎総業株式会社
代理人
弁理士法人虎ノ門知的財産事務所
主分類
H01R
13/64 20060101AFI20250926BHJP(基本的電気素子)
要約
【課題】レバー及び位置保証部材を備えながらコンパクトに構成することができるコネクタを提供する。
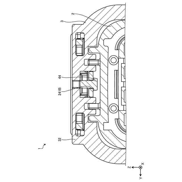
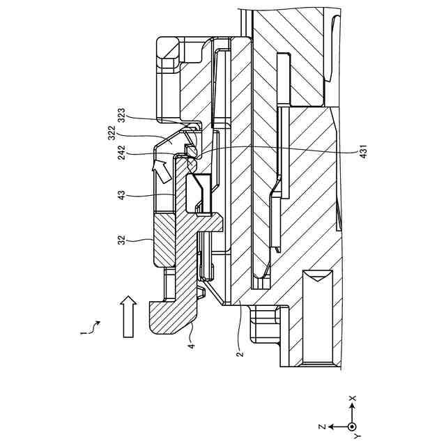
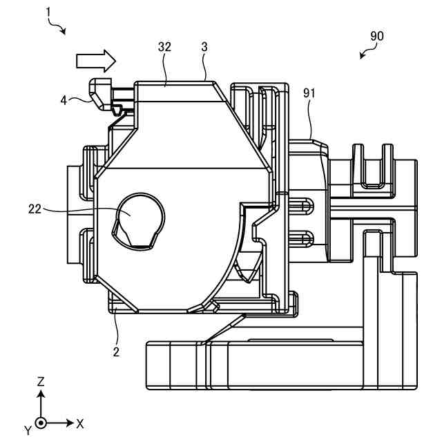
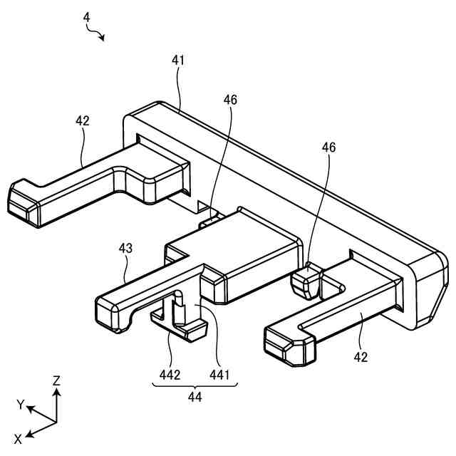
【解決手段】コネクタ1は、相手方コネクタ90に接続されるハウジング2と、ハウジングに対し回動可能に取り付けられるレバー3と、レバー3に取り付けられハウジング2が相手方コネクタ90に適正に嵌合している状態で本係止位置に移動可能とされる位置保証部材4と、を備え、ハウジング2は、本体部20から離間して設けられる係止部24を有し、係止部24は、位置保証部材4と本体部20の間に設けられ、位置保証部材4と係合する係止突起242と、本体部20側へ押圧されることにより係止突起242と位置保証部材4の係合を解除する押圧部243とを有し、位置保証部材4は、係止部24を貫通し係止部24と本体部20の間に位置する係合解除規制部44を有するように構成されている。
【選択図】図1
特許請求の範囲
【請求項1】
電線に取り付けられる端子を保持し、相手方コネクタに接続されるハウジングと、
前記ハウジングに対し回動可能に取り付けられ、回動することにより前記ハウジングを前記相手方コネクタ側へ移動させるレバーと、
前記レバーに対し仮係止位置から本係止位置まで移動可能に取り付けられ、前記ハウジングが前記相手方コネクタに適正に嵌合している状態で前記本係止位置に移動可能とされる位置保証部材と、を備え、
前記ハウジングは、本体部から離間して設けられる係止部を有し、
前記係止部は、前記本係止位置に移動した前記位置保証部材と前記本体部の間に設けられ、前記位置保証部材に向けて突出し前記位置保証部材と係合する係止突起と、前記本体部側へ押圧されることにより前記係止突起と前記位置保証部材の係合を解除する押圧部とを有し、
前記位置保証部材は、前記係止部を貫通し前記係止部と前記本体部の間に位置する係合解除規制部を有し、
前記係合解除規制部は、前記位置保証部材が前記仮係止位置にある状態で前記係止部との係合解除を許容し、前記位置保証部材が前記本係止位置にある状態で前記係止部の前記本体部側の移動を抑制して前記係止部との係合解除を規制する、
コネクタ。
続きを表示(約 150 文字)
【請求項2】
前記係止部は、前記相手方コネクタとの接続方向に沿ってスリットを形成し、
前記係合解除規制部は、前記スリットを通じて前記係止部と前記本体部の間まで延び、前記係止部が前記本体部側へ移動しないように支持して前記係止部との係合解除を規制する、
請求項1に記載のコネクタ。
発明の詳細な説明
【技術分野】
【0001】
本発明は、コネクタに関する。
続きを表示(約 2,000 文字)
【背景技術】
【0002】
従来、コネクタに関するものとして、例えば、特許文献1に記載されるように、端子を保持するハウジングと、ハウジングに対し回転可能に設けられるレバーとを備えたレバー式のコネクタが知られている。このコネクタは、レバーの横位置にコネクタ位置保証機構を設けており、コネクタ位置保証機構によってコネクタの適正な嵌合を行うものである。
【先行技術文献】
【特許文献】
【0003】
特開2018-073674号公報
【発明の概要】
【発明が解決しようとする課題】
【0004】
上述したコネクタは、コンパクトに構成することが難しい点で改善の余地がある。例えば、コネクタは、コネクタ位置保証機構とハウジングの係止部材を係合しつつ、この係合を解除するロック機構が必要となる。このため、係合機構及び係合解除機構が複雑なものとなり、コネクタが大型なものとなってしまう。
【0005】
そこで、本発明は、レバー及び位置保証部材を備えながらコンパクトに構成することができるコネクタを提供することを目的とする。
【課題を解決するための手段】
【0006】
すなわち、本発明に係るコネクタは、電線に取り付けられる端子を保持し、相手方コネクタに接続されるハウジングと、前記ハウジングに対し回動可能に取り付けられ、回動することにより前記ハウジングを前記相手方コネクタ側へ移動させるレバーと、前記レバーに対し仮係止位置から本係止位置まで移動可能に取り付けられ、前記ハウジングが前記相手方コネクタに適正に嵌合している状態で前記本係止位置に移動可能とされる位置保証部材と、を備え、前記ハウジングは、本体部から離間して設けられる係止部を有し、前記係止部は、前記本係止位置に移動した前記位置保証部材と前記本体部の間に設けられ、前記位置保証部材に向けて突出し前記位置保証部材と係合する係止突起と、前記本体部側へ押圧されることにより前記係止突起と前記位置保証部材の係合を解除する押圧部とを有し、前記位置保証部材は、前記係止部を貫通し前記係止部と前記本体部の間に位置する係合解除規制部を有し、前記係合解除規制部は、前記位置保証部材が前記仮係止位置にある状態で前記係止部との係合解除を許容し、前記位置保証部材が前記本係止位置にある状態で前記係止部の前記本体部側の移動を抑制して前記係止部との係合解除を規制するように構成されている。
【発明の効果】
【0007】
本発明に係るコネクタによれば、レバー及び位置保証部材を備えながらコンパクトに構成することができる。
【図面の簡単な説明】
【0008】
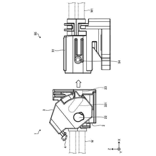
図1は、実施形態に係るコネクタの分解斜視図である。
図2は、実施形態に係るコネクタのハウジングの斜視図である。
図3は、実施形態に係るコネクタのレバーの斜視図である。
図4は、実施形態に係るコネクタの位置保証部材の斜視図である。
図5は、実施形態に係るコネクタと相手方コネクタの接続の説明図である。
図6は、実施形態に係るコネクタと相手方コネクタの接続の説明図である。
図7は、実施形態に係るコネクタと相手方コネクタの接続の説明図である。
図8は、実施形態に係るコネクタと相手方コネクタの接続の説明図である。
図9は、実施形態に係るコネクタと相手方コネクタの接続の説明図である。
図10は、実施形態に係るコネクタと相手方コネクタの接続解除の説明図である。
図11は、実施形態に係るコネクタと相手方コネクタの接続の説明図である。
【発明を実施するための形態】
【0009】
以下に、本発明に係る実施形態を図面に基づいて詳細に説明する。なお、この実施形態により本発明が限定されるものではない。また、下記実施形態における構成要素には、当業者が置換可能かつ容易なもの、あるいは実質的に同一のものが含まれる。
【0010】
[実施形態]
本実施形態は、コネクタに関する。以下の説明では、互いに交差する第一方向、第二方向、及び、第三方向のうち、第一方向を「接続方向X」といい、第二方向を「幅方向Y」といい、第三方向を「高さ方向Z」という。ここでは、接続方向Xと幅方向Yと高さ方向Zとは、相互に直交する。接続方向Xは、コネクタと相手方コネクタの接続方向又は嵌合方向に相当する。幅方向Yは、コネクタの幅方向に相当する。幅方向Yと高さ方向Zとは、接続方向Xと直交する直交方向に相当する。また、以下の説明で用いる各方向は、特に断りのない限り、各部が相互に組み付けられた状態での方向を表すものとする。なお、ここでいう直交は、ほぼ直交を含む。
(【0011】以降は省略されています)
この特許をJ-PlatPat(特許庁公式サイト)で参照する
関連特許
矢崎総業株式会社
端子
22日前
矢崎総業株式会社
照明灯
2か月前
矢崎総業株式会社
箱状体
15日前
矢崎総業株式会社
箱状体
1か月前
矢崎総業株式会社
箱状体
1か月前
矢崎総業株式会社
箱状体
15日前
矢崎総業株式会社
箱状体
15日前
矢崎総業株式会社
コネクタ
1か月前
矢崎総業株式会社
照明装置
28日前
矢崎総業株式会社
コネクタ
2か月前
矢崎総業株式会社
バスバー
1か月前
矢崎総業株式会社
照明装置
23日前
矢崎総業株式会社
照明装置
23日前
矢崎総業株式会社
コネクタ
2か月前
矢崎総業株式会社
コネクタ
1か月前
矢崎総業株式会社
照明装置
22日前
矢崎総業株式会社
コネクタ
今日
矢崎総業株式会社
コネクタ
1か月前
矢崎総業株式会社
コネクタ
1か月前
矢崎総業株式会社
コネクタ
1か月前
矢崎総業株式会社
コネクタ
1か月前
矢崎総業株式会社
コネクタ
1か月前
矢崎総業株式会社
コネクタ
2か月前
矢崎総業株式会社
接続構造
15日前
矢崎総業株式会社
コネクタ
1か月前
矢崎総業株式会社
コネクタ
1か月前
矢崎総業株式会社
止水部材
1か月前
矢崎総業株式会社
照明構造
1か月前
矢崎総業株式会社
コネクタ
1か月前
矢崎総業株式会社
コネクタ
1か月前
矢崎総業株式会社
コネクタ
1か月前
矢崎総業株式会社
コネクタ
14日前
矢崎総業株式会社
コネクタ
1か月前
矢崎総業株式会社
コネクタ
14日前
矢崎総業株式会社
報知装置
29日前
矢崎総業株式会社
コネクタ
1か月前
続きを見る
他の特許を見る