TOP
|
特許
|
意匠
|
商標
特許ウォッチ
Twitter
他の特許を見る
公開番号
2025179375
公報種別
公開特許公報(A)
公開日
2025-12-10
出願番号
2024086086
出願日
2024-05-28
発明の名称
端子台
出願人
矢崎総業株式会社
代理人
弁理士法人虎ノ門知的財産事務所
主分類
H01R
9/22 20060101AFI20251203BHJP(基本的電気素子)
要約
【課題】ハウジングに対する止水部材の押圧力を低減し端子台の小型化を図ることができ端子台を提供する。
【解決手段】端子台1は、端子2を保持するハウジング3と、ハウジング3に形成される溝部33に収容され、ハウジング3と取付対象物10との間を止水する止水部材4と、を備え、止水部材4は、環状の本体41と、本体41の側部から突出しハウジング3に係合される係止部42と、本体41の側部から突出し溝部33に当接される突部43と、を有するように構成されている。
【選択図】図3
特許請求の範囲
【請求項1】
端子を保持するハウジングと、
前記ハウジングに形成される溝部に収容され、前記ハウジングと取付対象物との間を止水する止水部材と、を備え、
前記止水部材は、環状の本体と、前記本体の側部から突出し前記ハウジングに係合される係止部と、前記本体の側部から突出し前記溝部に当接される突部と、を有する、
端子台。
続きを表示(約 200 文字)
【請求項2】
前記係止部は、前記止水部材の第一領域に設けられ、
前記突部は、前記止水部材の前記第一領域と異なる第二領域に設けられている、
請求項1に記載の端子台。
【請求項3】
前記第一領域は、前記止水部材の上部に位置する領域であり、
前記第二領域は、前記止水部材において前記第一領域より下部に位置する領域である、
請求項2に記載の端子台。
発明の詳細な説明
【技術分野】
【0001】
本発明は、端子台に関する。
続きを表示(約 1,500 文字)
【背景技術】
【0002】
従来、端子台として、例えば、特許文献1に記載されるように、ハウジングで端子を保持し、締結部材によりハウジングを取付対象物(被着体)に取り付ける端子台が知られている。この端子台は、ハウジングにおいて取付対象物に対向する面に周溝を設け、この周溝に止水部材を嵌め付けてハウジングと取付対象物の間の止水を行っている。
【先行技術文献】
【特許文献】
【0003】
特開2010-211933号公報
【発明の概要】
【発明が解決しようとする課題】
【0004】
このような端子台にあっては、小型化を図ることが難しい点で改善の余地がある。例えば、上述した端子台は、止水部材の外側へ突出する位置決め片が形成されている。このため、止水部材が大型なものとなり、端子台の小型化の支障となる。これに対し、止水部材を周溝の側面に当接させるために、止水部材の側部から突出する突部を形成することが考えられる。しかしながら、このような突部を設けると、ハウジングを取付対象物に取り付ける際に止水部材が圧縮され周溝が強く押圧されることなる。
【0005】
そこで、本発明は、ハウジングに対する止水部材の押圧力を低減し端子台の小型化を図ることができ端子台を提供することを目的とする。
【課題を解決するための手段】
【0006】
すなわち、本発明に係る端子台は、端子を保持するハウジングと、前記ハウジングに形成される溝部に収容され、前記ハウジングと取付対象物との間を止水する止水部材と、を備え、前記止水部材は、環状の本体と、前記本体の側部から突出し前記ハウジングに係合される係止部と、前記本体の側部から突出し前記溝部に当接される突部と、を有するように構成されている。
【発明の効果】
【0007】
本発明に係る端子台によれば、ハウジングに対する止水部材の押圧力を低減し端子台の小型化を図ることができる。
【図面の簡単な説明】
【0008】
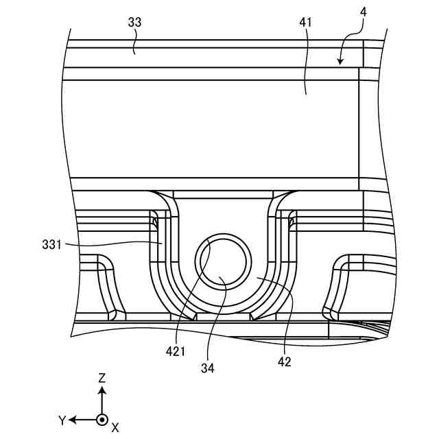
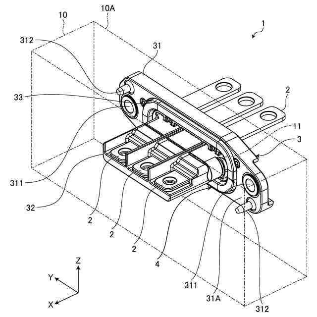
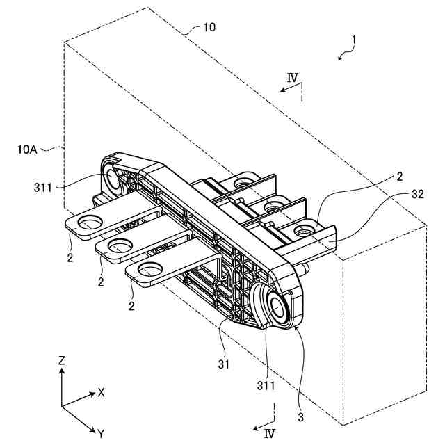
図1は、実施形態に係る端子台の斜視図である。
図2は、実施形態に係る端子台の斜視図である。
図3は、実施形態に係る端子台の分解斜視図である。
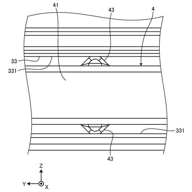
図4は、実施形態に係る端子台の止水部材の説明図であり、図1のIV-IVから見た端子台の正面図である。
図5は、実施形態に係る端子台の止水部材における係止部の説明図である。
図6は、実施形態に係る端子台の止水部材における突部の説明図である。
図7は、比較例の端子台の説明図である。
図8は、比較例の端子台の説明図である。
【発明を実施するための形態】
【0009】
以下に、本発明に係る実施形態を図面に基づいて詳細に説明する。なお、この実施形態により本発明が限定されるものではない。また、下記実施形態における構成要素には、当業者が置換可能かつ容易なもの、あるいは実質的に同一のものが含まれる。
【0010】
[実施形態]
本実施形態は、端子台に関する。以下の説明では、互いに交差する第一方向、第二方向、及び、第三方向のうち、第一方向を「取付方向X」といい、第二方向を「幅方向Y」といい、第三方向を「高さ方向Z」という。ここでは、取付方向Xと幅方向Yと高さ方向Zとは、相互に直交する。なお、ここでいう直交は、ほぼ直交を含む。取付方向Xは、ハウジングが取付対象物に取り付けられる方向に相当する。また、以下の説明で用いる各方向は、特に断りのない限り、各部が相互に組み付けられた状態での方向を表すものとする。
(【0011】以降は省略されています)
この特許をJ-PlatPat(特許庁公式サイト)で参照する
関連特許
個人
三重コイル変圧器
今日
日機装株式会社
加圧装置
5日前
ローム株式会社
半導体装置
今日
日新イオン機器株式会社
イオン源
5日前
三菱電機株式会社
回路遮断器
28日前
株式会社GSユアサ
蓄電装置
1か月前
株式会社GSユアサ
蓄電装置
20日前
富士電機株式会社
電磁接触器
20日前
日本特殊陶業株式会社
保持装置
今日
日本特殊陶業株式会社
保持装置
1か月前
株式会社東芝
電子源
5日前
ホシデン株式会社
複合コネクタ
14日前
株式会社トクミ
ケーブル
6日前
大電株式会社
電線又はケーブル
12日前
トヨタ自動車株式会社
蓄電装置
12日前
個人
電源ボックス及び電子機器
5日前
住友電装株式会社
コネクタ
今日
住友電装株式会社
コネクタ
20日前
株式会社レゾナック
冷却器
28日前
ローム株式会社
半導体モジュール
21日前
矢崎総業株式会社
バスバー
1日前
矢崎総業株式会社
コネクタ
20日前
ヒロセ電機株式会社
電気コネクタ
20日前
トヨタ自動車株式会社
蓄電装置構造
6日前
三菱電機株式会社
半導体装置
5日前
日本特殊陶業株式会社
アンテナ装置
7日前
日本航空電子工業株式会社
コネクタ
1か月前
株式会社デンソー
半導体装置
20日前
矢崎総業株式会社
端子
12日前
株式会社パロマ
監視システム
12日前
日本特殊陶業株式会社
アンテナ装置
7日前
日本特殊陶業株式会社
アンテナ装置
7日前
日本航空電子工業株式会社
コネクタ
5日前
株式会社興電舎
励磁突入電流抑制方法
5日前
矢崎総業株式会社
バスバー電線
13日前
新電元工業株式会社
半導体装置
20日前
続きを見る
他の特許を見る