TOP
|
特許
|
意匠
|
商標
特許ウォッチ
Twitter
他の特許を見る
10個以上の画像は省略されています。
公開番号
2025176485
公報種別
公開特許公報(A)
公開日
2025-12-04
出願番号
2024082666
出願日
2024-05-21
発明の名称
蓄電装置構造
出願人
トヨタ自動車株式会社
代理人
個人
主分類
H01M
50/204 20210101AFI20251127BHJP(基本的電気素子)
要約
【課題】着脱可能な電池を搭載する車両においてより簡便な構成で、着脱可能な電池を冷却できる蓄電装置構造を提供すること。
【解決手段】蓄電装置構造10は、着脱可能な蓄電装置11と、蓄電装置11と接触している第1部分22と、少なくとも第1部分22を除いた部分の一部である、第2部分を有し、蓄電装置11を内部に収納するケース21を備え、第1部分22は、第2部分よりも熱伝導率が大きい。
【選択図】図1
特許請求の範囲
【請求項1】
着脱可能な蓄電装置と、
前記蓄電装置と接触している第1部分と、少なくとも前記第1部分を除いた部分の一部である第2部分を有し、前記蓄電装置を内部に収納するケースを備え、
前記第1部分は、前記第2部分よりも熱伝導率が大きい、蓄電装置構造。
続きを表示(約 360 文字)
【請求項2】
前記第1部分は、重力方向を下として、前記ケースの上面または側面に設けられている、請求項1に記載の蓄電装置構造。
【請求項3】
前記蓄電装置の表面及び前記ケースの内部の少なくとも一方に異物を拭い取るスワイプ構造を備える、請求項1に記載の蓄電装置構造。
【請求項4】
前記蓄電装置が前記ケースに挿入されたときに、前記蓄電装置の前記第1部分を前記ケースに押さえつける、押さえ構造を備える、請求項1に記載の蓄電装置構造。
【請求項5】
前記ケースを前記蓄電装置の前記第1部分から離す方向に前記押さえ構造に力を作用させるバネと、
嵌合レバーと、
前記嵌合レバーの変位を前記押さえ構造に伝達する歯車を備える、請求項4に記載の蓄電装置構造。
発明の詳細な説明
【技術分野】
【0001】
本発明は蓄電装置構造に関する。
続きを表示(約 1,100 文字)
【背景技術】
【0002】
特許文献1には、移動体に対して着脱可能な電池ユニットの冷却機構を制御する冷却制御部が開示されている。
【先行技術文献】
【特許文献】
【0003】
特開2023-39705号公報
【発明の概要】
【発明が解決しようとする課題】
【0004】
しかしながら、着脱可能な電池を搭載する車両においてより簡便な構成で、着脱可能な電池を冷却する必要がある。
【課題を解決するための手段】
【0005】
一実施形態の蓄電装置構造は、着脱可能な電池の筐体と接触する収納部材の熱伝導率を大きくするようにした。
【発明の効果】
【0006】
本開示の蓄電装置構造によれば、着脱可能な電池を搭載する車両においてより簡便な構成で、着脱可能な電池を冷却できる。
【図面の簡単な説明】
【0007】
実施の形態1にかかる蓄電装置構造の一例を示す断面図である。
実施の形態1にかかる蓄電装置構造を搭載する車両の一例を示す断面図である。
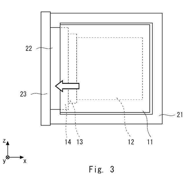
実施の形態1にかかる蓄電装置構造の一例を示す断面図である。
実施の形態1にかかる蓄電装置構造の一例を示す断面図である。
実施の形態2にかかる蓄電装置構造の一例を示す斜視図である。
実施の形態2にかかる蓄電装置構造の一例を示す断面図である。
実施の形態3にかかる蓄電装置構造の一例を示す断面図である。
実施の形態4にかかる蓄電装置構造の一例を示す斜視図である。
実施の形態4にかかる蓄電装置構造の一例を示す断面図である。
実施の形態4にかかる蓄電装置構造の抑え構造の一例を示す斜視図である。
実施の形態5にかかる蓄電装置構造の一例を示す断面図である。
実施の形態5にかかる蓄電装置構造の一例を示す断面図である。
実施の形態5にかかる蓄電装置構造の一例を示す断面図である。
【発明を実施するための形態】
【0008】
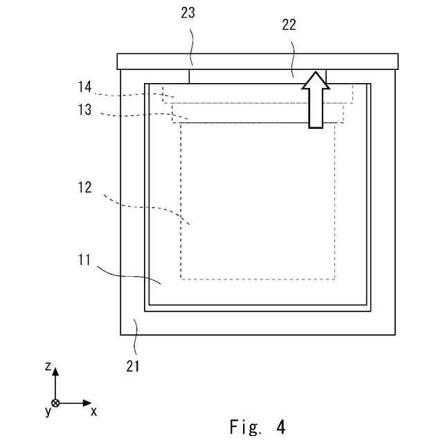
(実施の形態1)
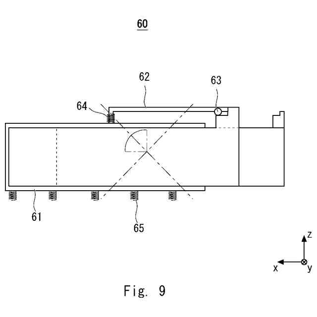
以下、図面を参照して本発明の実施の形態について説明する。図1は、実施の形態1にかかる蓄電装置構造の一例を示す断面図である。
【0009】
図1において、蓄電装置構造10は、着脱式電池パック11と、電池パック収容部21と、冷却板22と、冷却構造23を備える。着脱式電池パック11は、電池セル12と、熱伝導体13と、冷却板14を備える。
【0010】
電池セル12は、蓄電可能な電池セルである。
(【0011】以降は省略されています)
この特許をJ-PlatPat(特許庁公式サイト)で参照する
関連特許
トヨタ自動車株式会社
車両
1か月前
トヨタ自動車株式会社
車両
28日前
トヨタ自動車株式会社
車両
15日前
トヨタ自動車株式会社
配管
15日前
トヨタ自動車株式会社
電池
20日前
トヨタ自動車株式会社
電池
6日前
トヨタ自動車株式会社
車両
14日前
トヨタ自動車株式会社
電池
6日前
トヨタ自動車株式会社
方法
1か月前
トヨタ自動車株式会社
方法
28日前
トヨタ自動車株式会社
車体
28日前
トヨタ自動車株式会社
車両
28日前
トヨタ自動車株式会社
電池
14日前
トヨタ自動車株式会社
電池
29日前
トヨタ自動車株式会社
車両
今日
トヨタ自動車株式会社
車両
29日前
トヨタ自動車株式会社
治具
1か月前
トヨタ自動車株式会社
車両
1か月前
トヨタ自動車株式会社
車両
1か月前
トヨタ自動車株式会社
サーバ
1か月前
トヨタ自動車株式会社
電動車
15日前
トヨタ自動車株式会社
ロータ
15日前
トヨタ自動車株式会社
電動車
14日前
トヨタ自動車株式会社
モータ
27日前
トヨタ自動車株式会社
モータ
1か月前
トヨタ自動車株式会社
蓄電池
28日前
トヨタ自動車株式会社
蓄電装置
6日前
トヨタ自動車株式会社
蓄電装置
14日前
トヨタ自動車株式会社
制御装置
6日前
トヨタ自動車株式会社
制御装置
14日前
トヨタ自動車株式会社
処理装置
6日前
トヨタ自動車株式会社
エンジン
14日前
トヨタ自動車株式会社
蓄電装置
14日前
トヨタ自動車株式会社
蓄電装置
6日前
トヨタ自動車株式会社
蓄電装置
14日前
トヨタ自動車株式会社
蓄電装置
6日前
続きを見る
他の特許を見る