TOP
|
特許
|
意匠
|
商標
特許ウォッチ
Twitter
他の特許を見る
公開番号
2025162277
公報種別
公開特許公報(A)
公開日
2025-10-27
出願番号
2024065465
出願日
2024-04-15
発明の名称
モータ
出願人
トヨタ自動車株式会社
代理人
弁理士法人 快友国際特許事務所
主分類
H02K
9/19 20060101AFI20251020BHJP(電力の発電,変換,配電)
要約
【課題】 好適にガイドリングをステータコアに固定する。
【解決手段】 モータであって、ケース外壁部材とケース蓋部材とを有するケースと、前記ケース内に収容されているステータと、前記ケース内に収容されているガイドリング、を有する。前記ステータの前記第1端面が前記ケース蓋部材に対向している。前記ステータコアに巻回されたコイルが、前記第1端面に設けられた第1コイルエンドと前記第2端面に設けられた第2コイルエンドとを有する。前記ガイドリングが、前記ケース蓋部材と前記第1端面に挟まれて固定されている。前記ケース蓋部材に、冷却液供給流路が設けられている。前記ステータコアの内部に、前記第1端面から前記第2端面まで伸びるコア内冷却液流路が設けられている。前記ガイドリングに、前記冷却液供給流路と前記内部冷却液流路とを接続する接続冷却液流路が設けられている。
【選択図】図2
特許請求の範囲
【請求項1】
モータであって、
筒形状を有するケース外壁部材と、前記ケース外壁部材の端部に固定されているケース蓋部材とを有するケースと、
前記ケース内に収容されているステータと、
前記ケース内に収容されているガイドリング、
を有し、
前記ステータが、
筒形状を有し、第1端面と前記第1端面の反対側に位置する第2端面を有し、前記第1端面が前記ケース蓋部材に対向した状態で前記ケース外壁部材に固定されているステータコアと、
前記ステータコアに巻回されたコイルであって、前記第1端面に設けられた第1コイルエンドと前記第2端面に設けられた第2コイルエンドとを有する前記コイル、
を有し、
前記ガイドリングが、前記ケース蓋部材と前記第1端面に挟まれて固定されており、
前記ケース蓋部材に、冷却液供給流路が設けられており、
前記ステータコアの内部に、前記第1端面から前記第2端面まで伸びるコア内冷却液流路が設けられており、
前記ガイドリングに、前記冷却液供給流路と前記内部冷却液流路とを接続する接続冷却液流路が設けられている、
モータ。
発明の詳細な説明
【技術分野】
【0001】
本明細書に開示の技術は、モータに関する。
続きを表示(約 1,900 文字)
【0002】
特許文献1に開示のモータは、コア内冷却液流路が設けられたステータコアを有している。また、このモータでは、ステータコアに、リング状のカバー部材(以下、ガイドリングという)が取り付けられている。ガイドリングには、コア内冷却液流路に冷却液を供給する冷却液流路が設けられている。コア内冷却液流路に冷却液が流れることで、ステータコアが冷却される。
【先行技術文献】
【特許文献】
【0003】
特開2021-141703号公報
【発明の概要】
【発明が解決しようとする課題】
【0004】
特許文献1では、ステータコアにガイドリングを取り付けるための取り付け構造(凸部、係止部等)を設ける必要があり、ステータコアの形状が複雑化する。このため、モータを小型化することが困難である。本明細書では、より好適にガイドリングをステータコアに固定することが可能なモータの構造を提案する。
【課題を解決するための手段】
【0005】
本明細書が開示するモータは、筒形状を有するケース外壁部材と前記ケース外壁部材の端部に固定されているケース蓋部材とを有するケースと、前記ケース内に収容されているステータと、前記ケース内に収容されているガイドリング、を有する。前記ステータが、ステータコアとコイルを有する。前記ステータコアは、筒形状を有し、第1端面と前記第1端面の反対側に位置する第2端面を有し、前記第1端面が前記ケース蓋部材に対向した状態で前記ケース外壁部材に固定されている。前記コイルは、前記ステータコアに巻回されている。前記コイルは、前記第1端面に設けられた第1コイルエンドと前記第2端面に設けられた第2コイルエンドとを有する。前記ガイドリングが、前記ケース蓋部材と前記第1端面に挟まれて固定されている。前記ケース蓋部材に、冷却液供給流路が設けられている。前記ステータコアの内部に、前記第1端面から前記第2端面まで伸びるコア内冷却液流路が設けられている。前記ガイドリングに、前記冷却液供給流路と前記内部冷却液流路とを接続する接続冷却液流路が設けられている。
【0006】
このモータでは、ガイドリングがケース蓋部材とステータコアの第1端面に挟まれて固定されている。このため、ステータコアの構造を単純化でき、モータを小型化できる。
【図面の簡単な説明】
【0007】
実施例1のモータの分解斜視図。
実施例1のモータの断面図。
実施例2(図3a)と実施例3(図3b)のモータの断面図。
【発明を実施するための形態】
【実施例】
【0008】
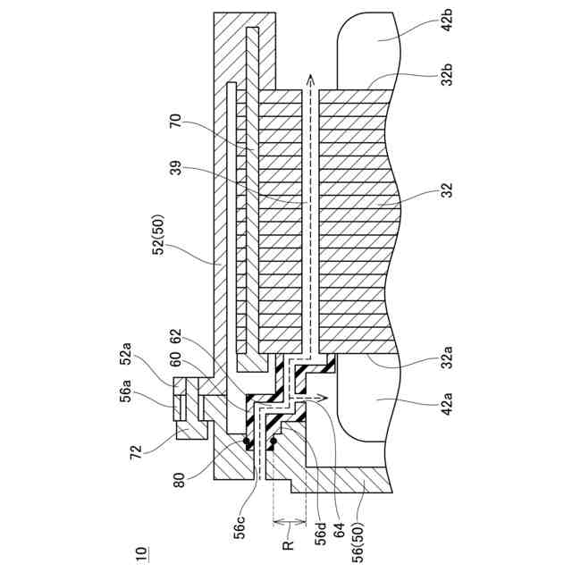
図1に示す実施例1のモータ10は、ロータ20、ステータ30、ガイドリング60及びケース50を有している。ロータ20のシャフト24の中心軸がステータ30の中心軸AXと一致するように、ロータ20がステータ30の中心孔内に配置されている。以下では、モータ軸(すなわち、中心軸AX)に平行な方向を軸方向といい、モータ軸を中心とする円に沿う方向を周方向といい、この円の半径に沿う方向を径方向という。ケース50は、ケース外壁部材52とケース蓋部材56を有している。ケース外壁部材52は、筒形状を有している。ケース外壁部材52の一方の端部に、フランジ部52aが設けられている。ケース蓋部材56は、円盤形状を有している。ケース蓋部材56の外周部に、フランジ部56aが設けられている。図2に示すように、ケース蓋部材56のフランジ部56aは、ボルト72によってケース外壁部材52のフランジ部52aに締結されている。ケース蓋部材56は、ケース外壁部材52の一方の端部を覆っている。図1、2に示すように、ケース50の内部に、ロータ20、ステータ30及びガイドリング60が収容されている。
【0009】
ケース50の内部には、冷却液が貯留されている。本実施形態では、冷却液は、オイルである。オイルは、冷却液として機能するとともに、モータ10の各部を潤滑する潤滑油として機能する。図2に示すように、ケース蓋部材56には、冷却液供給流路56cが設けられている。冷却液供給流路56cは、ケース蓋部材56を貫通している。モータ10の動作中に、ケース50内に貯留されている冷却液が、図示しないポンプによって冷却液供給流路56cへ送られる。
【0010】
ステータ30は、ステータコア32とコイル40を有している。コイル40は、ステータコア32に巻回されている。
(【0011】以降は省略されています)
この特許をJ-PlatPat(特許庁公式サイト)で参照する
関連特許
トヨタ自動車株式会社
方法
16日前
トヨタ自動車株式会社
電池
17日前
トヨタ自動車株式会社
電池
8日前
トヨタ自動車株式会社
車両
3日前
トヨタ自動車株式会社
配管
3日前
トヨタ自動車株式会社
車両
16日前
トヨタ自動車株式会社
車両
17日前
トヨタ自動車株式会社
車両
16日前
トヨタ自動車株式会社
車両
2日前
トヨタ自動車株式会社
電池
2日前
トヨタ自動車株式会社
車体
16日前
トヨタ自動車株式会社
電動車
2日前
トヨタ自動車株式会社
ロータ
3日前
トヨタ自動車株式会社
電動車
3日前
トヨタ自動車株式会社
蓄電池
16日前
トヨタ自動車株式会社
モータ
15日前
トヨタ自動車株式会社
制御装置
3日前
トヨタ自動車株式会社
学習装置
2日前
トヨタ自動車株式会社
路側装置
15日前
トヨタ自動車株式会社
製造設備
8日前
トヨタ自動車株式会社
監視装置
8日前
トヨタ自動車株式会社
樹脂外板
16日前
トヨタ自動車株式会社
濾過装置
17日前
トヨタ自動車株式会社
推定装置
15日前
トヨタ自動車株式会社
エンジン
3日前
トヨタ自動車株式会社
制御装置
15日前
トヨタ自動車株式会社
制御装置
2日前
トヨタ自動車株式会社
コネクタ
2日前
トヨタ自動車株式会社
電動車両
15日前
トヨタ自動車株式会社
電動車両
16日前
トヨタ自動車株式会社
蓄電セル
10日前
トヨタ自動車株式会社
路側装置
15日前
トヨタ自動車株式会社
判定装置
2日前
トヨタ自動車株式会社
制御装置
15日前
トヨタ自動車株式会社
蓄電装置
15日前
トヨタ自動車株式会社
制御装置
2日前
続きを見る
他の特許を見る