TOP
|
特許
|
意匠
|
商標
特許ウォッチ
Twitter
他の特許を見る
公開番号
2025167645
公報種別
公開特許公報(A)
公開日
2025-11-07
出願番号
2024072473
出願日
2024-04-26
発明の名称
蓄電装置
出願人
トヨタ自動車株式会社
代理人
弁理士法人深見特許事務所
主分類
H01M
50/242 20210101AFI20251030BHJP(基本的電気素子)
要約
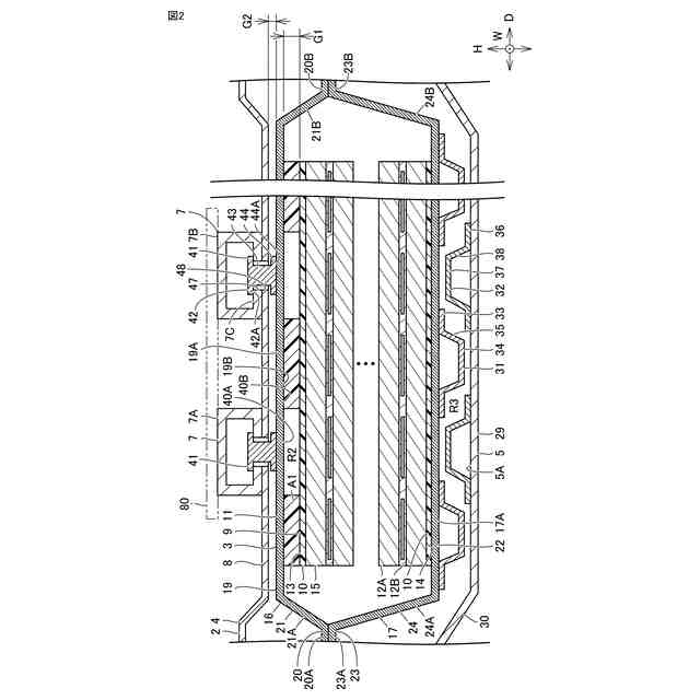
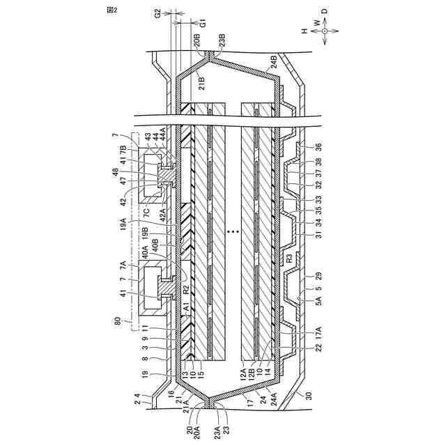
【課題】積層体の上下方向の膨張によって、蓄電装置が受ける上下方向の負荷を抑制することができる蓄電装置を提供する。
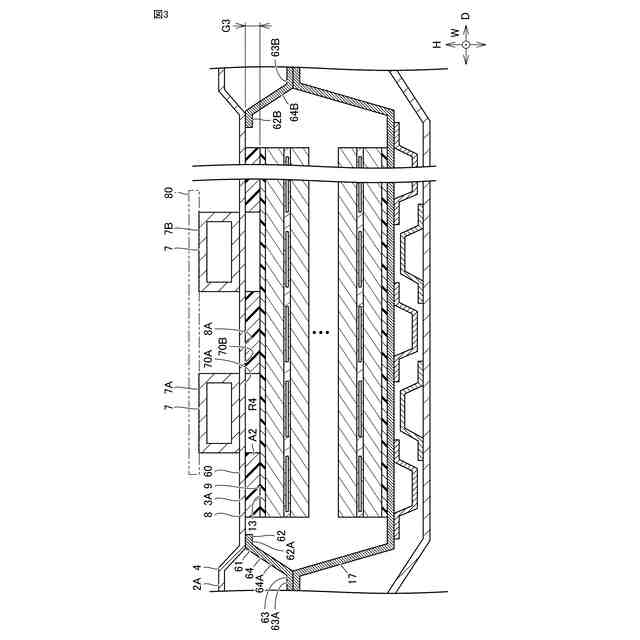
【解決手段】蓄電装置3は車両1に搭載される。車両1は、支持部材7を備え、蓄電装置3は、上下方向Hに蓄電モジュール12Aが積層されることによって形成された積層体9と、積層体9を収容する収容ケース11とを備える。収容ケース11は、積層体9の上面13を覆うように形成されるとともに支持部材7の下方であって、収容ケース11の上面に位置する板状部材19を含む。積層体9は、板状部材19と、板状部材19のうち上下方向Hにおいて支持部材7と対応する領域40Aを除いた領域40Bにおいて、接着されている。
【選択図】図2
特許請求の範囲
【請求項1】
車両に搭載される蓄電装置であって、
前記車両は、前記蓄電装置の上方に位置する支持部材を備え、
前記蓄電装置は、上下方向に蓄電モジュールが積層されることによって形成された積層体と、前記積層体を収容する収容ケースとを備え、
前記収容ケースは、前記積層体の上面を覆うように形成されるとともに前記支持部材の下方であって、前記収容ケースの上面に位置する板状部材を含み、
前記積層体は、前記板状部材と、前記板状部材のうち前記上下方向において前記支持部材と対応する領域を除いた領域において、接着されている、蓄電装置。
続きを表示(約 440 文字)
【請求項2】
前記車両内には、乗員が搭乗する車室空間が形成されており、
前記板状部材によって、前記車室空間と車外空間とが区画されている、請求項1に記載の蓄電装置。
【請求項3】
前記車両は、さらに、フロア部材を備え、
前記フロア部材は、前記支持部材の下方に位置し、
前記収容ケースは、さらに、アッパーカバーとロアケースとを含み、
前記アッパーカバーは、前記板状部材を含む、請求項1に記載の蓄電装置。
【請求項4】
前記フロア部材と、前記板状部材とは,間隔を空けて前記上下方向に配列している、請求項3に記載の蓄電装置。
【請求項5】
前記支持部材と、前記フロア部材と、前記板状部材とは、前記上下方向において、連結部材により固定されており、
前記上下方向における前記板状部材と前記積層体との間隔は、前記上下方向における前記フロア部材と前記板状部材との間隔よりも広い、請求項4に記載の蓄電装置。
発明の詳細な説明
【技術分野】
【0001】
本開示は、蓄電装置に関する。
続きを表示(約 1,100 文字)
【背景技術】
【0002】
例えば、特開2021-123227号公報には、車両下部に搭載される蓄電装置が開示されている。蓄電装置は、収容ケースと収容ケースに収容される積層体を備える。積層体と収容ケースとは、上下方向において、接着されている。
【先行技術文献】
【特許文献】
【0003】
特開2021-123227号公報
【発明の概要】
【発明が解決しようとする課題】
【0004】
特許文献1に記載した蓄電装置の収容ケースは、上方および下方から車体構造によって拘束されている。このため、上下方向に積層された蓄電モジュールから形成される積層体が上下方向に膨張すると、蓄電装置は車体構造から上下方向の負荷をうける。
【0005】
本開示は、上記課題を解決するためになされたものであり、その目的は、積層体の上下方向の膨張によって、蓄電装置が受ける上下方向の負荷を抑制することができる蓄電装置を提供することである。
【課題を解決するための手段】
【0006】
本開示の第1の局面に係る蓄電装置は、車両に搭載される蓄電装置であって、車両は、支持部材を備え、蓄電装置は、上下方向に蓄電モジュールが積層されることによって形成された積層体と、積層体を収容する収容ケースとを備え、収容ケースは、積層体の上面を覆うように形成されるとともに支持部材の下方であって、収容ケースの上面に位置する板状部材を含み、積層体は、板状部材と、板状部材のうち上下方向において支持部材と対応する領域を除いた領域において、接着されている。
【0007】
本開示の第1の局面に係る蓄電装置が搭載される車両の車両内には、乗員が搭乗する車室空間が形成されており、板状部材によって、車室空間と車外空間とが区画されている。
【0008】
本開示の第1の局面に係る蓄電装置が搭載される車両は、さらに、フロア部材を備え、フロア部材は、支持部材の下方に位置し、収容ケースは、さらに、アッパーカバーとロアケースとを含み、アッパーカバーは、板状部材を含む。
【0009】
本開示の第1の局面に係る蓄電装置が搭載される車両のフロア部材と、板状部材とは,間隔を空けて上下方向に配列している。
【0010】
本開示の第1の局面に係る蓄電装置が搭載される車両の支持部材と、フロアパネルと、板状部材とは、上下方向において、連結部材により固定されており、上下方向における板状部材と積層体との間隔は、上下方向におけるフロア部材と板状部材との間隔よりも広い。
【発明の効果】
(【0011】以降は省略されています)
この特許をJ-PlatPat(特許庁公式サイト)で参照する
関連特許
トヨタ自動車株式会社
車両
1か月前
トヨタ自動車株式会社
方法
23日前
トヨタ自動車株式会社
治具
1か月前
トヨタ自動車株式会社
配管
10日前
トヨタ自動車株式会社
車両
1か月前
トヨタ自動車株式会社
電池
1日前
トヨタ自動車株式会社
電池
1日前
トヨタ自動車株式会社
電池
9日前
トヨタ自動車株式会社
電池
15日前
トヨタ自動車株式会社
方法
1か月前
トヨタ自動車株式会社
電池
1か月前
トヨタ自動車株式会社
車両
9日前
トヨタ自動車株式会社
車両
10日前
トヨタ自動車株式会社
車両
23日前
トヨタ自動車株式会社
車両
23日前
トヨタ自動車株式会社
車両
24日前
トヨタ自動車株式会社
電池
24日前
トヨタ自動車株式会社
車両
1か月前
トヨタ自動車株式会社
車体
23日前
トヨタ自動車株式会社
ロータ
10日前
トヨタ自動車株式会社
モータ
1か月前
トヨタ自動車株式会社
サーバ
1か月前
トヨタ自動車株式会社
蓄電池
23日前
トヨタ自動車株式会社
電動車
10日前
トヨタ自動車株式会社
モータ
22日前
トヨタ自動車株式会社
電動車
9日前
トヨタ自動車株式会社
固体電池
1か月前
トヨタ自動車株式会社
蓄電装置
1日前
トヨタ自動車株式会社
制御装置
10日前
トヨタ自動車株式会社
学習装置
9日前
トヨタ自動車株式会社
塗工装置
1か月前
トヨタ自動車株式会社
蓄電装置
1日前
トヨタ自動車株式会社
判定装置
9日前
トヨタ自動車株式会社
蓄電装置
1日前
トヨタ自動車株式会社
コネクタ
9日前
トヨタ自動車株式会社
制御装置
9日前
続きを見る
他の特許を見る