TOP
|
特許
|
意匠
|
商標
特許ウォッチ
Twitter
他の特許を見る
公開番号
2025161563
公報種別
公開特許公報(A)
公開日
2025-10-24
出願番号
2024064861
出願日
2024-04-12
発明の名称
塗工装置
出願人
トヨタ自動車株式会社
代理人
個人
,
個人
,
個人
,
個人
,
個人
,
個人
主分類
B05C
1/02 20060101AFI20251017BHJP(霧化または噴霧一般;液体または他の流動性材料の表面への適用一般)
要約
【課題】本開示は、塗工液貯めの塗工液面と略垂直である塗工面に、塗工液を塗工することができる塗工装置を提供することを目的とする。
【解決手段】本開示の塗工装置は、塗工液提供ローラー200を有し、塗工液提供ローラー200が、円錐形の底面の中心と頂点を結ぶ直線を回転軸とする上記円錐形状又はその一部の形であり、かつ塗工液提供ローラー200を上記の回転軸の周りに回転させたときに、塗工液提供ローラー200の側面が、塗工液溜め100の塗工液110、及び被塗工物300の塗工面300a又は塗工ローラー210に接触して、塗工面300aに塗工液110を塗工するようにされている。
【選択図】図1
特許請求の範囲
【請求項1】
塗工液提供ローラーを有する、塗工装置であって、
前記塗工液提供ローラーが、円錐形の底面の中心と頂点を結ぶ直線を回転軸とする前記円錐形状又はその一部の形であり、かつ
前記塗工液提供ローラーを前記回転軸の周りに回転させたときに、前記塗工液提供ローラーの側面が、塗工液溜めの塗工液、及び被塗工物の塗工面又は塗工ローラーに接触して、前記塗工面に塗工液を塗工するようにされている、
塗工装置。
発明の詳細な説明
【技術分野】
【0001】
本開示は、塗工装置、特に被塗工物の側面を塗工する塗工装置に関する。
続きを表示(約 1,400 文字)
【背景技術】
【0002】
被塗工物を塗工する方法として、塗工液貯めと被塗工物の塗工面の両方に接触する塗工ローラーが回転することで、被塗工物の塗工面に塗工液を提供する方法が知られている。
【0003】
例えば、特許文献1には、凹版ピックアップロールに付帯するブレード機構であって、ブレードの幅方向に亘り、その先端部の下部から塗工剤溜め中の塗工剤液面下に達する塗工剤ガイド板が設けられてなり、前記塗工剤ガイド板が、前記凹版ピックアップロールの回転により前記塗工剤溜め中の塗工剤をピックアップして前記凹版ピックアップロールと前記塗工剤ガイド板との間を液密状態に保ち、前記ブレードによって掻き落とされた余分な塗工剤が前記凹版ピックアップロールと前記塗工剤ガイド板との間に返送される機能を有することを特徴とする凹版ピックアップロール用ブレード機構が開示されている。特許文献1の機構によれば、被塗工体に連続的に安定して均一で精度の高い定量塗工ができるとされている。
【先行技術文献】
【特許文献】
【0004】
特開2003―320294号公報
【発明の概要】
【発明が解決しようとする課題】
【0005】
上記に示すような従来の塗工方法では、例えば、被塗工物の側面を塗工する場合に、塗工面が下側を向くようにする塗工物の姿勢の調整や、塗工物の搬送方向の変更の必要がある。これによって、被塗工物の搬送装置が煩雑化、及び大型化するおそれがあるため、改善が求められる。
【課題を解決するための手段】
【0006】
本開示は、以下の手順によって上記目的を達成するものである。
【0007】
塗工液提供ローラーを有する、塗工装置であって、
前記塗工液提供ローラーが、円錐形の底面の中心と頂点を結ぶ直線を回転軸とする前記円錐形状又はその一部の形であり、かつ
前記塗工液提供ローラーを前記回転軸の周りに回転させたときに、前記塗工液提供ローラーの側面が、塗工液溜めの塗工液、及び被塗工物の塗工面又は塗工ローラーに接触して、前記塗工面に塗工液を塗工するようにされている、
塗工装置。
【発明の効果】
【0008】
本開示の方法によれば、上記の課題を解決すること、特に塗工液貯めの塗工液面と略垂直である塗工面にも、塗工液を塗工することができる。
【図面の簡単な説明】
【0009】
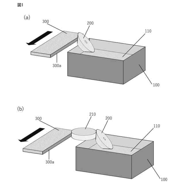
図1は、本開示の塗工装置を説明するための概略図である。
図2は、従来技術における、被塗工物の搬送方向を説明するための概略図である。
図3は、従来技術における塗工装置において、塗工物の側面を塗工する工程を説明するための概略図である。
図4は、従来技術における塗工装置において、塗工物の側面を塗工する工程を説明するための概略図である。
【発明を実施するための形態】
【0010】
本開示の塗工装置は、塗工液提供ローラーを有し、
塗工液提供ローラーが、円錐形の底面の中心と頂点を結ぶ直線を回転軸とする円錐形状又はその一部の形であり、かつ
塗工液提供ローラーを回転軸の周りに回転させたときに、塗工液提供ローラーの側面が、塗工液溜めの塗工液、及び被塗工物の塗工面又は塗工ローラーに接触して、前記塗工面に塗工液を塗工するようにされている。
(【0011】以降は省略されています)
この特許をJ-PlatPat(特許庁公式サイト)で参照する
関連特許
個人
微細霧発生装置
12日前
ベック株式会社
被膜形成方法
7日前
ベック株式会社
被膜形成方法
7日前
ベック株式会社
被膜形成方法
7日前
ベック株式会社
被膜形成方法
7日前
ベック株式会社
被膜形成方法
1か月前
ベック株式会社
被膜形成方法
7日前
有限会社 芦屋ドレス
湯噴霧器
28日前
株式会社吉野工業所
キャップ
4か月前
アイカ工業株式会社
塗料仕上げ工法
2か月前
ベック株式会社
装飾被膜の形成方法
3か月前
スズカファイン株式会社
多色性塗膜
1か月前
日本ライナー株式会社
塗装装置
2か月前
プルガティオ株式会社
噴霧装置
4か月前
プルガティオ株式会社
噴霧装置
4か月前
能美防災株式会社
水噴霧ヘッド
1か月前
個人
スプレー缶高所対応携帯ホルダー
2か月前
トヨタ自動車株式会社
塗布装置
1か月前
プルガティオ株式会社
噴霧装置
4か月前
株式会社カネカ
塗布装置
1か月前
ヒット工業株式会社
マスキング具
3か月前
中外炉工業株式会社
塗工装置
3か月前
株式会社吉野工業所
ポンプ式吐出器
4か月前
東レエンジニアリング株式会社
スリットダイ
1か月前
東レエンジニアリング株式会社
粉体吐出装置
1か月前
ブラザー工業株式会社
塗工装置
1か月前
ブラザー工業株式会社
塗工装置
1か月前
ブラザー工業株式会社
塗工装置
1か月前
旭サナック株式会社
粉体塗装装置
2か月前
株式会社吉野工業所
吐出器
4か月前
株式会社吉野工業所
吐出器
4か月前
株式会社トーモク
印刷装置および印刷方法
2か月前
トヨタ自動車株式会社
間欠塗工装置
22日前
ブラザー工業株式会社
静電塗工装置
1か月前
トリニティ工業株式会社
回転霧化式塗装機
1か月前
三菱鉛筆株式会社
多液混合型塗布具
3か月前
続きを見る
他の特許を見る