TOP
|
特許
|
意匠
|
商標
特許ウォッチ
Twitter
他の特許を見る
公開番号
2025153097
公報種別
公開特許公報(A)
公開日
2025-10-10
出願番号
2024055389
出願日
2024-03-29
発明の名称
塗工装置
出願人
ブラザー工業株式会社
代理人
個人
,
個人
主分類
B05C
5/00 20060101AFI20251002BHJP(霧化または噴霧一般;液体または他の流動性材料の表面への適用一般)
要約
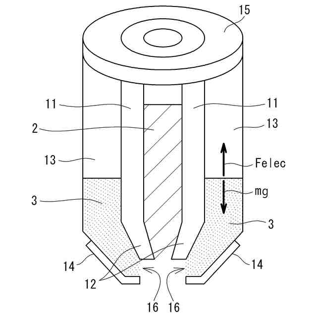
【課題】ノズルの乾燥を防止し、ノズル内の液体の固化によるノズルの詰まりを好適に防止する。
【解決手段】静電塗工装置1は、インク2が吐出されるノズル12を先端に有する液体吐出部としてのシリンジ11と、ノズル12の近傍に乾燥防止用の湿潤剤3を保持するための静電力を発生させる静電力発生回路25と、を備えている。静電力発生回路25は、静電力の発生の有無、または静電力の大きさを制御することにより、湿潤剤3の存在位置を制御する。
【選択図】図1
特許請求の範囲
【請求項1】
第1液体が吐出されるノズルを有する液体吐出部と、
上記ノズルの近傍に乾燥防止用の第2液体を保持するための静電力を発生させる静電力発生回路と、を備えた塗工装置。
続きを表示(約 650 文字)
【請求項2】
上記静電力発生回路は、上記静電力の発生の有無、または上記静電力の大きさを制御することにより、上記第2液体の存在位置を制御する請求項1に記載の塗工装置。
【請求項3】
上記液体吐出部は、先端に上記ノズルを有するシリンジであり、
上記シリンジの周囲に位置し、先端に開口を有し、上記第2液体を収容する液体収容部をさらに備え、
上記静電力発生回路は、上記液体収容部の先端部と後端部との間に電圧を印加することにより、上記ノズルの周囲に上記第2液体を保持させる請求項1または2に記載の塗工装置。
【請求項4】
上記液体吐出部は、第1面に、上記ノズルと、上記第1液体が吐出される別のノズルとを有するヘッドであり、
上記静電力発生回路は、上記ヘッドの上記第1面に位置する第1電極と、上記ヘッドの上記第1面の反対の面である第2面に位置する第2電極との間に電圧を印加し、
上記静電力発生回路は、上記ノズルおよび上記別のノズルのいずれからも上記第1液体を吐出させないときには、上記第2液体が上記ノズル内に入る電圧を上記第1電極と上記第2電極との間に印加し、上記ノズルおよび上記別のノズルのいずれかから上記第1液体を吐出させるときには、上記第2液体が上記ノズル内に入らない電圧を上記第1電極と上記第2電極との間に印加する請求項1または2に記載の塗工装置。
【請求項5】
上記第2液体は、油である請求項1または2に記載の塗工装置。
発明の詳細な説明
【技術分野】
【0001】
本発明は、塗工装置に関する。
続きを表示(約 1,200 文字)
【背景技術】
【0002】
静電塗工装置は、先端にノズルを有するシリンジと塗工先に位置する対向電極との間に電圧を印加し、帯電した液体を塗工先に引きつけることにより塗工を行う。静電塗工装置などの塗工装置では、ノズル内の液体が乾燥によって固化し、ノズルが詰まることを防止する必要がある。
【0003】
ノズルの詰まり防止に関して、特許文献1には、液体噴射部(インクジェットヘッド)をキャッピングする液体噴射装置が記載されている。特許文献1に記載の液体噴射装置は、第1液体をノズルから噴射可能な液体噴射部と、液体噴射部のメンテナンスを目的としてノズルから排出される第1液体を、第2液体を貯留した状態で受容可能な液体受容部とを備えている。液体受容部は、リップ部を有し、リップ部が液体噴射部に接触してノズルを含む空間をキャッピング可能である。
【先行技術文献】
【特許文献】
【0004】
特許第7415565号
【発明の概要】
【発明が解決しようとする課題】
【0005】
特許文献1に記載の液体噴射装置では、液体噴射部に蓋をすることにより、ノズルの乾燥を防止し、ノズル内の液体の固化によるノズルの詰まりを防止する方法が採用されている。これとは別に、ノズル周辺に霧状の水蒸気を発生させることにより、ノズルの乾燥を防止し、ノズル内の液体の固化によるノズルの詰まりを防止する方法が知られている。
【0006】
しかしながら、前者の方法には、液体噴射部に蓋をする機構が必要となる。また、この方法では、ノズルの乾燥を完全には防止できない。後者の方法では、発生させた水蒸気が乾燥を防止する必要がない箇所にも掛かり、当該箇所が水浸しになることが問題となる。
【0007】
本発明は、上記の事情に鑑みてなされたものであり、ノズルの乾燥を防止し、ノズル内の液体の固化によるノズルの詰まりを好適に防止できる手段を提供することである。
【課題を解決するための手段】
【0008】
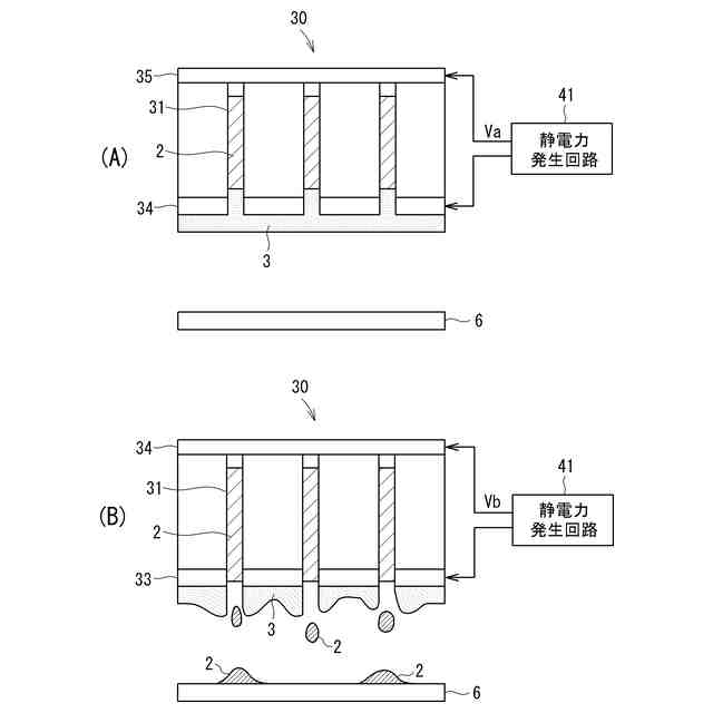
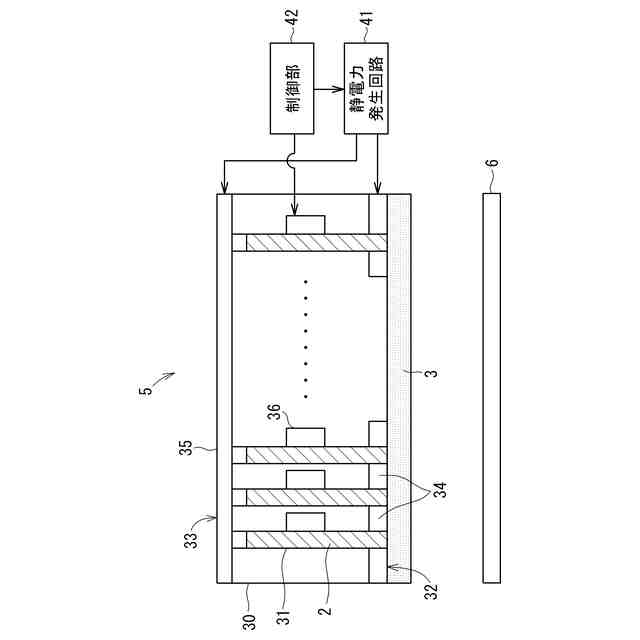
(1) 本発明の塗工装置は、第1液体が吐出されるノズルを有する液体吐出部と、上記ノズルの近傍に乾燥防止用の第2液体を保持するための静電力を発生させる静電力発生回路と、を備えている。
【0009】
上記の塗工装置によれば、静電力発生回路により静電力を発生させて、ノズルの近傍に第2液体を保持させることにより、ノズル内の第1液体の固化によるノズルの詰まりを好適に防止できる。
【0010】
(2) 好ましくは、上記静電力発生回路は、上記静電力の発生の有無、または上記静電力の大きさを制御することにより、上記第2液体の存在位置を制御してもよい。
(【0011】以降は省略されています)
この特許をJ-PlatPat(特許庁公式サイト)で参照する
関連特許
ブラザー工業株式会社
スキャナ
23日前
ブラザー工業株式会社
電子機器
2日前
ブラザー工業株式会社
スキャナ
23日前
ブラザー工業株式会社
印刷装置
20日前
ブラザー工業株式会社
印刷装置
8日前
ブラザー工業株式会社
画像形成装置
7日前
ブラザー工業株式会社
画像形成装置
7日前
ブラザー工業株式会社
画像形成装置
7日前
ブラザー工業株式会社
画像形成装置
7日前
ブラザー工業株式会社
画像形成装置
23日前
ブラザー工業株式会社
シート給送装置
1日前
ブラザー工業株式会社
サポートプログラム
7日前
ブラザー工業株式会社
サポートプログラム
7日前
ブラザー工業株式会社
プリンタおよびプログラム
9日前
ブラザー工業株式会社
プリンタおよびプログラム
9日前
ブラザー工業株式会社
インクジェット記録方法及び印刷物
22日前
ブラザー工業株式会社
画像形成装置、画像形成システム、消耗品
23日前
ブラザー工業株式会社
プログラム、データ処理装置、および、データ処理方法
9日前
ブラザー工業株式会社
プリンタ
22日前
ブラザー工業株式会社
カセット
23日前
ブラザー工業株式会社
通信システム、サーバ、および、コンピュータプログラム
7日前
ブラザー工業株式会社
画像形成装置
13日前
ブラザー工業株式会社
ラベル巻付装置
23日前
ブラザー工業株式会社
情報処理プログラム、情報処理装置、情報処理方法、印刷プログラム、印刷装置、及び印刷方法
9日前
ブラザー工業株式会社
記録装置、記録装置用消耗品、及び情報処理方法
23日前
ベック株式会社
被膜形成方法
1か月前
有限会社 芦屋ドレス
湯噴霧器
15日前
ベック株式会社
装飾被膜の形成方法
3か月前
株式会社吉野工業所
キャップ
4か月前
スズカファイン株式会社
多色性塗膜
1か月前
アイカ工業株式会社
塗料仕上げ工法
1か月前
プルガティオ株式会社
噴霧装置
4か月前
トヨタ自動車株式会社
塗布装置
1か月前
株式会社カネカ
塗布装置
1か月前
個人
スプレー缶高所対応携帯ホルダー
1か月前
プルガティオ株式会社
噴霧装置
4か月前
続きを見る
他の特許を見る