TOP
|
特許
|
意匠
|
商標
特許ウォッチ
Twitter
他の特許を見る
10個以上の画像は省略されています。
公開番号
2025173839
公報種別
公開特許公報(A)
公開日
2025-11-28
出願番号
2024079642
出願日
2024-05-15
発明の名称
液体吐出装置
出願人
ブラザー工業株式会社
代理人
弁理士法人有古特許事務所
主分類
B41J
2/01 20060101AFI20251120BHJP(印刷;線画機;タイプライター;スタンプ)
要約
【課題】 特大玉の液滴を吐出して印刷する場合の光学濃度の低下を抑制することのできる液体吐出装置を提供する。
【解決手段】 液体吐出装置1は、吐出ヘッド10と移動装置18と制御装置30とを備え、制御装置30は、第1印刷データによる印刷画像に、第2ドットD2が第2方向に連続して配置される連続ドット画像B1を含む場合には、連続ドット画像B1を形成する一方の第2液滴の着弾位置および他方の第2液滴の着弾位置が、第1印刷データよりも第1方向に離れるように配置された第2印刷データを、画像データに基づいて生成する。
【選択図】 図3
特許請求の範囲
【請求項1】
液滴を被印刷媒体に吐出する複数のノズルが開口するノズル面を有するヘッドと、
前記ヘッドを前記被印刷媒体に対して相対的に第1方向へ移動させる移動装置と、
制御装置と、を備え、
前記制御装置は、
前記ノズルから吐出する液滴の種類として所定の第1液滴および前記第1液滴よりも吐出方向寸法が長く容量が大きい第2液滴のうち少なくとも前記第2液滴を指定する情報を含む第1印刷データにより印刷した場合に形成される被印刷媒体上の画像に、前記第2液滴が着弾して形成される前記第1方向に長寸のドットが前記第1方向に交差する第2方向に連続して配置される連続ドット画像を含む場合には、前記連続ドット画像を形成する一方の前記第2液滴の被印刷媒体上の着弾位置、および、他方の前記第2液滴の被印刷媒体上の着弾位置が、前記第1印刷データよりも前記第1方向に離れるように配置された第2印刷データを、画像データに基づいて生成する生成処理と、
前記移動装置により前記ヘッドおよび前記被印刷媒体を相対移動させながら、前記第2印刷データに基づいて前記ヘッドの前記ノズルから液滴を吐出させて前記被印刷媒体上に画像を形成する印刷処理と、
を実行する、液体吐出装置。
続きを表示(約 850 文字)
【請求項2】
前記ヘッドは、前記ノズルに連通する個別チャネルと、周期的な波形の吐出信号により駆動して前記個別チャネル内の液体に前記ノズルから吐出するための圧力を付与するアクチュエータと、を有し、
前記第1液滴は、前記吐出信号の1周期分の波形により形成される1つの液滴であり、
前記第2液滴は、前記吐出信号の2周期分以上の波形により形成される1つの液滴である、
請求項1に記載の液体吐出装置。
【請求項3】
前記制御装置は、
前記第1印刷データにおいて、画像の前記第1方向の端部に前記第2液滴が位置している場合には、当該第2液滴を複数の前記第1液滴に置換する第1置換処理、を実行する、
請求項1に記載の液体吐出装置。
【請求項4】
前記制御装置は、
前記第1印刷データにおいて、画像の前記第1方向に沿って、連続する2つの第1液滴と1つの第2液滴とが隣接して位置する第1配置が存在する場合には、前記第1配置を、連続する2つの第1液滴の間に1つの第2液滴が位置する第2配置に置換する第2置換処理、を実行する、
請求項1に記載の液体吐出装置。
【請求項5】
前記生成処理は、
前記画像データに基づき、前記第1液滴の指定を含み前記第2液滴の指定を含まないハーフトーンデータを生成するハーフトーン処理と、
前記ハーフトーンデータに基づき、少なくとも一部の前記第1液滴の指定を前記第2液滴の指定に置換することで、前記第1印刷データを生成する第1データ生成処理と、
を含む、
請求項1に記載の液体吐出装置。
【請求項6】
前記ヘッドの温度を検出する温度センサを更に備え、
前記制御装置は、
前記第1データ生成処理において、前記ヘッドの温度に応じて第1液滴の指定から第2液滴の指定への置換率を変更する、
請求項5に記載の液体吐出装置。
発明の詳細な説明
【技術分野】
【0001】
本開示は、液体を吐出する液体吐出装置に関する。
続きを表示(約 2,000 文字)
【背景技術】
【0002】
従来、例えば特許文献1に記載されたような液体吐出装置が知られている。この液体吐出装置は、2周期分の波形(特許文献1の図10の波形5および波形6)により、通常の大玉の液滴よりさらに大きい液滴(以下、特大玉の液滴)を吐出することが記載されている。
【先行技術文献】
【特許文献】
【0003】
特開2005-279998号公報
【発明の概要】
【発明が解決しようとする課題】
【0004】
ところで、このような特大玉の液滴は大玉に比べて飛翔中の形状が吐出方向に長寸になる。そして、ヘッドと被印刷媒体とが相対移動しつつ、ヘッドから吐出された液滴が被印刷媒体上に着弾するので、被印刷媒体上に形成されるドット形状が長尺になる。ここで、被印刷媒体上の長尺ドットがこのドットの長手方向に直交する短手方向に並ぶと、長尺ドットの端部付近には、隣接する長尺ドット間に液滴がない空隙が生じ得る。このような空隙が存在すると、被印刷媒体に対する液体の被覆率が低下し、光学濃度(OD値)の低下が生じる。
【0005】
そこで本開示は、特大玉の液滴を吐出して印刷する場合の光学濃度の低下を抑制することのできる液体吐出装置を提供することを目的とする。
【課題を解決するための手段】
【0006】
本開示の第1の態様に係る液体吐出装置は、液滴を被印刷媒体に吐出する複数のノズルが開口するノズル面を有するヘッドと、前記ヘッドを前記被印刷媒体に対して相対的に第1方向へ移動させる移動装置と、制御装置と、を備え、前記制御装置は、前記ノズルから吐出する液滴の種類として所定の第1液滴および前記第1液滴よりも吐出方向寸法が長く容量が大きい第2液滴のうち少なくとも前記第2液滴を指定する情報を含む第1印刷データにより印刷した場合に形成される被印刷媒体上の画像に、前記第2液滴が着弾して形成される前記第1方向に長寸のドットが前記第1方向に交差する第2方向に連続して配置される連続ドット画像を含む場合には、前記連続ドット画像を形成する一方の前記第2液滴の被印刷媒体上の着弾位置、および、他方の前記第2液滴の被印刷媒体上の着弾位置が、前記第1印刷データよりも前記第1方向に離れるように配置された第2印刷データを、画像データに基づいて生成する生成処理と、前記移動装置により前記ヘッドおよび前記被印刷媒体を相対移動させながら、前記第2印刷データに基づいて前記ヘッドの前記ノズルから液滴を吐出させて前記被印刷媒体上に画像を形成する印刷処理と、を実行する。
【発明の効果】
【0007】
本開示に係る液体吐出装置によれば、短手方向である第2方向に並ぶ長尺ドットの相対位置を長手方向である第1方向にずらせるため、端部付近における光学濃度の低下を抑制することができる。
【図面の簡単な説明】
【0008】
図1は、本開示に係る液体吐出装置の模式図である。
図2は、吐出ヘッドの構成を示す模式的な断面図である。
図3は、液体吐出装置の機能的構成を示すブロック図である。
図4は、インクから成る様々の液滴を吐出するためにアクチュエータに入力される吐出信号の例を示す模式図である。
図5は、液体吐出装置の動作例の概要を示すフローチャートである。
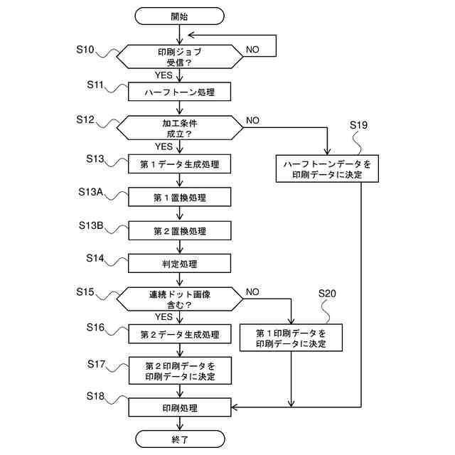
図6は、図5の動作例の内容をより詳しく示すフローチャートである。
図7は、図6に示す動作を説明するための模式図であり、各処理で生成される印刷データを用いて印刷した場合の被印刷媒体上のドットを示している。
図8は、他の動作例の内容を示すフローチャートである。
図9は、図8に示す動作を説明するための模式図であり、各処理で生成される印刷データを用いて印刷した場合の被印刷媒体上のドットを示している。
図10は、吐出ヘッドの上昇温度に対する、画像の濃度の上昇割合、および、第1データ生成処理での置換率の関係を示す図表である。
【発明を実施するための形態】
【0009】
以下、本開示に係る液体吐出装置の実施の形態を、図面を参照しながら具体的に説明する。なお、以下では、全ての図面を通じて同一又は対応する要素には同一の参照符号を付することとし、重複した説明を省略する。
【0010】
(液体吐出装置の構成)
図1は本開示に係る液体吐出装置1の模式図である。液体吐出装置1は、画像データに基づいて吐出ヘッド10から吐出した液体により被印刷媒体A上に画像を印刷する。このような液体吐出装置1として、以下ではインクを吐出するインクジェットプリンタに適用した例について説明する。
(【0011】以降は省略されています)
この特許をJ-PlatPat(特許庁公式サイト)で参照する
関連特許
個人
箔熱転写装置
2か月前
キヤノン株式会社
記録装置
2か月前
キヤノン株式会社
電子機器
21日前
独立行政法人 国立印刷局
貼付装置
3か月前
株式会社リコー
画像形成装置
1か月前
株式会社リコー
画像形成装置
2か月前
株式会社リコー
画像形成装置
2か月前
株式会社リコー
印刷システム
2か月前
キヤノン株式会社
画像記録装置
2か月前
理想科学工業株式会社
印刷装置
2か月前
キヤノン株式会社
印刷システム
8日前
シャープ株式会社
画像形成装置
1か月前
独立行政法人 国立印刷局
潜像形成体
1か月前
キヤノン株式会社
画像形成装置
1か月前
ブラザー工業株式会社
液体吐出ヘッド
2か月前
キヤノン株式会社
画像形成装置
3か月前
カシオ計算機株式会社
印刷装置
1か月前
大日本印刷株式会社
印刷物
1か月前
株式会社リコー
画像形成システム
1か月前
大日本印刷株式会社
印刷物
1か月前
ベルク工業有限会社
静電成膜装置
今日
沖電気工業株式会社
画像形成装置
今日
キヤノン株式会社
画像形成システム
2か月前
個人
小型記録媒体への印刷システム
3か月前
独立行政法人 国立印刷局
潜像画像形成体
1か月前
キヤノン株式会社
画像形成システム
2か月前
株式会社リコー
感熱記録媒体
1か月前
キヤノン株式会社
画像形成システム
1か月前
株式会社リコー
液体を吐出する装置
1か月前
キヤノン株式会社
画像形成システム
1か月前
ブラザー工業株式会社
カセット
2か月前
ブラザー工業株式会社
カセット
2か月前
シャープ株式会社
画像形成装置
3か月前
ブラザー工業株式会社
印刷媒体
1か月前
ブラザー工業株式会社
回収装置
1か月前
コニカミノルタ株式会社
情報処理装置
24日前
続きを見る
他の特許を見る