TOP
|
特許
|
意匠
|
商標
特許ウォッチ
Twitter
他の特許を見る
公開番号
2025158746
公報種別
公開特許公報(A)
公開日
2025-10-17
出願番号
2024061599
出願日
2024-04-05
発明の名称
印刷物
出願人
大日本印刷株式会社
代理人
個人
,
個人
主分類
B41M
1/22 20060101AFI20251009BHJP(印刷;線画機;タイプライター;スタンプ)
要約
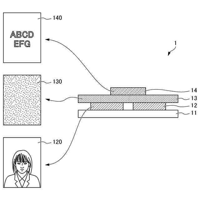
【課題】光源との関係によって視認される画像を切り替えることができ、高精細な画像を形成可能であって、製造が容易な印刷物を提供する。
【解決手段】印刷物1は、光輝性材料を含み一様に観察されて目視環境下において画像が観察されない光輝層13と、光透過性を備えた材料によって形成されて光輝層13と積層されて第1画像140を形成する第1印刷層14と、光輝性材料を含まない材料によって形成されて第1印刷層14の観察側とは反対側に積層されて第2画像120を形成する第2印刷層12とを備える。
【選択図】図2
特許請求の範囲
【請求項1】
光輝性材料を含み一様に観察されて目視環境下において画像が観察されない光輝層と、
光透過性を備えた材料によって形成されて前記光輝層と積層されて第1画像を形成する第1印刷層と、
前記第1印刷層の観察側とは反対側に積層されて第2画像を形成する第2印刷層と、
を備える印刷物。
続きを表示(約 800 文字)
【請求項2】
請求項1に記載の印刷物において、
前記光輝層は、目視で視認不可能な網点又は万線により一様に形成されていること、
を特徴とする印刷物。
【請求項3】
請求項1に記載の印刷物において、
前記光輝層は、大きさが300μm以下の符号の集合により一様に形成されていること、
を特徴とする印刷物。
【請求項4】
請求項1から請求項3までのいずれか1項に記載の印刷物において、
基材層を備え、
前記基材層の観察側に前記第2印刷層が積層され、
前記第2印刷層の観察側に前記光輝層及び前記第1印刷層が積層されていること、
を特徴とする印刷物。
【請求項5】
請求項4に記載の印刷物において、
前記第1印刷層は前記光輝層よりも観察側に配置されていること、
を特徴とする印刷物。
【請求項6】
請求項4に記載の印刷物において、
前記光輝層は前記第1印刷層よりも観察側に配置されていること、
を特徴とする印刷物。
【請求項7】
請求項6に記載の印刷物において、
前記光輝層よりも観察側に保護層が配置されていること、
を特徴とする印刷物。
【請求項8】
請求項1に記載の印刷物において、
基材層を備え、
前記基材層の観察側に前記光輝層が積層され、
前記光輝層の観察側に前記第2印刷層が積層されていること、
を特徴とする印刷物。
【請求項9】
請求項1から請求項3までのいずれか1項に記載の印刷物において、
光源との関係の変化に応じて前記第1画像及び前記第2画像のうち、より視認しやすい画像が切り替わること、
を特徴とする印刷物。
発明の詳細な説明
【技術分野】
【0001】
本開示は、印刷物に関するものである。
続きを表示(約 1,400 文字)
【背景技術】
【0002】
光源との関係によって視認される画像を切り替える技術が従来から知られている。例えば、特許文献1に記載の技術は、光輝性の材料を含む印刷層によって画像を形成し、光輝性の材料における反射強度が光源との関係によって変化することを利用して視認される画像を切り替えている。
【先行技術文献】
【特許文献】
【0003】
特開2021-751号公報
【発明の概要】
【発明が解決しようとする課題】
【0004】
しかし、光輝性の材料(インキ等)は、光輝性を備えた粒子(顔料等)が含まれており、この光輝性を備えた粒子の粒径が比較的大きいことから、印刷版が目詰まりしやすかった。また、光輝性の材料は、ブランケット上へインキ残りが発生して汚れが発生する等の印刷不良が発生しやすかった。特に、光輝性の材料は、高精細な画像を形成しようとすると、印刷版の版形状も高精細となることから、より一層、目詰まりやブランケットへのインキ残り等の印刷不良が発生しやすい。そのため、光輝性の材料を用いる印刷物は、製造が困難であるという問題があった。したがって、従来の光輝性の材料を用いた印刷層は、高精細な画像の形成には不向きであり、簡単な図柄の画像を形成することが現実的であった。
【0005】
本開示の課題は、光源との関係によって視認される画像を切り替えることができ、高精細な画像を形成可能であって、製造が容易な印刷物を提供することである。
【課題を解決するための手段】
【0006】
本開示は、以下のような解決手段により、前記課題を解決する。なお、理解を容易にするために、本開示の実施形態に対応する符号を付して説明するが、これに限定されるものではない。
【0007】
第1の開示は、光輝性材料を含み一様に観察されて目視環境下において画像が観察されない光輝層(13、13B、13C、13D)と、光透過性を備えた材料によって形成されて前記光輝層(13、13B、13C)と積層されて第1画像(140)を形成する第1印刷層(14、14B)と、前記光輝性材料を含まない材料によって形成されて前記第1印刷層(14、14B)の観察側とは反対側に積層されて第2画像(120)を形成する第2印刷層(12、12C)と、を備える印刷物(1、1B、1C、1D)である。
【0008】
第2の開示は、第1の開示に記載の印刷物(1、1B、1C)において、前記光輝層(13、13B、13C)は、目視で視認不可能な網点又は万線により一様に形成されていること、を特徴とする印刷物(1、1B、1C)である。
【0009】
第3の開示は、第1の開示に記載の印刷物(1D)において、前記光輝層(13D)は、大きさが300μm以下の符号の集合により一様に形成されていること、を特徴とする印刷物(1D)である。
【0010】
第4の開示は、第1の開示から第3の開示までのいずれかに記載の印刷物(1、1B、1D)において、基材層(11)を備え、前記基材層(11)の観察側に前記第2印刷層(12)が積層され、前記第2印刷層(12)の観察側に前記光輝層(13、13B、13D)及び前記第1印刷層(14、14B)が積層されていること、を特徴とする印刷物(1、1B、1D)である。
(【0011】以降は省略されています)
この特許をJ-PlatPat(特許庁公式サイト)で参照する
関連特許
大日本印刷株式会社
印刷物
1か月前
大日本印刷株式会社
印刷物
1か月前
大日本印刷株式会社
除電装置
20日前
大日本印刷株式会社
太陽電池
27日前
大日本印刷株式会社
積層シート
1か月前
大日本印刷株式会社
床用化粧材
1か月前
大日本印刷株式会社
プリフォーム
5日前
大日本印刷株式会社
インテリア用品
10日前
大日本印刷株式会社
プラスチックボトル
5日前
大日本印刷株式会社
旅行記作成システム
24日前
大日本印刷株式会社
化粧シート及び化粧材
13日前
大日本印刷株式会社
調光部材及び合わせ板
24日前
大日本印刷株式会社
積層体および包装容器
1か月前
大日本印刷株式会社
積層体および包装容器
1か月前
大日本印刷株式会社
加飾シート及び樹脂成形品
1か月前
大日本印刷株式会社
再配線層及びその製造方法
1か月前
大日本印刷株式会社
処理装置、判断方法及び評価方法
12日前
大日本印刷株式会社
紙印刷物および紙印刷物の製造方法
12日前
大日本印刷株式会社
位相差板、光学部材、及び、表示装置
1か月前
大日本印刷株式会社
熱転写シートと中間転写媒体との組合せ
1か月前
大日本印刷株式会社
加飾シート、加飾部材及び表示システム
18日前
大日本印刷株式会社
情報処理システム、装着装置及びプログラム
24日前
大日本印刷株式会社
情報処理装置、情報処理方法、及びプログラム
11日前
大日本印刷株式会社
化粧シート、化粧シートの製造方法および化粧材
12日前
大日本印刷株式会社
化粧シート、化粧シートの製造方法および化粧材
5日前
大日本印刷株式会社
測定システム、測定方法、測定プログラム、物体
1か月前
大日本印刷株式会社
光学シート、液晶表示装置及び有機EL表示装置
10日前
大日本印刷株式会社
加飾シート、外装部材の製造方法および外装部材
1か月前
大日本印刷株式会社
化粧シート、化粧シートの製造方法および化粧材
5日前
大日本印刷株式会社
化粧シート、化粧材、及び、化粧シートの製造方法
1か月前
大日本印刷株式会社
化粧シート、化粧材、及び、化粧シートの製造方法
1か月前
大日本印刷株式会社
金属板の測定装置、測定方法、及び金属板の製造方法
24日前
大日本印刷株式会社
合掌ガセット袋および合掌ガセット袋用シート製造方法
18日前
大日本印刷株式会社
仮想空間監視装置、プログラム及び仮想空間監視システム
19日前
大日本印刷株式会社
コンピュータプログラム、情報処理方法及び情報処理装置
20日前
大日本印刷株式会社
動画再生装置、装着装置、動画再生システム及びプログラム
1か月前
続きを見る
他の特許を見る