TOP
|
特許
|
意匠
|
商標
特許ウォッチ
Twitter
他の特許を見る
10個以上の画像は省略されています。
公開番号
2025162871
公報種別
公開特許公報(A)
公開日
2025-10-28
出願番号
2024066343
出願日
2024-04-16
発明の名称
除電装置
出願人
大日本印刷株式会社
代理人
弁理士法人 佐野特許事務所
主分類
H05F
3/00 20060101AFI20251021BHJP(他に分類されない電気技術)
要約
【課題】除電対象の物品の全体を確実に除電できる除電装置を提供する。
【解決手段】複数の第1電極と、複数の第2電極と、前記第1電極と前記第2電極との間に電気力線を発生させるように、前記第1電極及び前記第2電極にそれぞれ第1電圧及び前記第1電圧と異なる第2電圧を供給する電圧供給部と、を有する。第1支持具に配置された第1電極と第2支持具に配置された第2電極とが第1方向と交差する第2方向に隣り合うとともに、第1支持具に配置された第2電極と第2支持具に配置された第1電極とが第2方向と隣り合うように第1支持具及び第2支持具が配置された除電装置。
【選択図】図1
特許請求の範囲
【請求項1】
複数の第1電極と、
複数の第2電極と、
前記第1電極と前記第2電極との間に電気力線を発生させるように、前記第1電極及び前記第2電極にそれぞれ第1電圧及び前記第1電圧と異なる第2電圧を供給する電圧供給部と、
前記第1電極と前記第2電極とを第1方向に距離をあけて交互に配置した第1支持具及び第2支持具と、を有し、
前記第1支持具に配置された前記第1電極と前記第2支持具に配置された前記第2電極とが前記第1方向と交差する第2方向に隣り合うとともに、前記第1支持具に配置された前記第2電極と前記第2支持具に配置された前記第1電極とが前記第2方向と隣り合うように前記第1支持具及び前記第2支持具が配置された除電装置。
続きを表示(約 630 文字)
【請求項2】
1の第1電極と、
1の第2電極と、
前記第1電極と前記第2電極との間に電気力線を発生させるように、前記第1電極及び前記第2電極にそれぞれ第1電圧及び前記第1電圧と異なる第2電圧を供給する電圧供給部と、
前記第1電極を支持する第1支持具と、
前記第2電極を支持する第2支持具と、を有し、
前記第1電極と前記第2電極とが所定の間隔をあけて配置されるように、前記第1支持具及び前記第2支持具が配置された除電装置。
【請求項3】
前記電圧供給部は、前記第1電圧を接地電圧以上の電圧とし、前記第2電圧を接地電圧以下の電圧とする請求項1又は請求項2に記載の除電装置。
【請求項4】
前記第1支持具及び前記第2支持具は、シート状である請求項1又は請求項2に記載の除電装置。
【請求項5】
前記第1支持具及び前記第2支持具はともに棒状である請求項1又は請求項2に記載の除電装置。
【請求項6】
前記第1電極と前記第2電極との前記第1方向の距離は、30cm以上60cm以下である請求項1に記載の除電装置。
【請求項7】
前記第1電極と前記第2電極との前記第2方向の距離は、60cm以上200cm以下である請求項1に記載の除電装置。
【請求項8】
前記第1電極と前記第2電極とは同数である請求項1に記載の除電装置。
発明の詳細な説明
【技術分野】
【0001】
本発明は、除電装置に関する。
続きを表示(約 1,500 文字)
【背景技術】
【0002】
従来、物品にイオン(正イオン及び負イオン)を吹き付けて、物品の除電を行うイオン発生器が提案されている。イオン発生器は、コロナ放電により正イオン及び負イオンを発生させる構成を挙げることができる。具体的には、イオン発生器は、一対の電極に電圧を印加することで起こるコロナ放電により、空気中の分子(例えば水分子)を電気的に分解し、正イオン(水素イオン(H+))及び負イオン(酸素イオン(O2-))を発生させる( 例えば、特許文献1 ) 。
【先行技術文献】
【特許文献】
【0003】
特開2022―149561号公報
【発明の概要】
【発明が解決しようとする課題】
【0004】
イオンを吹き付けて除電を行う除電装置では、イオンを含む気流を発生させるために、送風装置を備える必要があり、構成が複雑になる。イオンを吹き付けて除電を行う構成の場合、除電対象の物品の表面の除電は、可能であるが、内部の除電が困難な場合がある。
【0005】
また、上述したような、コロナ放電を利用するイオン発生器の場合、コロナ放電のために数千ボルト以上の高電圧を印加する必要がある。そのため、高電圧を発生させるための電源回路が必要になり、装置構成が複雑化及び大型化する。
【0006】
本発明は、簡単な構成を有するとともに、除電対象の物品の全体を確実に除電できる除電装置を提供することを目的とする。
【課題を解決するための手段】
【0007】
上記目的を達成するために本発明の除電装置は、複数の第1電極と、複数の第2電極と、前記第1電極と前記第2電極との間に電気力線を発生させるように、前記第1電極及び前記第2電極にそれぞれ第1電圧及び前記第1電圧と異なる第2電圧を供給する電圧供給部と、前記第1電極と前記第2電極とを第1方向に距離をあけて交互に配置した第1支持具及び第2支持具と、を有する。前記第1支持具に配置された前記第1電極と前記第2支持具に配置された前記第2電極とが前記第1方向と交差する第2方向に隣り合うとともに、前記第1支持具に配置された前記第2電極と前記第2支持具に配置された前記第1電極とが前記第2方向と隣り合うように前記第1支持具及び前記第2支持具が配置される。
【発明の効果】
【0008】
本発明の除電装置によると、簡単な構成を有するとともに、除電対象の物品の全体を確実に除電することができる。
【図面の簡単な説明】
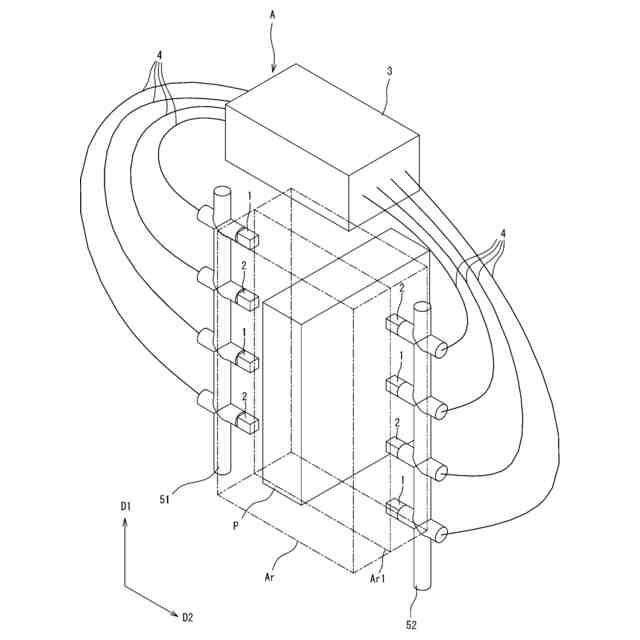
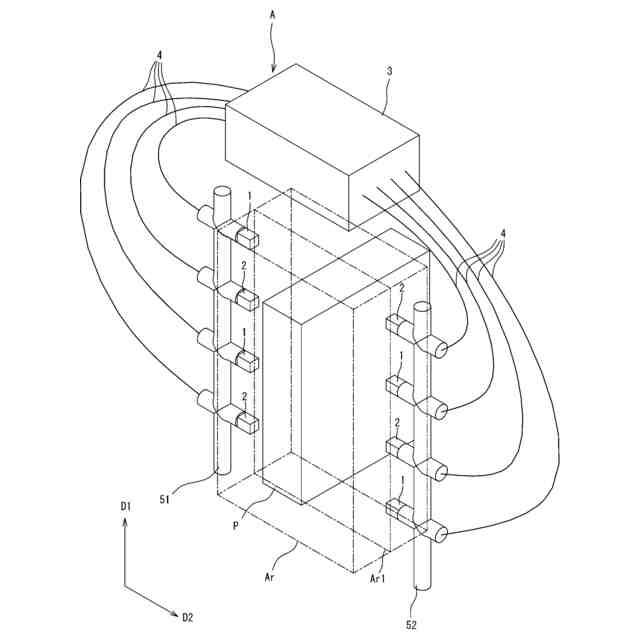
【0009】
第1実施形態にかかる除電装置の概略図である。
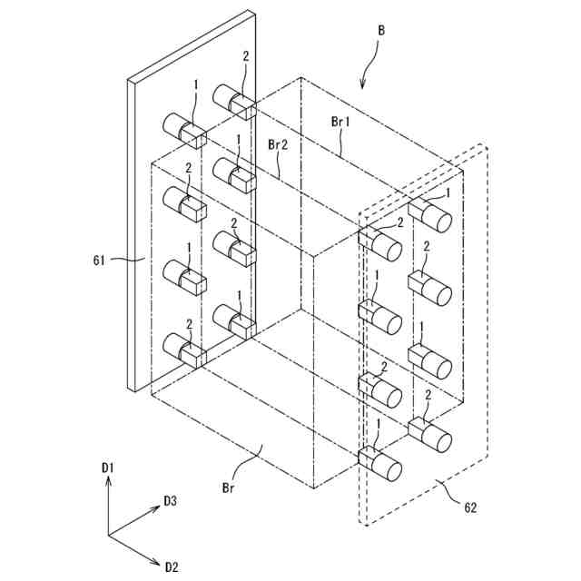
図1に示す除電装置の構成を示すブロック図である。
正極及び負極で発生する電気力を示す電気力線ELを示す図である。
除電装置における電気力線を示す概略図である。
除電対象領域に正に帯電した物品が配置された状態を示す概略図である。
除電対象領域に負に帯電した物品が配置された場合を示す概略図である。
除電装置を利用したシート搬送装置の概略図である。
除電装置を利用した物品処理装置の概略図である。
他の例の除電装置の概略図である。
他の例の除電装置の概略図である。
除電装置の利用例の概略図である。
【発明を実施するための形態】
【0010】
以下の説明において、静電気等で帯電している物品Pから電荷を取り除く動作を除電と称する。
(【0011】以降は省略されています)
この特許をJ-PlatPat(特許庁公式サイト)で参照する
関連特許
大日本印刷株式会社
印刷物
1か月前
大日本印刷株式会社
印刷物
1か月前
大日本印刷株式会社
除電装置
25日前
大日本印刷株式会社
床構成体
1か月前
大日本印刷株式会社
太陽電池
1か月前
大日本印刷株式会社
装飾パネル
3日前
大日本印刷株式会社
床用化粧材
1か月前
大日本印刷株式会社
積層シート
1か月前
大日本印刷株式会社
プリフォーム
10日前
大日本印刷株式会社
インテリア用品
15日前
大日本印刷株式会社
パネルの固定方法
1か月前
大日本印刷株式会社
プラスチックボトル
10日前
大日本印刷株式会社
積層体及び包装容器
1か月前
大日本印刷株式会社
旅行記作成システム
29日前
大日本印刷株式会社
調光部材及び合わせ板
29日前
大日本印刷株式会社
化粧シート及び化粧材
18日前
大日本印刷株式会社
積層体および包装容器
1か月前
大日本印刷株式会社
積層体および包装容器
1か月前
大日本印刷株式会社
加飾シート及び樹脂成形品
1か月前
大日本印刷株式会社
再配線層及びその製造方法
1か月前
大日本印刷株式会社
加飾シート及び樹脂成形品
2日前
大日本印刷株式会社
情報処理装置及びプログラム
1か月前
大日本印刷株式会社
学習支援装置及びプログラム
1か月前
大日本印刷株式会社
処理装置、判断方法及び評価方法
17日前
大日本印刷株式会社
紙印刷物および紙印刷物の製造方法
17日前
大日本印刷株式会社
ウェブ搬送装置及びウェブ搬送方法
1か月前
大日本印刷株式会社
作業装置、作業システム、作業方法
1か月前
大日本印刷株式会社
水素センサおよび水素検知システム
1か月前
大日本除蟲菊株式会社
薬剤揮散装置
1か月前
大日本印刷株式会社
位相差板、光学部材、及び、表示装置
1か月前
大日本印刷株式会社
熱転写シートと中間転写媒体との組合せ
1か月前
大日本印刷株式会社
加飾シート、加飾部材及び表示システム
23日前
大日本印刷株式会社
転写シート、成形品の製造方法および成形品
1か月前
大日本印刷株式会社
情報処理装置、情報処理方法及びプログラム
1か月前
大日本印刷株式会社
情報処理装置、情報処理方法及びプログラム
1か月前
大日本印刷株式会社
情報処理システム、装着装置及びプログラム
29日前
続きを見る
他の特許を見る