TOP
|
特許
|
意匠
|
商標
特許ウォッチ
Twitter
他の特許を見る
10個以上の画像は省略されています。
公開番号
2025148070
公報種別
公開特許公報(A)
公開日
2025-10-07
出願番号
2024048648
出願日
2024-03-25
発明の名称
薬剤揮散装置
出願人
大日本除蟲菊株式会社
,
大日本印刷株式会社
代理人
弁理士法人 佐野特許事務所
主分類
A01M
1/20 20060101AFI20250930BHJP(農業;林業;畜産;狩猟;捕獲;漁業)
要約
【課題】薬剤揮散性能の持続期間が長い薬剤揮散装置を提供する。
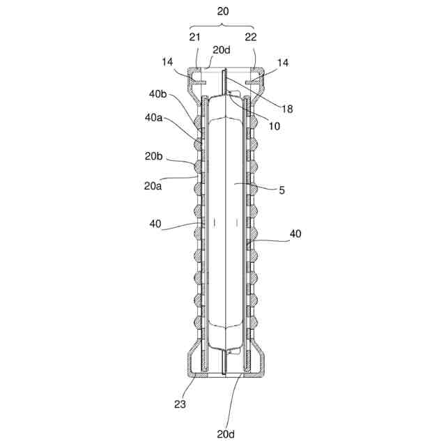
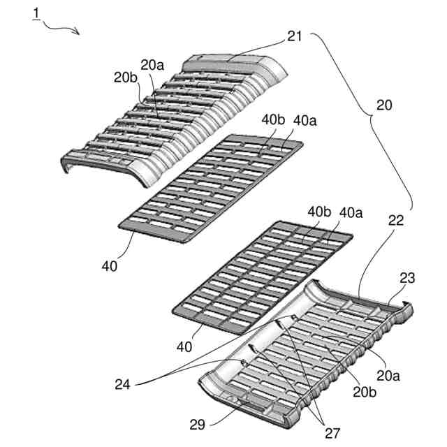
【解決手段】揮散性薬剤を揮散可能に保持する薬剤揮散体5と、薬剤揮散体5を覆う外側容器20と、外側容器20の内面に沿って配されるシャッター40とを備えた薬剤揮散装置1において、外側容器20を正立姿勢と正立姿勢に対して天地を逆転させた倒立姿勢とに切り替えたときにシャッター40が自重により降下し、正立姿勢及び倒立姿勢の一方の時に外側容器20の周面に開口する外側開口部20aとシャッター40に開口する内側開口部40aとが重なり、他方の時に内側開口部40aが外側開口部20aに対して上下方向にずれて外側開口部20aが内側開口部40aの周囲により塞がれる。
【選択図】図14
特許請求の範囲
【請求項1】
揮散性薬剤を揮散可能に保持する薬剤揮散体と、前記薬剤揮散体を覆う外側容器と、前記外側容器の内面に沿って配されるシャッターとを備えた薬剤揮散装置において、前記外側容器を正立姿勢と前記正立姿勢に対して天地を逆転させた倒立姿勢とに切り替えたときに前記シャッターが自重により降下し、
前記正立姿勢及び前記倒立姿勢の一方の時に前記外側容器の周面に開口する外側開口部と前記シャッターに開口する内側開口部とが重なり、他方の時に前記内側開口部が前記外側開口部に対して上下方向にずれて前記外側開口部が前記内側開口部の周囲により塞がれることを特徴とする薬剤揮散装置。
続きを表示(約 470 文字)
【請求項2】
前記外側容器の内面に前記シャッターの上下移動を規制するストッパーを設けたことを特徴とする請求項1に記載の薬剤揮散装置。
【請求項3】
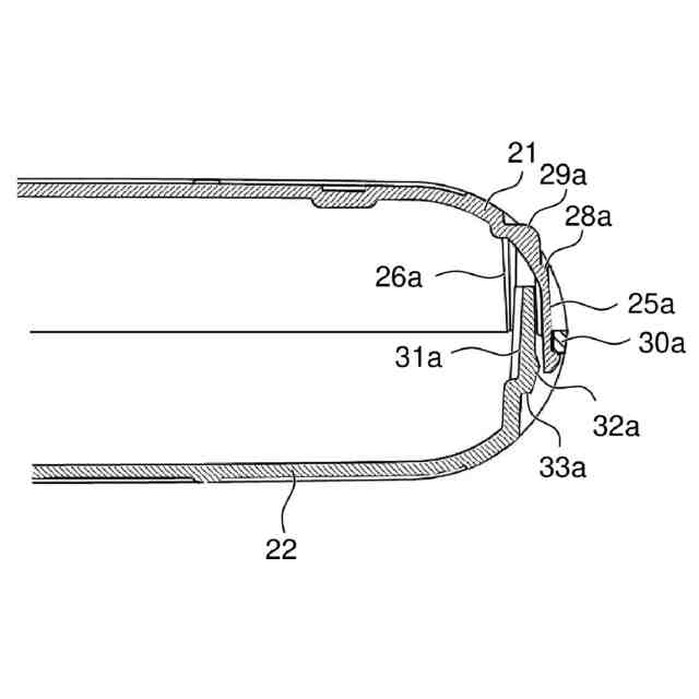
前記外側容器は互いに係合する表側部材と裏側部材とを有し、前記表側部材と前記裏側部材の一方に係合爪を設けるとともに、他方に前記係合爪が係合する被係合部と、前記被係合部に対向する対向壁とを設け、
前記対向壁は、前記被係合部と前記対向壁との間に挿入される前記係合爪に面して前記被係合部よりも挿入方向前方に配された突起部を有することを特徴とする請求項1または請求項2に記載の薬剤揮散装置。
【請求項4】
前記シャッター及び前記外側容器は互いに異なる外装色に配色されることを特徴とする請求項1または請求項2に記載の薬剤揮散装置。
【請求項5】
前記薬剤揮散体を収納して前記外側容器の内部に配される内側容器を備え、前記外側容器が射出成形品であり、前記内側容器がシート成形品であることを特徴とする請求項1または請求項2に記載の薬剤揮散装置。
発明の詳細な説明
【技術分野】
【0001】
本発明は、防虫剤等の揮散性薬剤を揮散させる薬剤揮散装置に関する。
続きを表示(約 1,500 文字)
【背景技術】
【0002】
揮散性薬剤を揮散させる従来の薬剤揮散装置は特許文献1に開示される。この薬剤揮散装置は揮散性薬剤を揮散可能に保持する薬剤揮散体と、薬剤揮散体を通気可能に収容する収容容器とを備える。収容容器の周面には複数の開口部が設けられる。薬剤揮散体から揮散する薬剤は開口部を介して外部に放出される。
【先行技術文献】
【特許文献】
【0003】
特開2023-101180号公報(第8頁~第22頁、第1図)
【発明の概要】
【発明が解決しようとする課題】
【0004】
しかしながら、上記従来の薬剤揮散装置によると、揮散性薬剤が常時放出されるため薬剤の拡散性に優れる一方、薬剤揮散性能の持続性についてはさらなる改良が求められていた。また、揮散性薬剤自体に不快臭が無く安全性が高いものであっても、屋内空間(トイレ、浴室、寝室、リビング等)、自動車内、テント内等の容積が2.0~33.3m
3
程度の狭小の密閉空間(自然換気、24時間換気等の換気条件も含む)で常時薬剤を揮散させることを敬遠する消費者もいる。このため、使用時のみ、あるいは一定時間のみ薬剤を揮散させることができる機能を備えた薬剤揮散装置が望まれる。
【0005】
この際、揮散状態(使用時)と非揮散状態(不使用時)が簡便に切り替えできる仕組みであることが好ましい。特に揮散状態と非揮散状態を高頻度で切り替える場合(例えば、12時間以下の間隔で揮散状態と非揮散状態を切り替える場合)は一層簡便であることが望まれるが、比較的簡単な操作でそのような切り替えできる薬剤揮散装置は現在まで見当たらない。
【0006】
本発明は、比較的簡単な操作で揮散状態(使用時)と非揮散状態(不使用時)を簡便に切り替えることができ、薬剤揮散性能の持続性を低減させない薬剤揮散装置を提供することを目的とする。
【課題を解決するための手段】
【0007】
上記目的を達成するために本発明は、揮散性薬剤を揮散可能に保持する薬剤揮散体と、前記薬剤揮散体を覆う外側容器と、前記外側容器の内面に沿って配されるシャッターとを備えた薬剤揮散装置において、前記外側容器を正立姿勢と前記正立姿勢に対して天地を逆転させた倒立姿勢とに切り替えたときに前記シャッターが自重により降下し、前記正立姿勢及び前記倒立姿勢の一方の時に前記外側容器の周面に開口する外側開口部と前記シャッターに開口する内側開口部とが重なり、他方の時に前記内側開口部が前記外側開口部に対して上下方向にずれて前記外側開口部が前記内側開口部の周囲により塞がれることを特徴としている。
【0008】
また本発明は上記構成の薬剤揮散装置において、前記外側容器の内面に前記シャッターの上下移動を規制するストッパーを設けたことを特徴としている。
【0009】
また本発明は上記構成の薬剤揮散装置において、前記外側容器は互いに係合する表側部材と裏側部材とを有し、前記表側部材と前記裏側部材の一方に係合爪を設けるとともに、他方に前記係合爪が係合する被係合部と、前記被係合部に対向する対向壁とを設け、前記対向壁は、前記被係合部と前記対向壁との間に挿入される前記係合爪に面して前記被係合部よりも挿入方向前方に配された突起部を有することを特徴としている。
【0010】
また本発明は上記構成の薬剤揮散装置において、前記シャッター及び前記外側容器は互いに異なる外装色に配色されることを特徴としている。
(【0011】以降は省略されています)
この特許をJ-PlatPat(特許庁公式サイト)で参照する
関連特許
大日本除蟲菊株式会社
薬剤揮散装置
2日前
大日本除蟲菊株式会社
薬剤揮散体、及び薬剤揮散装置
8日前
大日本除蟲菊株式会社
発泡性薬効付与用組成物、エアゾール製品、及び発泡性芳香消臭組成物
1か月前
個人
虫捕り器
10日前
個人
巻糸係止具
1か月前
個人
刈込鋏保持具
6日前
個人
飼育容器
20日前
個人
後付巻降ろし器
10日前
個人
イカ釣り用ヤエン
10日前
個人
釣り仕掛け処理具
1か月前
株式会社丹勝
緑化工法
7日前
井関農機株式会社
作業車両
今日
株式会社シマノ
釣竿
10日前
井関農機株式会社
作業車両
今日
井関農機株式会社
作業車両
10日前
井関農機株式会社
作業車両
8日前
井関農機株式会社
作業車両
10日前
井関農機株式会社
圃場作業機
1か月前
個人
水耕栽培システム
20日前
大栄工業株式会社
捕獲器
今日
井関農機株式会社
作業車両
6日前
井関農機株式会社
作業車両
20日前
個人
伸縮する草刈り機の可動装置。
10日前
松山株式会社
農作業機
20日前
松山株式会社
農作業機
6日前
個人
妻面トラス梁付き園芸用ハウス
22日前
トヨタ自動車株式会社
育苗装置
7日前
みのる産業株式会社
苗植付装置
1か月前
みのる産業株式会社
苗植付装置
1か月前
個人
給水方法及びこれを用いた給水装置
1か月前
スガノ農機株式会社
圃場作業装置
7日前
個人
飼育水槽用の浄化装置
14日前
株式会社デンソー
農業用装置
2日前
トヨタ自動車株式会社
植物栽培装置
29日前
株式会社クボタ
作業車
1か月前
株式会社クボタ
作業機
1か月前
続きを見る
他の特許を見る