TOP
|
特許
|
意匠
|
商標
特許ウォッチ
Twitter
他の特許を見る
10個以上の画像は省略されています。
公開番号
2025148169
公報種別
公開特許公報(A)
公開日
2025-10-07
出願番号
2024048792
出願日
2024-03-25
発明の名称
農業用装置
出願人
株式会社デンソー
代理人
個人
,
個人
主分類
A01G
25/00 20060101AFI20250930BHJP(農業;林業;畜産;狩猟;捕獲;漁業)
要約
【課題】継手部材の脱落防止を図るととも、継手部材やバルブ本体に作用する過度な負荷を抑制できる農業用装置を提供する。
【解決手段】農業用装置は、バルブ本体150と、流体流出部と配管とを連結する流出継手部材21と、バルブ本体150に固定された第1ブラケット16とを少なくとも備える。第1ブラケットの第1ガイド部1611は、ブラケットがバルブ本体150に固定される際にブラケットに対して流出継手部材21を所定位置に案内する案内機構を有する。第1ガイド部1611は、ブラケットがバルブ本体150に固定された状態において流出継手部材21の軸方向への脱落を阻止する抜け止め機構を有する。第1ブラケット16は、案内機構と抜け止め機構とを併せ持つ。
【選択図】図7
特許請求の範囲
【請求項1】
内部の通路を開閉可能なバルブ、流体流入部(151)および流体流出部(152、153、154)を含むバルブ本体(150)と、
前記流体流出部と配管(61)とを連結する継手部材(21、22)と、
前記バルブ本体に固定されているブラケット(16、17)と、
を備え
前記ブラケットは、前記ブラケットが前記バルブ本体に固定される際に前記ブラケットに対して前記継手部材を所定位置に案内する案内機構と前記ブラケットが前記バルブ本体に固定された状態において前記継手部材の軸方向への脱落を阻止する抜け止め機構とを併せ持つガイド部(1611、1612、1721)を備える農業用装置。
続きを表示(約 1,000 文字)
【請求項2】
前記抜け止め機構は、前記ガイド部に形成された開口部に前記継手部材の筒体状部が挿通された状態において、前記継手部材に設けられた抜け止め部(213、223)が前記ガイド部に接触する構成により提供される請求項1に記載の農業用装置。
【請求項3】
前記ブラケットと前記継手部材は、前記ガイド部に形成された角部を含む開口部に、前記継手部材に設けられた拡大部(212、222)が嵌る構成により、前記継手部材の回転止め機構を提供する請求項1または2に記載の農業用装置。
【請求項4】
前記継手部材は、前記ガイド部が挿通される筒体状部から半径方向に突出し、前記筒体状部の先端に近づくほど突出高さが徐々に低く形成されている案内リブ(214、224)を備える請求項1または2に記載の農業用装置。
【請求項5】
前記ブラケットは、地面に接触して前記バルブ本体を支える脚部(166、167)を備える請求項1または2に記載の農業用装置。
【請求項6】
前記脚部は地面に対して3箇所で接触し、前記バルブ本体の重心から地面に向けた垂線は前記3箇所を結んで形成される三角形の内部を通る構成である請求項5に記載の農業用装置。
【請求項7】
前記流体流出部および前記継手部材よりも柔軟性を有する材質によって形成されて、前記流体流出部に対して外接し前記継手部材に対して内接するシール部材(23、25)を備え、
前記シール部材は、外周面全周から突出して、前記継手部材の内周面に密着するリップ形状部(232)を有し、
パイプ状の前記流体流出部は、外周部から突出して、前記シール部材の内周面(233)に密着するバルジ形状部(1521)を有する請求項1または2に記載の農業用装置。
【請求項8】
前記リップ形状部と前記バルジ形状部は、前記シール部材の軸方向について、ずらした位置に設けられている請求項7に記載の農業用装置。
【請求項9】
前記シール部材は、前記シール部材の軸方向について間隔をあけて設けられた複数の前記リップ形状部を備える請求項7に記載の農業用装置。
【請求項10】
パイプ状の前記流体流出部は、前記シール部材の軸方向について間隔をあけて設けられた複数の前記バルジ形状部を備える請求項7に記載の農業用装置。
(【請求項11】以降は省略されています)
発明の詳細な説明
【技術分野】
【0001】
この明細書における開示は、バルブ本体を有する農業用装置に関するものである。
続きを表示(約 1,900 文字)
【背景技術】
【0002】
特許文献1は、内部に電磁弁を有し、地面に設置される台部材を備えるバルブ装置を開示している。台部材は、地面に置かれる長円形状の2つのスレッドと、両スレッドを連結する連結具とを備えている。台部材は継手部材に溶接されて固定されている。継手部材は、2次側配管に接続される2次側配管接続部と、バルブ本体の水出口に接続される水出口接続部とを備えている。
【先行技術文献】
【特許文献】
【0003】
特許第4129676号公報
【発明の概要】
【発明が解決しようとする課題】
【0004】
台部材が支持している部分は、バルブ本体ではなく、配管が接続される継手部材である。このため、台部材をもってバルブ装置を移動する際に継手部材に直接的に外力が加わりやすい。また、バルブ本体は継手部材との連結部品のみで支えられている構成であるため、比較的質量の大きいバルブ本体に直接的に外力が加わりやすい。このため、バルブ装置における継手部材やバルブ本体に負荷が作用する懸念がある。
【0005】
この明細書における開示の目的は、継手部材の脱落防止を図るととも、継手部材やバルブ本体に作用する過度な負荷を抑制できる農業用装置を提供することである。
【課題を解決するための手段】
【0006】
この明細書に開示された複数の態様は、それぞれの目的を達成するために、互いに異なる技術的手段を採用する。また、特許請求の範囲およびこの項に記載した括弧内の符号は、一つの態様として後述する実施形態に記載の具体的手段との対応関係を示す一例であって、技術的範囲を限定するものではない。
【0007】
開示された農業用装置の一つは、内部の通路を開閉可能なバルブ、流体流入部(151)および流体流出部(152、153、154)を含むバルブ本体(150)と、流体流出部と配管(61)とを連結する継手部材(21、22)と、バルブ本体に固定されているブラケット(16、17)と、を備え、
ブラケットは、ブラケットをバルブ本体に固定する際にブラケットに対して継手部材を所定位置に案内する案内機構とブラケットがバルブ本体に固定された状態において継手部材の軸方向への脱落を阻止する抜け止め機構とを併せ持つガイド部(1611、1612、1721)を備える。
【0008】
この農業用装置によれば、ブラケットはバルブ本体に固定されている構成であるため、ブラケットとバルブ本体は一体となって扱われる。つまり、比較的質量が大きく農業用装置において大きな重力が作用しやすいバルブ本体とブラケットを一つの塊として提供できる。このため、バルブ本体に作用する外力はブラケットが負担することができる。
【0009】
ブラケットは、ブラケットをバルブ本体に固定する際にブラケットに対して継手部材を所定位置に案内する案内機構を有する。このため、バルブ本体と一体であるブラケットに対して、継手部材を適正な位置に配置させることができる。さらにブラケットは、ブラケットがバルブ本体に固定された状態において継手部材の軸方向への脱落を阻止する抜け止め機構を有する。このため、バルブ本体と一体であるブラケットに、継手部材の軸方向への脱落を阻止する機構をもたせることで、安定的な抜け止め効果が得られる。以上より、農業用装置は、継手部材の脱落防止を図るとともに、継手部材やバルブ本体に作用する過度な負荷を抑制できる。
【図面の簡単な説明】
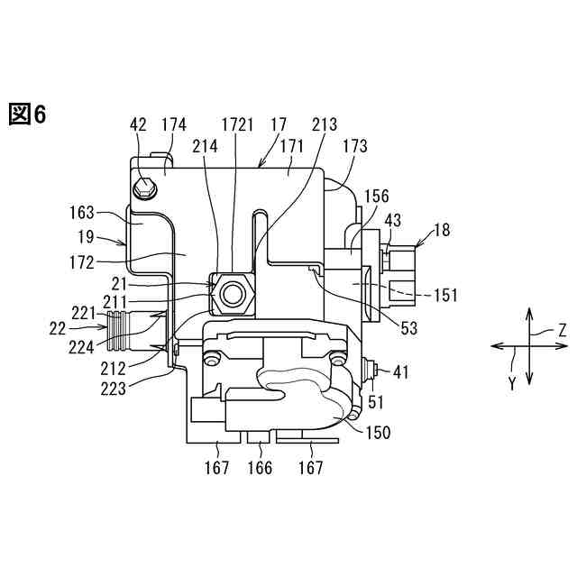
【0010】
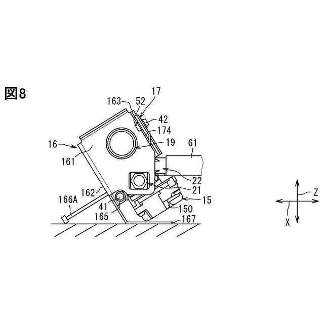
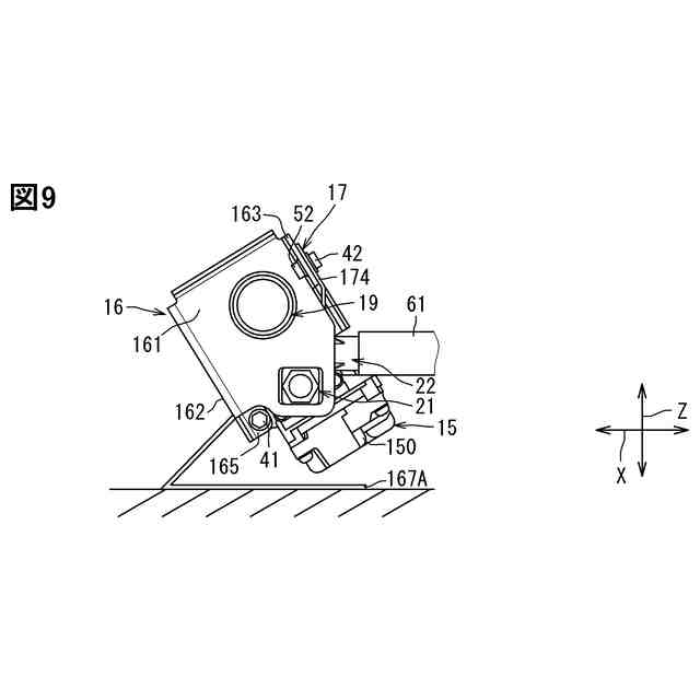
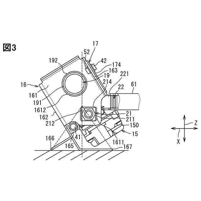
農業用装置を備える潅水システムの一例を示す図である。
植物への給水経路の一例を示す図である。
地面に置いた農業用装置を示す図である。
地面に置いた農業用装置を示す図である。
農業用装置を示す斜視図である。
農業用装置の外観を示す図である。
農業用装置の分解図である。
第1の変形例である農業用装置を地面に置いた状態を示す図である。
第2の変形例である農業用装置を地面に置いた状態を示す図である。
第3の変形例である農業用装置を地面に置いた状態を示す図である。
第4の変形例である農業用装置を地面に置いた状態を示す図である。
パイプ部と継手部材との接続状態を示す断面図である。
パイプ部と継手部材との接続方法を説明する図である。
パイプ部およびシール部材に係る、第1の変形例を示す断面図である。
【発明を実施するための形態】
(【0011】以降は省略されています)
この特許をJ-PlatPat(特許庁公式サイト)で参照する
関連特許
株式会社デンソーウェーブ
筐体
25日前
株式会社デンソー
電動弁
4日前
株式会社デンソー
回転機
25日前
株式会社デンソー
車載器
1か月前
株式会社デンソー
電子装置
1か月前
株式会社デンソー
電子装置
4日前
株式会社デンソーエレクトロニクス
発音装置
1か月前
株式会社デンソー
ステータ
1か月前
株式会社デンソー
ステータ
1か月前
株式会社デンソー
電子装置
1か月前
株式会社デンソー
電子装置
1か月前
株式会社デンソー
電解装置
5日前
株式会社デンソー
制御装置
6日前
株式会社デンソー
電子装置
14日前
株式会社デンソー
反力装置
1か月前
株式会社デンソー
ねじ部材
1か月前
株式会社デンソー
熱交換器
3日前
株式会社デンソー
検出装置
24日前
株式会社デンソー
摺動機構
3日前
株式会社デンソー
摺動機構
3日前
株式会社デンソー
撮像装置
3日前
株式会社デンソー
撮像装置
3日前
株式会社デンソー
半導体装置
5日前
株式会社デンソー
半導体装置
13日前
株式会社デンソー
農業用装置
1か月前
株式会社デンソー
熱交換部材
5日前
株式会社デンソー
熱交換装置
18日前
株式会社デンソー
ヒータ装置
12日前
株式会社デンソーテン
インバータ
1か月前
株式会社デンソートリム
鞍乗り車両
12日前
株式会社デンソー
電流センサ
25日前
株式会社デンソー
半導体装置
3日前
株式会社デンソー
半導体装置
20日前
株式会社デンソー
センサ装置
11日前
株式会社デンソー
半導体装置
1か月前
株式会社デンソー
レーダ装置
1か月前
続きを見る
他の特許を見る