TOP
|
特許
|
意匠
|
商標
特許ウォッチ
Twitter
他の特許を見る
10個以上の画像は省略されています。
公開番号
2025139620
公報種別
公開特許公報(A)
公開日
2025-09-29
出願番号
2024038557
出願日
2024-03-13
発明の名称
伸縮する草刈り機の可動装置。
出願人
個人
代理人
主分類
A01D
34/90 20060101AFI20250919BHJP(農業;林業;畜産;狩猟;捕獲;漁業)
要約
【課題】草刈り作業中に切株や枝に刃先が触れ、刃が弾き返された時に、地面と平行に固定された刃が衝撃を受けて、草刈り機のパイプシャフトにねじれて回る力が加わり、パイプシャフトが回り、刃先の角度が変わる。
【解決手段】草刈り機のシャフトがねじれて回る衝撃を、弾性ゴム部材の駆動輪と誘導輪でパイプシャフトを挟み、衝撃を吸収し抑える、この駆動輪を持つ手ハンドルの握り部のグリップと繋ぎ、グリップが左右に回るグリップとする事で、直接駆動輪を回す事が出来、パイプシャフトを伸縮する為に必要としていたモータ等の可動装置を必要としない、手で自由に伸縮する草刈り機のアタッチメントが、簡単な構造の安価な製品として提供できる。
【選択図】図20
特許請求の範囲
【請求項1】
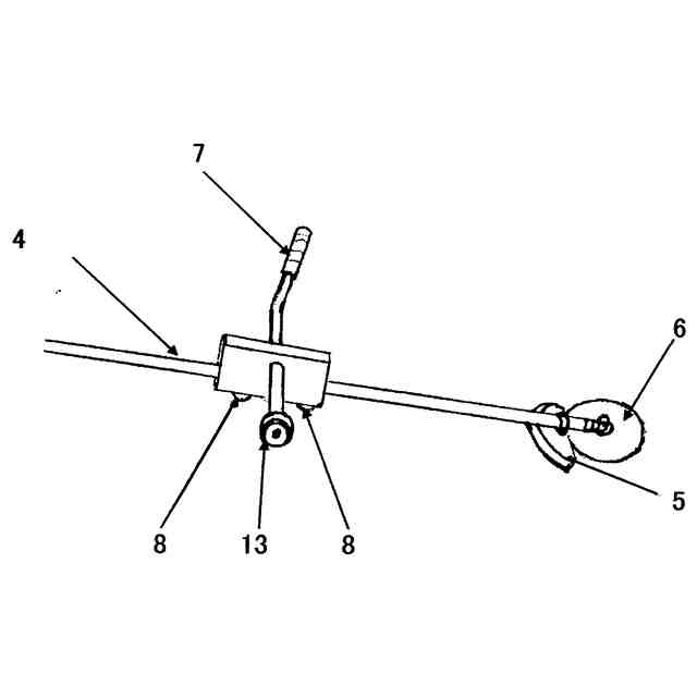
草刈り機の持ち手ハンドルの中央を軸にして、草刈り機のパイプシャフトを伸縮する、前記パイプシャフト上部に駆動輪を設け、前記パイプシャフト下部に誘導輪を設けた、前記駆動輪の回転で伸縮する草刈り機のパイプシャフトの可動装置で有って、草刈り作業中に前記パイプシャフトの刃先が障害物にあたり、その衝撃で跳ね返る時に発生する、前記パイプシャフトの、ねじれて、回る衝撃を吸収する、成形された弾性ゴム部材の前記駆動輪と前記誘導輪である。
続きを表示(約 840 文字)
【請求項2】
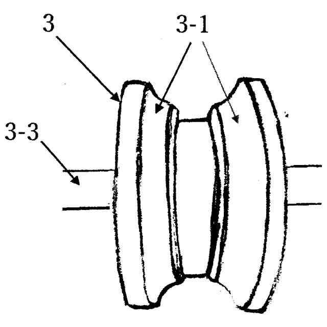
草刈り機のパイプシャフト上部に設けた駆動輪は、動摩擦力を有する円型状の弾性ゴムの部材を円板状の樹脂性部材で挿み、圧着成形した前記駆動輪であり、前記駆動輪を、前記パイプシャフト上に接して設け、前記駆動輪が可動時に衝撃や負荷が加わり、前記パイプシャフト上で滑り空回りを防止する為に、前記パイプシャフト外形面の丸形形状に類似した、半円形の形状面を備え持った円型部材の特定の形状面を持った円型部材の前記弾性ゴム部材で有り、前記パイプシャフト表面の二カ所に密着し駆動する、前記駆動輪としたことを特徴とする請求項1の草刈り機のシャフトの可動装置。
【請求項3】
草刈り機のパイプシャフト下部に設けた二個の誘導輪の、前記パイプシャフトを受ける面は、前記パイプシャフトの表面の、形状面に類似し、中央の中心部に凹み溝部を設けた形状の円型の前記誘導輪で有って、前記パイプシャフトの表面二カ所に密着する半円形の形状面を有した、円型の弾性のゴム部材で有り、前記弾性のゴム部材を、円板状の樹脂製部材で挿み圧着成形した、特定の形状面を持った円型部材の弾性ゴム材を用いた前記誘導輪で有り、伸縮稼働する前記パイプシャフトが草刈り作業中に刃が、障害物に当たり、ねじれて、回る衝撃を吸収する、前記誘導輪としたことを特徴とする請求項2の草刈り機のシャフトの可動装置。
【請求項4】
草刈り機のパイプシャフトは、上部の駆動輪固定部材と下部の誘導輪固定部材で、挿むように固定ボルトで取付され、前記パイプシャフトは、前記各固定部材内に設けられた駆動輪と誘導輪から、一定の挿み押さえる圧力を加えられて取り付けされ、取り付けする前記各固定部材間の、前記固定ボルト内には、押しバネが設けられた常時一定のバネの押さえ圧力を用いた前記固定ボルトで有って、衝撃による各固定部間の緩みを防ぎ、前記各固定部材同士を押さえ固定したことを特徴とする請求項3の草刈り機のシャフトの可動装置。
発明の詳細な説明
【技術分野】
【0001】
本発明は、杉や檜を伐採した跡に植林し、管理の為の苗木の回りの下草刈作業に用いる草刈り機に関するものである。
続きを表示(約 1,300 文字)
【背景技術】
【0002】
戦後、植林された杉や檜等が近年伐採が進み、伐採後の跡地を放置、荒廃しないように又、杉や檜等を植林するが、植林後、5~10年間は、苗木の回りの下草刈り作業が、欠かせない管理作業に成ってこの、下刈り作業を怠ると、苗木が周りが雑草に覆われ成長が出来なく、埋もれ枯れてしまいます。
【0003】
この下草刈作業は、入梅前後から、真夏の暑い炎天下の許、足許が悪い斜面等での作業が多く、滑り転倒等を避け、気配りをしての作業となり、足腰や腕に負担が大きい作業で、大変な労働である。
【0004】
携さわる人の高齢化が進み、下草刈に携さわる人が少なく、それに伴う、植林後の下刈を毎年行う作業維持経費の大きさが、伐採後の植林が、思うように進んでいない一因で、この放棄地の為に豪雨の洪水災害を助長する土砂崩れの一因とも成っている。
【先行技術文献】
【特許文献】
【0005】
特許7258412
【発明の概要】
【発明が解決しようとする課題】
【0006】
山間部の斜面の下刈作業は、平地での草刈り作業と異なり、足許が悪く、体のバランスを取り足許を確認し、一歩々、足場を確保しながら、滑り、転倒しないように、たえず安全を確保して、草刈り機の刃を斜面に沿って上下に振り、又は上部斜面、足許下部斜面を左右に振りながら作業を行う。
【0007】
この為、平地の草刈り作業より、時間当たりの平面の草刈り作業面が少なく、作業効率が悪く、平地での草刈り作業の時間が倍以上を必要とする場所と成っている。
【0008】
平地での草刈り作業は何気ない動作のすり足で、草刈り機を大きく大胆に左右に振りハン ドルを突出し等をしながら作業が行えるが、斜面の多い場所では、草刈り機を大胆に大きく振り回すと体のバランスを壊す為に危険で、一歩々、足許をたえず、確保しながら作業行う事に成る、この為に草刈り機の振る幅、刈り取り幅を狭めての草刈り作業と成り、作業効率が悪い一因で、平地と違い斜面での、平地の草刈り作業より草刈りに費やす時間が大幅に必要とする作業現場となっている。
【0009】
斜面での草刈り作業は、草刈り機先端の回転する刃で、この刃を斜面に沿って横切るように、草刈り機の持つ手ハンドルを上下左右に振り、雑草を苅る作業で、草刈り機の振り幅は、1.2m~広く刈っても1.4m程で、一歩々斜面に沿って、横切るように草を刈り倒して進む、又は、足許から上斜面、下斜面を左右に振りながらの作業となっている。
【0010】
草刈り作業は、足許から、上下左右に草刈り機の持つ手ハンドルを振り、草を刈り倒し前方に向かい持つ手ハンドルを突き出し等をしながらの作業となるが、上斜面の草刈りをする場合は、斜面が上半身の身近な斜面となり、パイプシャフトの刃先が長く遠く、足許からと刃先間の草を刈れず、一端後方に下がり、刈り残した上斜面の草を刈るなどをしていた、この後ろ向きに下がる動作が草刈り作業時間の遅延の一因ともなっている。
(【0011】以降は省略されています)
この特許をJ-PlatPat(特許庁公式サイト)で参照する
関連特許
個人
虫捕り器
21日前
個人
草刈り鋏
3日前
個人
刈込鋏保持具
17日前
個人
飼育容器
1か月前
個人
後付巻降ろし器
21日前
個人
イカ釣り用ヤエン
21日前
株式会社丹勝
緑化工法
18日前
井関農機株式会社
作業車両
11日前
井関農機株式会社
作業車両
21日前
井関農機株式会社
作業車両
11日前
井関農機株式会社
作業車両
21日前
井関農機株式会社
作業車両
19日前
株式会社シマノ
釣竿
21日前
個人
水耕栽培システム
1か月前
個人
四足動物用装着具
4日前
大栄工業株式会社
捕獲器
11日前
井関農機株式会社
作業車両
17日前
株式会社オーツボ
海苔箱船
3日前
井関農機株式会社
作業車両
4日前
個人
伸縮する草刈り機の可動装置。
21日前
松山株式会社
農作業機
17日前
トヨタ自動車株式会社
育苗装置
18日前
みのる産業株式会社
茎葉処理装置
5日前
個人
飼育水槽用の浄化装置
25日前
スガノ農機株式会社
圃場作業装置
18日前
井関農機株式会社
コンバイン
18日前
グローブライド株式会社
釣竿
11日前
株式会社小川農具製作所
穴明け装置
12日前
グローブライド株式会社
釣竿
12日前
株式会社デンソー
農業用装置
13日前
株式会社スズテック
播種装置
3日前
株式会社クボタ
移植機
4日前
株式会社サンメイト
動物用排尿処理材
1か月前
グローブライド株式会社
魚釣用リール
10日前
株式会社クボタ
移植機
4日前
グローブライド株式会社
釣用のルアー
13日前
続きを見る
他の特許を見る