TOP
|
特許
|
意匠
|
商標
特許ウォッチ
Twitter
他の特許を見る
10個以上の画像は省略されています。
公開番号
2025151553
公報種別
公開特許公報(A)
公開日
2025-10-09
出願番号
2024053051
出願日
2024-03-28
発明の名称
釣竿
出願人
グローブライド株式会社
代理人
個人
,
個人
主分類
A01K
87/08 20060101AFI20251002BHJP(農業;林業;畜産;狩猟;捕獲;漁業)
要約
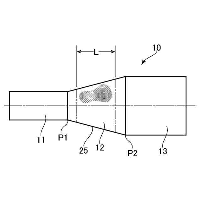
【課題】軽量化及び操作性の向上が図れるグリップを備えた釣竿を提供することを目的とする。
【解決手段】本発明は、繊維強化樹脂製のプリプレグを巻回して形成された中空構造のグリップ10を備えた釣竿である。グリップ10には、径方向に貫通する貫通孔(又は外周面から径方向に窪む窪み)15,15a~15eが設けられていることを特徴とする。
【選択図】 図15
特許請求の範囲
【請求項1】
繊維強化樹脂製のプリプレグを巻回して形成された中空構造のグリップを備えた釣竿であり、
前記グリップには、径方向に貫通する貫通孔、又は、外周面から径方向に窪む窪みが設けられていることを特徴とする釣竿。
続きを表示(約 1,100 文字)
【請求項2】
前記プリプレグは、強化繊維がグリップの軸方向、及び、グリップの周方向に指向した少なくとも1層以上の本体層と、強化繊維がグリップの軸方向に対して傾斜した方向に指向してクロス状態となる少なくとも1層以上のバイアス層と、を備え、
前記貫通孔、又は、窪みは、前記バイアス層が配設される部分に設けられていることを特徴とする請求項1に記載の釣竿。
【請求項3】
前記バイアス層は、強化繊維がグリップの軸方向に対して傾斜した方向に指向した第1の傾斜方向プリプレグと、前記第1の傾斜方向プリプレグの強化繊維と異なる方向に強化繊維が傾斜した第2の傾斜方向プリプレグを備えていることを特徴とする請求項2に記載の釣竿。
【請求項4】
前記バイアス層は、グリップの軸方向に対して、異なる方向に傾斜した強化繊維で編成した傾斜クロスプリプレグで構成されていることを特徴とする請求項2に記載の釣竿。
【請求項5】
前記バイアス層は、前記グリップの最内層と最外層に配設されていることを特徴とする請求項3又は4に記載の釣竿。
【請求項6】
前記本体層は、強化繊維がグリップの周方向に指向した第1層、及び、強化繊維がグリップの軸方向に指向した第2層を備え、
前記第1層又は前記第2層は、前記バイアス層となるテープ状の傾斜プリプレグを備えていることを特徴とする請求項2に記載の釣竿。
【請求項7】
前記グリップは、小径部から後端側に向けて次第に拡径する径拡大部と、この径拡大部から前記後端側に向けて延出する大径部とを備えており、
前記バイアス層は、前記径拡大部から大径部に亘って配設されていることを特徴とする請求項2に記載の釣竿。
【請求項8】
前記グリップは、小径部から後端側に向けて次第に拡径する径拡大部と、この径拡大部から前記後端側に向けて延出する大径部とを備えており、
前記バイアス層は、前記径拡大部と大径部との間の境界部を除いて配設されていることを特徴とする請求項2に記載の釣竿。
【請求項9】
前記グリップは、小径部から後端側に向けて次第に拡径する径拡大部と、この径拡大部から前記後端側に向けて延出する大径部とを備えており、
前記バイアス層は、前記径拡大部の範囲内に配設されていることを特徴とする請求項2に記載の釣竿。
【請求項10】
前記グリップは、小径部から後端側に向けて次第に拡径する径拡大部と、この径拡大部から前記後端側に向けて延出する大径部とを備えており、
前記バイアス層は、前記大径部の範囲内に配設されていることを特徴とする請求項2に記載の釣竿。
(【請求項11】以降は省略されています)
発明の詳細な説明
【技術分野】
【0001】
本発明は釣竿に関し、詳細には、繊維強化樹脂で一体形成されたグリップを有する釣竿に関する。
続きを表示(約 1,200 文字)
【背景技術】
【0002】
従来、例えば、特許文献1,2に開示されているように、繊維強化樹脂製のグリップを備えた釣竿が知られている。前記グリップは、軽量化、操作性、握持性を考慮して、釣竿後端に向けて、小径部から径拡大部(テーパ部)を介して大径部に移行するように構成されている。このような繊維強化樹脂製のグリップは、外観が同形状の芯金(マンドレル)に対して、複数枚の繊維強化樹脂製のシート部材(以下、プリプレグとも称する)を巻回し、これを熱硬化、脱芯することで形成することが可能である。
【0003】
上記の特許文献1に開示されているグリップは、小変化筒状部と大変化筒状部でプリプレグを分けることで、作業性の向上を図ることが行われている。また、大変化筒状部を構成するプリプレグは、強化繊維を軸方向に引き揃えた縦シートと、強化繊維を周方向に引き揃えた横シートを備え、これらを積層することで大変化筒状部が形成されている。
【0004】
上記の特許文献2に開示されているグリップは、中空構造にするにあたって、大径部に補助シートを積層することで強度を向上するようにしている。
【先行技術文献】
【特許文献】
【0005】
特開2014-132857号
特開2020-162463号
【発明の概要】
【発明が解決しようとする課題】
【0006】
上記したように、握持保持されるグリップをプリプレグで形成すると、表面が滑らかになって、操作性に劣るという問題がある。また、グリップについては、さらに軽量化して操作性の向上が図れることが好ましい。
【0007】
本発明は、上記した問題に着目してなされたものであり、軽量化と操作性の向上が図れるグリップを備えた釣竿を提供することを目的とする。
【課題を解決するための手段】
【0008】
上記した目的を達成するために、本発明に係る釣竿は、繊維強化樹脂製のプリプレグを巻回して形成された中空構造のグリップを備えており、前記グリップには、径方向に貫通する貫通孔、又は、外周面から径方向に窪む窪みが設けられていることを特徴とする。
【0009】
上記した中空構造のグリップは、繊維強化樹脂製のプリプレグをグリップ形状にした芯金に巻回され、加熱、硬化することによって形成されており、軽量化を図っている。グリップには、径方向に貫通する貫通孔、又は、外周面から径方向に窪む窪みが形成されているため、更に軽量化できるとともに、握持、保持した際、指の腹部か引っ掛かり易くなって、滑りが生じ難く、操作性の向上が図れるようになる。
【発明の効果】
【0010】
本発明によれば、操作性の向上が図れるグリップを備えた釣竿が得られる。
【図面の簡単な説明】
(【0011】以降は省略されています)
この特許をJ-PlatPat(特許庁公式サイト)で参照する
関連特許
個人
草刈り鋏
19日前
個人
蠅捕獲器
15日前
個人
刈込鋏保持具
1か月前
個人
蜜蜂保護装置
6日前
個人
種子の製造方法
12日前
個人
草刈機用回転刃
15日前
株式会社丹勝
緑化工法
1か月前
個人
昆虫捕集器
12日前
個人
イカ釣り用ヤエン
1か月前
井関農機株式会社
作業車両
27日前
井関農機株式会社
作業車両
27日前
井関農機株式会社
作業車両
1か月前
井関農機株式会社
作業車両
1か月前
個人
餌付き針の餌取り防止具
1日前
個人
四足動物用装着具
20日前
株式会社ナベル
表示システム
1日前
大栄工業株式会社
捕獲器
27日前
みのる産業株式会社
除草機
1日前
みのる産業株式会社
除草機
1日前
井関農機株式会社
作業車両
20日前
株式会社オーツボ
海苔箱船
19日前
井関農機株式会社
作業車両
1か月前
井関農機株式会社
作業車両
15日前
松山株式会社
農作業機
1か月前
松山株式会社
草刈作業機
6日前
トヨタ自動車株式会社
育苗装置
1か月前
みのる産業株式会社
茎葉処理装置
21日前
スガノ農機株式会社
圃場作業装置
1か月前
株式会社デンソー
農業用装置
29日前
井関農機株式会社
コンバイン
1か月前
グローブライド株式会社
釣竿
28日前
株式会社小川農具製作所
穴明け装置
28日前
株式会社三生
足括り罠
8日前
グローブライド株式会社
釣竿
27日前
株式会社スズテック
播種装置
19日前
株式会社クボタ
移植機
20日前
続きを見る
他の特許を見る