TOP
|
特許
|
意匠
|
商標
特許ウォッチ
Twitter
他の特許を見る
10個以上の画像は省略されています。
公開番号
2025158754
公報種別
公開特許公報(A)
公開日
2025-10-17
出願番号
2024061614
出願日
2024-04-05
発明の名称
播種装置
出願人
株式会社スズテック
代理人
個人
,
個人
主分類
A01C
7/08 20060101AFI20251009BHJP(農業;林業;畜産;狩猟;捕獲;漁業)
要約
【課題】従来、横軸繰出ロールによる播種が、育苗容器中央部分に比し左右両側の播種密度が薄くなり、良好なマット苗とならない課題があった。
【解決手段】育苗容器Aを移送する移送台1の上方位置に、種子供給装置2を設け、種子供給装置2は、少なくとも、母線方向と平行な繰出溝部11を回転方向に複数設けた横軸繰出ロール10を有して構成し、繰出溝部11は円周方向に種子が横向き1列または2列程度に嵌合する幅に形成し、横軸繰出ロール10の外周面には母線方向に一粒の種子の横向きの幅より短かい間隔をおいて軸心に対して交差方向のスリット12を全周に設け、各スリット12には掻出用ナイフ13を嵌合させ、横軸繰出ロール10は、育苗容器Aの側壁25の上面26上方に繰出溝部11の左右端側種子嵌合部20Aが位置するように配置し、横軸繰出ロール10の下面と育苗容器Aの側壁25の上面26との間に縦板状の籾ガイド28を設けた播種装置。
【選択図】 図1
特許請求の範囲
【請求項1】
育苗容器Aを始端部から終端部に移送する移送台1の上方位置に、育苗容器Aに種子を供給する種子供給装置2を設け、種子供給装置2は、少なくとも、母線方向と平行な繰出溝部11を回転方向に複数設けた横軸繰出ロール10を有して構成し、繰出溝部11は円周方向に種子が横向き1列または2列程度に嵌合する幅に形成し、横軸繰出ロール10の外周面には母線方向に一粒の種子の横向きの幅より短かい間隔をおいて軸心に対して交差方向のスリット12を全周に設け、各スリット12には掻出用ナイフ13を嵌合させ、横軸繰出ロール10は、育苗容器Aの側壁25の上面26上方に繰出溝部11の左右端側種子嵌合部20Aが位置するように配置し、横軸繰出ロール10の下面と育苗容器Aの側壁25の上面26との間に縦板状の籾ガイド28を設けた播種装置。
続きを表示(約 1,000 文字)
【請求項2】
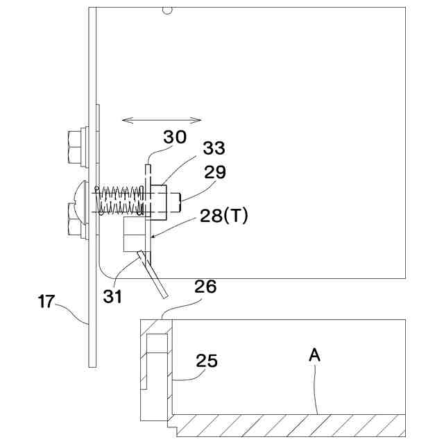
請求項1において、籾ガイド28は種子供給装置2の側板17に取付軸29により取付ける縦状の取付板部30と、横軸繰出ロール10から落下する種子を誘導する傾斜板部31を有して形成した播種装置。
【請求項3】
請求項1において、籾ガイド28は種子供給装置2の側板17に対して左右方向に位置調節自在に設けた播種装置。
【請求項4】
請求項3において、籾ガイド28の左右方向に位置調節する左右調節機構Tは、籾ガイド28の取付軸29に固定したナット33に種子供給装置2の側板17に設けた取付軸29を螺合させ、取付板部30と種子供給装置2の側板17との間の取付軸29にバネ34設けて構成した播種装置。
【請求項5】
請求項1または請求項2において、籾ガイド28の取付板部30は、取付板部30の上縁35を、掻出用ナイフ13を側板17に取付ける前側取付軸15Aの下方に位置させ、取付板部30の上側前縁37を掻出用ナイフ13の後側取付軸15Bの前側に位置させて配置した播種装置。
【請求項6】
請求項5において、籾ガイド28の取付板部30は、取付板部30に取付ける前側取付板部38と前側取付板部38に一体状に連設して後方に延長された後側取付板部39とにより構成し、後側取付板部39の後側上縁40は取付軸15Bの下方に位置させた播種装置。
【請求項7】
請求項5において、籾ガイド28の取付板部30の一部に傾斜板部31を一体状に設けた播種装置。
【請求項8】
請求項5において、籾ガイド28の取付板部30には前方に突出するストッパ43を設け、ストッパ43は種子供給装置2の前板44に係合させ、取付板部30の前側取付板部38の下縁は側板17に設けた下側ストッパ45に当接させる構成とした播種装置。
【請求項9】
請求項5において、籾ガイド28の傾斜板部31は、傾斜板部31の基部50を取付板部30の後側取付板部39に設け、傾斜板部31の先端51を横軸繰出ロール10の種子落下部52の側方に臨ませた播種装置。
【請求項10】
請求項5において、籾ガイド28の取付板部30の後側取付板部39の後側には縦状の切欠部55を設け、切欠部55より後方を傾斜板部31の先端51とし、先端51は正面視において全体を下方に至るに従い育苗容器Aの中央側に位置するように傾斜させた播種装置。
(【請求項11】以降は省略されています)
発明の詳細な説明
【技術分野】
【0001】
本発明は、移送中の育苗容器に種子を供給する種子供給装置を設けた播種装置に関するものである。
続きを表示(約 5,300 文字)
【背景技術】
【0002】
従来、図11(A)のように、母線方向と平行な繰出溝部11を回転方向に複数設けた横軸繰出ロール10を有する播種装置の構成は、公知である(特許文献1)。
【先行技術文献】
【特許文献】
【0003】
特開2013-116128号公報
【発明の概要】
【発明が解決しようとする課題】
【0004】
前記公知例では、横軸繰出ロール10による育苗容器Aへの播種が、育苗容器Aの中央部分に比し左右両側の播種密度が薄くなり、良好なマット苗が得られないという課題があった。
鋭意調査研究してみると、横軸繰出ロール10の繰出溝部11は円盤状の鋸刃より切削加工により形成していたため、横軸繰出ロール10の繰出溝部11を掻出用ナイフ13により仕切って形成される種子嵌合部20のうち、左右両側の左右端側種子嵌合部20Aの溝底は円弧状の円弧溝底21になっており、中央種子嵌合部20Bよりも種子の嵌合密度が浅く、これにより、育苗容器Aの左右両側の播種密度が薄くなることが判明した。
すなわち、図11(A)に示すように、育苗容器Aは左右の側壁25間の寸法は規格で設定されており、各メーカーが製造する育苗容器Aの内幅は同じため、側壁25の内壁位置を示す仮想線Lの上方に横軸繰出ロール10の繰出溝部11の左右端側種子嵌合部20Aを合わせていたので、育苗容器Aの左右両側の播種密度が薄くなって居たのである。
本願は、横軸繰出ロールの繰出溝部の形状を育苗容器との相対関係において工夫すると共に、育苗容器の上面上に種子が残留して無駄になるのを防止したものである。
【課題を解決するための手段】
【0005】
請求項1の発明は、育苗容器Aを始端部から終端部に移送する移送台1の上方位置に、育苗容器Aに種子を供給する種子供給装置2を設け、種子供給装置2は、少なくとも、母線方向と平行な繰出溝部11を回転方向に複数設けた横軸繰出ロール10を有して構成し、繰出溝部11は円周方向に種子が横向き1列または2列程度に嵌合する幅に形成し、横軸繰出ロール10の外周面には母線方向に一粒の種子の横向きの幅より短かい間隔をおいて軸心に対して交差方向のスリット12を全周に設け、各スリット12には掻出用ナイフ13を嵌合させ、横軸繰出ロール10は、育苗容器Aの側壁25の上面26上方に繰出溝部11の左右端側種子嵌合部20Aが位置するように配置し、横軸繰出ロール10の下面と育苗容器Aの側壁25の上面26との間に縦板状の籾ガイド28を設けた播種装置としたものである。
請求項2の発明は、籾ガイド28は種子供給装置2の側板17に取付軸29により取付ける縦状の取付板部30と、横軸繰出ロール10から落下する種子を誘導する傾斜板部31を有して形成した播種装置としたものである。
請求項3の発明は、籾ガイド28は種子供給装置2の側板17に対して左右方向に位置調節自在に設けた播種装置としたものである。
請求項4の発明は、籾ガイド28の左右方向に位置調節する左右調節機構Tは、籾ガイド28の取付軸29に固定したナット33に種子供給装置2の側板17に設けた取付軸29を螺合させ、取付板部30と種子供給装置2の側板17との間の取付軸29にバネ34設けて構成した播種装置としたものである。
請求項5の発明は、籾ガイド28の取付板部30は、取付板部30の上縁35を、掻出用ナイフ13を側板17に取付ける前側取付軸15Aの下方に位置させ、取付板部30の上側前縁37を掻出用ナイフ13の後側取付軸15Bの前側に位置させて配置した播種装置としたものである。
請求項6の発明は、籾ガイド28の取付板部30は、取付板部30に取付ける前側取付板部38と前側取付板部38に一体状に連設して後方に延長された後側取付板部39とにより構成し、後側取付板部39の後側上縁40は取付軸15Bの下方に位置させた播種装置としたものである。
請求項7の発明は、籾ガイド28の取付板部30の一部に傾斜板部31を一体状に設けた播種装置としたものである。
請求項8の発明は、籾ガイド28の取付板部30には前方に突出するストッパ43を設け、ストッパ43は種子供給装置2の前板44に係合させ、取付板部30の前側取付板部38の下縁は側板17に設けた下側ストッパ45に当接させる構成とした播種装置としたものである。
請求項9の発明は、籾ガイド28の傾斜板部31は、傾斜板部31の基部50を取付板部30の後側取付板部39に設け、傾斜板部31の先端先端51を横軸繰出ロール10の種子落下部52の側方に臨ませた播種装置としたものである。
請求項10発明は、籾ガイド28の取付板部30の後側取付板部39の後側には縦状の切欠部55を設け、切欠部55より後方を傾斜板部31の先端51とし、先端51は正面視において全体を下方に至るに従い育苗容器Aの中央側に位置するように傾斜させた播種装置としたものである。
請求項11の発明は、籾ガイド28の傾斜板部31の下端は育苗容器Aの側壁25の内面上方に配置した播種装置としたものである。
【発明の効果】
【0006】
請求項1の発明では、横軸繰出ロール10は、育苗容器Aの側壁25の上面26上方に繰出溝部11の左右端側種子嵌合部20Aが位置するように配置し、横軸繰出ロール10の下面と育苗容器Aの側壁25の上面26との間に縦板状の籾ガイド28を設けているので、育苗容器Aの側壁25の内側の際であっても、播種密度を中央部分と同等に種子を繰り出し、育苗容器Aへの播種を均等に行える。
請求項2の発明では、籾ガイド28は種子供給装置2の側板17に取付軸29により取付ける縦状の取付板部30と、横軸繰出ロール10から落下する種子を誘導する傾斜板部31を有して形成しているので、籾ガイド28は取付板部30により取付けを容易にし、傾斜板部31により落下種子を育苗容器Aに誘導する。
請求項3の発明では、籾ガイド28は種子供給装置2の側板17に対して左右方向に位置調節自在に設けているので、外形寸法の相違する育苗容器Aであっても、育苗容器Aの側壁25の上面26の位置に合わせて籾ガイド28を左右に移動させることができ、種子の飛散を防止する。
請求項4の発明では、籾ガイド28の左右方向に位置調節する左右調節機構Tは、籾ガイド28の取付板部30に固定したナット33に種子供給装置2の側板17に設けた取付軸29を螺合させ、取付板部30と種子供給装置2の側板17との間の取付軸29にバネ34設けて構成しているので、籾ガイド28はバネ34により常時内側に移動するように付勢されて、がたつきが防止される。
請求項5の発明では、籾ガイド28の取付板部30は、取付板部30の上縁35を、掻出用ナイフ13を側板17に取付ける前側取付軸15Aの下方に位置させ、取付軸29の上側前縁37を掻出用ナイフ13の後側取付軸15Bの前側に位置させて配置しているので、掻出用ナイフ13の基部の取付部分の下方空間を有効利用して籾ガイド28を設けられる。
請求項6の発明では、籾ガイド28の取付板部30は、取付板部30に取付ける前側取付板部38と前側取付板部38に一体状に連設して後方に延長された後側取付板部39とにより構成し、後側取付板部39の後側上縁40は取付軸15Bの下方に位置させているので、掻出用ナイフ13の取付支持部材である取付軸15Bに干渉せずに、籾ガイド28を取付付けられる。
請求項7の発明では、籾ガイド28の取付板部30の一部に傾斜板部31を一体状に設けているので、籾ガイド28の構成を簡素にすることができる。
請求項8の発明では、籾ガイド28の取付板部30には前方に突出するストッパ43を設け、ストッパ43は種子供給装置2の前板44に係合させ、取付板部30の前側取付板部38の下縁は側板17に設けた下側ストッパ45に当接させる構成としているので、籾ガイド28の左右調節機構Tの取付軸29を左右何れかに回転させると、取付板部30はストッパ43と下側ストッパ45の作用により回転せずに取付軸29の軸方向に移動させ、籾ガイド28の左右位置を調節する。
請求項9の発明では、籾ガイド28の傾斜板部31は、傾斜板部31の基部50を取付板部30の後側取付板部39に設け、傾斜板部31の先端51を横軸繰出ロール10の種子落下部52の側方に臨ませているので、傾斜板部31は種子落下部52より横軸繰出ロール10の回転上昇側で落下する種子を育苗容器Aに誘導する。
請求項10の発明では、籾ガイド28の取付板部30の後側取付板部39の後側には縦状の切欠部55を設け、切欠部55より後方を傾斜板部31の先端51とし、先端51は正面視において全体を下方に至るに従い育苗容器Aの中央側に位置するように傾斜させているので、籾ガイド28は横軸繰出ロール10から繰り出された種子を育苗容器A内に誘導し、育苗容器Aの側壁25の上面26上への残留を防止する。
請求項11の発明では、籾ガイド28の傾斜板部31の下端は育苗容器Aの側壁25の内面上方に配置しているので、籾ガイド28は横軸繰出ロール10から繰り出された種子を育苗容器A内に確実に誘導する。
【図面の簡単な説明】
【0007】
種子供給装置の側面図。
同一部断面図。
横軸繰出ロールの一部破断状態の側面図。
種子供給装置の平面図および一部拡大図。
籾ガイド付近の側面図。
同一部断面状態の正面図。
種子落下部の側面図。
種子落下部の正面図。
籾ガイドの側面図および正面図。
横軸繰出ロールと籾ガイドと育苗容器の位置関係を示す正面図。
(A)公知例の横軸繰出ロールと育苗容器の位置関係を示す正面図。 (B)本発明の横軸繰出ロールと育苗容器の位置関係を示す正面図。
【発明を実施するための形態】
【0008】
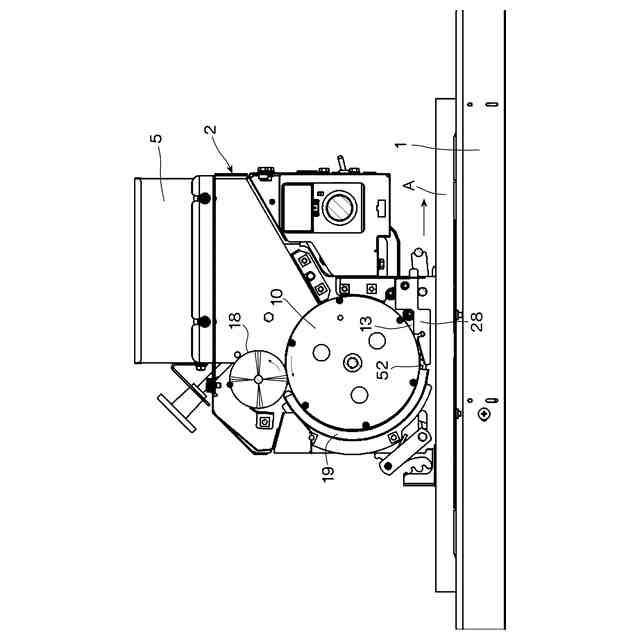
本発明の一実施形態を図面により説明すると、1は育苗容器Aを移送する移送台であり、移送台1の上方位置には育苗容器Aに種子を供給する種子供給装置2を設ける。
なお、理解を容易にするため、育苗容器Aの移送方向を基準に、前後・左右・上下等の方向を便宜的に示して説明するが、これらによって、本発明の構成が限定されるものではない。
種子供給装置2は、上部に種子供給ホッパー5を着脱自在に取付ける。図示は省略するが、種子供給ホッパー5の上方に補助ホッパーを設けることもある。
種子供給ホッパー5の下部は漏斗状に形成し、種子供給ホッパー5のホッパー供給口6には、種子供給ホッパー5内の種子を繰出す軸心が左右方向の大径の横軸繰出ロール10を設ける。
【0009】
横軸繰出ロール10の外周面には、母線方向(左右方向)に平行な横条溝形状の繰出溝部11を横軸繰出ロール10の回転方向に所定間隔をおいて全周に複数形成する。繰出溝部11は円周方向に種子が回転方向に横向きで1列または2列程度に嵌合する幅(回転方向幅)に形成される。横軸繰出ロール10の外周面には母線方向(左右方向)に一粒の種子の横向きの幅より短かい間隔をおいてスリット12を全周に設ける。スリット12の深さは繰出溝部11と略同じか若干深く形成し(図3)、各スリット12には掻出用ナイフ13を嵌合させる(図7)。
横軸繰出ロール10は、その直径を150ミリメートル以上の大径に形成する。
そのため、小径の横軸繰出ロール10に比し、大径の横軸繰出ロール10では同じ回転数でも種子落下位置を通過する繰出溝部11の数が増加する等の理由で、播種量を増加させられ、作業効率を向上させられる。
【0010】
掻出用ナイフ13は、スリット12に嵌合させることができる厚さの板部材により構成する。掻出用ナイフ13の基部には一対の取付孔(図示省略)を形成し、取付孔には左右方向の取付軸15を挿通し、各掻出用ナイフ13の間の取付軸15には筒部材(スペーサー)16を挿入する。筒部材16は前記スリット12の間隔より短い長さに形成し、筒部材16を取付軸15に挿通すると、各筒部材16が掻出用ナイフ13に当接し、掻出用ナイフ13は筒部材16により取付軸15の軸方向に略同一間隔に並び、しかも、各掻出用ナイフ13が取付軸15の軸方向に移動しながらスリット12に嵌合する構成としている。
(【0011】以降は省略されています)
この特許をJ-PlatPat(特許庁公式サイト)で参照する
関連特許
個人
草刈り鋏
2日前
個人
刈込鋏保持具
16日前
個人
イカ釣り用ヤエン
20日前
株式会社丹勝
緑化工法
17日前
井関農機株式会社
作業車両
20日前
井関農機株式会社
作業車両
18日前
井関農機株式会社
作業車両
10日前
井関農機株式会社
作業車両
10日前
個人
四足動物用装着具
3日前
大栄工業株式会社
捕獲器
10日前
株式会社オーツボ
海苔箱船
2日前
井関農機株式会社
作業車両
3日前
井関農機株式会社
作業車両
16日前
松山株式会社
農作業機
16日前
トヨタ自動車株式会社
育苗装置
17日前
みのる産業株式会社
茎葉処理装置
4日前
スガノ農機株式会社
圃場作業装置
17日前
株式会社デンソー
農業用装置
12日前
株式会社スズテック
播種装置
2日前
グローブライド株式会社
釣竿
11日前
株式会社小川農具製作所
穴明け装置
11日前
グローブライド株式会社
釣竿
10日前
井関農機株式会社
コンバイン
17日前
グローブライド株式会社
釣用のルアー
12日前
グローブライド株式会社
魚釣用リール
9日前
株式会社クボタ
移植機
3日前
株式会社クボタ
移植機
3日前
株式会社笑農和
制御装置および送水装置
16日前
個人
装飾品及び装飾品の製造方法
16日前
株式会社クボタ
コンバイン
11日前
株式会社クボタ
コンバイン
11日前
株式会社クロノコーポレーション
留め具
2日前
サンリット・シードリングス株式会社
栽培方法
2日前
株式会社ユシロ
光徐放性組成物、及び物品
11日前
株式会社クボタ
コンバイン
11日前
個人
塩ビパイプでつくる両側入口のネズミ捕獲器
16日前
続きを見る
他の特許を見る