TOP
|
特許
|
意匠
|
商標
特許ウォッチ
Twitter
他の特許を見る
公開番号
2025168137
公報種別
公開特許公報(A)
公開日
2025-11-07
出願番号
2024081296
出願日
2024-04-26
発明の名称
可動リップ付きルアー
出願人
個人
代理人
主分類
A01K
91/00 20060101AFI20251030BHJP(農業;林業;畜産;狩猟;捕獲;漁業)
要約
【課題】 ルアー本体に取り付けられるリップの長さを、一定範囲で任意の長さに調整することが可能なルアーを提供する。
【解決手段】 ルアー本体の、釣り糸が接合される部分の近傍に、外部から回転可能に配された雄ネジまたは歯車を配し、雄ネジまたは歯車のピッチと同じ間隔で設けられた溝を表面に有し、溝と雄ネジまたは歯車が係合した状態の板状のリップを、少なくとも一部が、ルアー本体の外部に突出した状態で、ルアー本体内に収納した構造とする。ルアーをこのような構成とし、雄ネジまたは歯車を回転させることにより、リップのルアー本体から突出した部分の長さが調整可能となり、水中におけるルアーの動きの多様性を向上できる。
【選択図】図1
特許請求の範囲
【請求項1】
ルアーにおける、糸で曳く側の端部近傍に、一方の端部が前記ルアー本体内に収納され、他方の端部が前記ルアー本体の外部に突出した状態で、板状のリップが配され、前記リップの前記ルアー本体から突出した部分の長さの調整機構を有することを特徴とするルアー。
続きを表示(約 390 文字)
【請求項2】
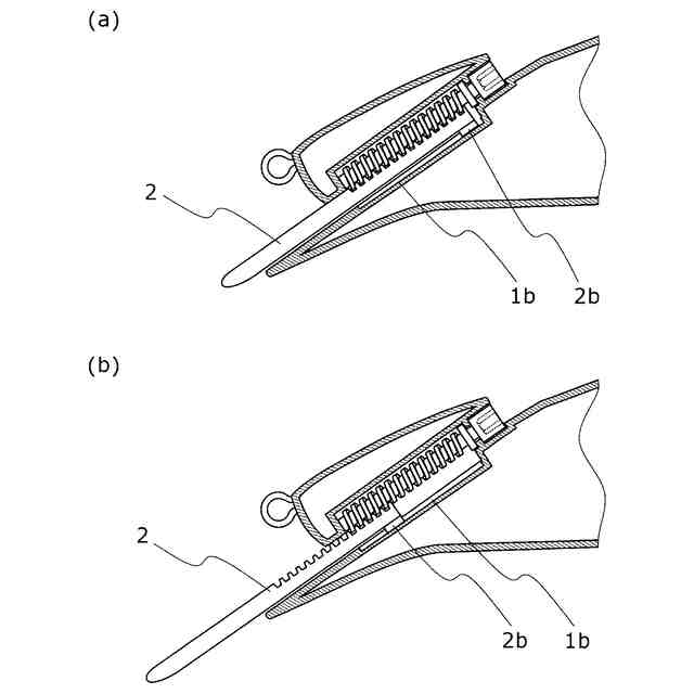
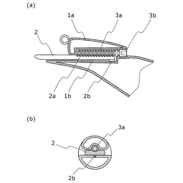
前記調整機構は、前記ルアー本体における、前記リップが収納されている部分に、回転可能に配されてなる雄ネジまたは歯車と、前記リップの、前記雄ネジまたは前記歯が配された側の面に、前記雄ネジまたは前記歯車のピッチと同じ間隔で設けられた、前記雄ネジのネジ山または前記歯車の歯が篏合する形状の、複数の溝を有し、前記溝と、前記雄ネジのネジ山または前記歯車の歯が、係合した状態で配されてなる構成を有することを特徴とする、請求項1に記載のルアー。
【請求項3】
前記リップにおける、前記溝が配されている面と反対側の表面には、前記表面から突出した、ストッパーが設けられ、前記ルアー本体の、前記リップにおける前記反対側の表面と接する部分には、前記ルアーの長さ方向に、前記ストッパーが摺動可能に篏合するガイド溝が設けられてなることを特徴とする、請求項2に記載のルアー。
発明の詳細な説明
【技術分野】
【0001】
本発明は、釣りに用いられるルアーに関し、特に、ルアーの水中における運動を制御するためのリップを具備するルアーに関するものである。
続きを表示(約 1,500 文字)
【背景技術】
【0002】
釣りの対象となる魚には、小魚などを餌として捕食するものがある。ルアーは、水中に投入された後、連結される釣り糸の操作により、餌となる小魚などと同じように動かされることで、魚がルアーを餌と勘違いして食いつくことを目的として使用され、その動作の制御のため、リップと称される板状の部品が取り付けられることがある。
【0003】
従来のリップ付ルアーには投入された後に浮力をもって沈まないフローティングのものがあり、リップが水の抵抗を受け潜航するものであるが、ルアーの潜航深度はリールの回転速度と回転数を調整し、ルアーを潜航させながら泳がせ、リールの回転を止めてルアーを浮上させるアクションを数回繰り返していた。ルアーを泳がせる深度が深い場合は、ルアーをより深く潜航させることが必要で、そのためにはリールの回転速度を早く、回転数を多くする事が求められていた。しかし、ルアー本体の重量が軽いため飛距離が限られ、リールの回転数を多くした場合は、より多くの糸を巻き取ることになり、そのアクションの繰り返しの回数が少なくなり、魚にアプローチする機会を損ねてしまうことがあった。
【0004】
これに対処するために、リール回転速度に依存することなく、ルアーの潜航深度を増加するには、リップのルアー本体から突出する長さを延長させて、水の抵抗を多くすることでルアーの潜航深度をより深くする方法がある。このような観点で、従来技術を概観すると、特許文献1には、ルアー本体に装着されるリップ本体が着脱自在に構成されていることを特徴とする着脱自在なリップ交換ルアーが開示されている。
【0005】
しかし、ここに開示されているリップ交換ルアーは、多数のリップを準備し、状況に応じて使い分けることが必要となり、コストの観点から改善の余地がある。
【0006】
また、特許文献2には、ルアー本体と、ルアー本体の先端部に取り付けられたリップを有するルアーにおいて、リップがゴム状弾性を有する素材で構成され且つリールのリトリーブ速度によって前記リップが水圧で弾性変形自在な柔軟性を有することを特徴とする、ルアーが公開され、リールのリトリーブ速度によって、リップが水中で弾性変形し、その変形状態によって当該ルアーの水中におけるS字系挙動等の度合いを適宜変更可能としている。しかし、ここに開示されているルアーの機能は、リップに用いる材質への依存性が大きく、使用条件が限定されると考えられる。
【先行技術技術】
【】
【特許文献】
【0007】
登録実用新案第3029154号公報
特開2019-187248号公報
【発明の概要】
【発明が解決しようとする課題】
【0008】
そこで、本発明の課題は、ルアー本体に取り付けられるリップの長さを、一定範囲で任意の長さに調整することが可能なルアーを提供することにある。
【課題を解決するための手段】
【0009】
本発明は、前記課題の解決のため、ルアー本体へのリップの接合構造を、鋭意検討した結果、なされたものである。
【0010】
上記課題を解決するための、本発明の一態様に係るルアーは、ルアーにおける、糸で曳く側の端部近傍に、一方の端部が前記ルアー本体内に収納され、他方の端部が前記ルアー本体の外部に突出した状態で、板状のリップが配され、前記リップの前記ルアー本体から突出した部分の長さの調整機構を有することを特徴とする。
(【0011】以降は省略されています)
この特許をJ-PlatPat(特許庁公式サイト)で参照する
関連特許
個人
産卵床
1日前
個人
平板植栽
2日前
個人
蠅捕獲器
1か月前
個人
釣り用錘
19日前
個人
草刈り鋏
1か月前
個人
蜜蜂保護装置
1か月前
個人
果実袋
1日前
個人
噴霧器ノズル
17日前
個人
草刈機用回転刃
1か月前
個人
種子の製造方法
1か月前
個人
養殖器具
1日前
個人
移動体草刈り機
1日前
個人
昆虫捕集器
1か月前
個人
水田排水量調整器具
1日前
個人
可動リップ付きルアー
22日前
株式会社剛樹
釣り竿
15日前
個人
餌付き針の餌取り防止具
25日前
個人
ブルーカーボンシステム
22日前
株式会社ナベル
表示システム
25日前
個人
四足動物用装着具
1か月前
井関農機株式会社
圃場作業機
22日前
有限会社信英精密
括り罠
9日前
積水樹脂株式会社
シート止め具
1日前
井関農機株式会社
苗移植機
9日前
井関農機株式会社
作業車両
1か月前
みのる産業株式会社
除草機
25日前
みのる産業株式会社
除草機
25日前
松山株式会社
収穫機
22日前
井関農機株式会社
作業車両
1か月前
松山株式会社
収穫機
22日前
個人
粘着板で挟むネズミ捕り装置
1日前
個人
網口高さのベクトル底引き網
1日前
株式会社オーツボ
海苔箱船
1か月前
株式会社アテックス
芝草の刈取装置
8日前
三恵技研工業株式会社
ルアー
1日前
株式会社中村工務店
潅水装置
2日前
続きを見る
他の特許を見る