TOP
|
特許
|
意匠
|
商標
特許ウォッチ
Twitter
他の特許を見る
10個以上の画像は省略されています。
公開番号
2025173714
公報種別
公開特許公報(A)
公開日
2025-11-28
出願番号
2024079409
出願日
2024-05-15
発明の名称
シート止め具
出願人
積水樹脂株式会社
代理人
主分類
A01G
9/14 20060101AFI20251120BHJP(農業;林業;畜産;狩猟;捕獲;漁業)
要約
【課題】はめ込み強度が高いシート止め具であっても、容易かつ強固にシート状物を挟んでパイプ部材に固定可能なシート止め具を提供する
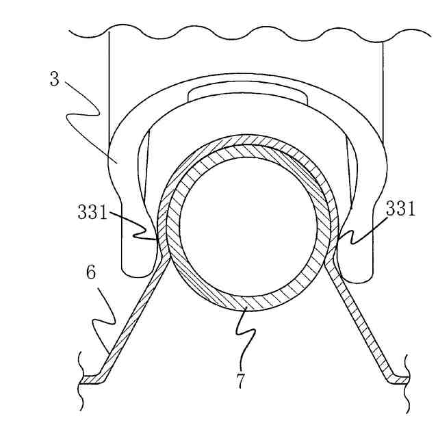
【解決手段】シート止め具1は、円筒状の周壁の一部を軸方向に沿って開口させた第1開口部を形成した本体部2と、円筒状の周壁の一部を軸方向に沿って開口させた第2開口部を有し、前記本体部よりも軸方向の長さが短い仮止め部3と、前記本体部2と仮止め部3との間に配置され、円筒状の周壁の一部を軸方向に沿って開口させた第3開口部41を有し、前記第1開口部よりも開口幅が広い導入部4を備えることを特徴とする。
【選択図】図1
特許請求の範囲
【請求項1】
シート状物を挟んでパイプ部材に嵌着させることにより、シート状物をパイプ部材に固定するためのシート止め具であって、円筒状の周壁の一部を軸方向に沿って開口させた第1開口部を有する本体部と、円筒状の周壁の一部を軸方向に沿って開口させた第2開口部を有して前記本体部よりも軸方向の長さが短い仮止め部と、前記本体部と仮止め部との間に配置され、円筒状の周壁の一部を軸方向に沿って開口させた第3開口部を有して前記第1開口部よりも開口幅が広い導入部と、を備え、前記第1開口部、第2開口部及び第3開口部は軸方向に連続しているシート止め具。
続きを表示(約 510 文字)
【請求項2】
前記導入部は、本体部から仮止め部方向へ向かうにつれ、対向する開口端部同士の距離が広がるようになされている請求項1に記載のシート止め具。
【請求項3】
本体部の周壁には、内側へ押圧する押圧部材が取付けられている請求項1又は2に記載のシート止め具。
【請求項4】
パイプ部材と、シート状物と、シート止め具と、を備え、前記シート止め具は、円筒状の周壁の一部を軸方向に沿って開口させた第1開口部21を有する本体部と、円筒状の周壁の一部を軸方向に沿って開口させた第2開口部31を有して前記本体部から軸方向に離れて配置された仮止め部と、を備えたシート状物の固定方法であって、前記パイプ部材の軸方向に沿って前記シート状物を配置する第1工程と、前記パイプ部材に対して前記シート状物を挟んで仮止め部のみ取付けられた第2工程と、第2工程で前記パイプ部材に嵌着された前記シート止め具の本体部が前記シート状物を挟んで前記パイプ部材に嵌着される第3工程と、を備え、前記第2工程では、前記パイプ部材の軸方向に対して、前記シート止め具の軸方向が傾斜した状態で取付けられる、シート状物の固定方法。
発明の詳細な説明
【技術分野】
【0001】
本発明は、シート状物をパイプ部材に対して固定するための止め具に関するものであり、より詳しくは、ビニールハウス等の設備において、その骨組みであるパイプ部材に対しシート状物を固定するためのシート止め具に関するものである。
続きを表示(約 1,500 文字)
【背景技術】
【0002】
農園芸用に使用される所謂ビニールハウスは、パイプ部材をつなぎ合わせて、組立体を形成し、これに合成樹脂製でシート状の覆いを被せて簡易の温室とするものである。
【0003】
シート状の覆いは、前記組立体に被せただけでは風などにより飛ばされる可能性が高いので、これを何らかの手段で、しっかりと組立体に固定する必要がある。そのため従来より様々なシート止め具が考案されている。
【0004】
下記特許文献1に示すフィルム取付具はその一例であり、この発明は、円筒の周壁の一部を軸方向に切り欠いて開口させた開口部を形成した形状であり、開口部よりシート状物及びパイプ部材を導入して、本体部の内周面がシート状物を挟んでパイプ部材に嵌着するシート止め具を提供するものである。
【先行技術文献】
【特許文献】
【0005】
特許5567993号公報
【発明の概要】
【発明が解決しようとする課題】
【0006】
しかしながら、この従来のシート止め具によれば、開口部に沿ってシート状物を被覆したパイプ部材を当てるようにしてシート止め具を押し付け、嵌め込むため、シート止め具を嵌着させるために必要な力は、シート止め具のはめ込み強度に比例して上昇する。シート状物のずれや、風等の外部の力によるシート止め具の脱落等を防止するため、はめ込み強度が高いシート止め具が必要とされるが、嵌着させるために相当の力が必要となり、作業性が低下する問題があった
【0007】
また、シート止め具の長手方向端部近傍に、開口端部同士の距離を徐々に広げることで、端部より嵌着させる際に、動作を容易とする導入部を設けることが提案されているが、端部の接地面積が限られ不安定であること、嵌着させるために必要な力がはめ込み強度に比例することに変わりはないため、作業性の改善は出来ていない。
【0008】
本発明は、前記従来の問題点を克服するためになされたものであり、はめ込み強度が高いシート止め具であっても、容易かつ強固にシート状物を挟んでパイプ部材に取付可能なシート止め具を提供することを目的とする。
【課題を解決するための手段】
【0009】
上記課題を解決するため、本発明に係るシート止め具は、シート状物を挟んでパイプ部材に嵌着させることにより、シート状物をパイプ部材に固定するためのシート止め具であって、円筒状の周壁の一部を軸方向に沿って開口させた第1開口部を形成した本体部と、円筒状の周壁の一部を軸方向に沿って開口させた第2開口部を有して前記本体部よりも軸方向の長さが短い仮止め部と、前記本体部と仮止め部との間に配置され、円筒状の周壁の一部を軸方向に沿って開口させた第3開口部を有して前記第1開口部よりも開口幅が広い導入部と、を備え、前記第1開口部、第2開口部及び第3開口部は軸方向に連続していることを特徴とする。
【0010】
また、本発明に係るシート状物をパイプ部材に固定する方法は、パイプ部材の軸方向に沿って、シート状物を配置する第1工程と、前記パイプ部材に対して前記シート状物を挟んで、第2開口部より仮止め部のみをパイプ部材に取付けた第2工程と、第3開口部より導入部へ、第1開口部より本体部へ、それぞれ前記シート状物を挟んで前記パイプ部材が挿入され、嵌着される第3工程とを備えた、シート状物の固定方法。
(【0011】以降は省略されています)
この特許をJ-PlatPat(特許庁公式サイト)で参照する
関連特許
個人
産卵床
今日
個人
平板植栽
1日前
個人
釣り用錘
18日前
個人
果実袋
今日
個人
蜜蜂保護装置
29日前
個人
噴霧器ノズル
16日前
個人
養殖器具
今日
個人
移動体草刈り機
今日
個人
水田排水量調整器具
今日
株式会社剛樹
釣り竿
14日前
個人
可動リップ付きルアー
21日前
株式会社ナベル
表示システム
24日前
個人
餌付き針の餌取り防止具
24日前
個人
ブルーカーボンシステム
21日前
井関農機株式会社
圃場作業機
21日前
有限会社信英精密
括り罠
8日前
積水樹脂株式会社
シート止め具
今日
個人
網口高さのベクトル底引き網
今日
個人
粘着板で挟むネズミ捕り装置
今日
みのる産業株式会社
除草機
24日前
松山株式会社
収穫機
21日前
みのる産業株式会社
除草機
24日前
松山株式会社
収穫機
21日前
井関農機株式会社
苗移植機
8日前
株式会社中村工務店
潅水装置
1日前
株式会社アテックス
芝草の刈取装置
7日前
三恵技研工業株式会社
ルアー
今日
個人
自閉式「洗濯バサミ型」虫捕獲器
8日前
松山株式会社
草刈作業機
29日前
株式会社シマノ
釣糸ガイド
21日前
株式会社シマノ
釣糸ガイド
21日前
株式会社エヌエスシー
鳥害防止装置
8日前
株式会社クボタ
作業車
16日前
新・産業洗浄株式会社
陸上養殖装置
今日
星和電機株式会社
防爆形捕虫器
今日
株式会社クボタ
作業車両
14日前
続きを見る
他の特許を見る