TOP
|
特許
|
意匠
|
商標
特許ウォッチ
Twitter
他の特許を見る
10個以上の画像は省略されています。
公開番号
2025171447
公報種別
公開特許公報(A)
公開日
2025-11-20
出願番号
2024076806
出願日
2024-05-09
発明の名称
鳥害防止装置
出願人
株式会社エヌエスシー
代理人
個人
主分類
A01M
29/32 20110101AFI20251113BHJP(農業;林業;畜産;狩猟;捕獲;漁業)
要約
【課題】鳥が忌避する空間を大きくすることが可能な鳥害防止装置の提供。
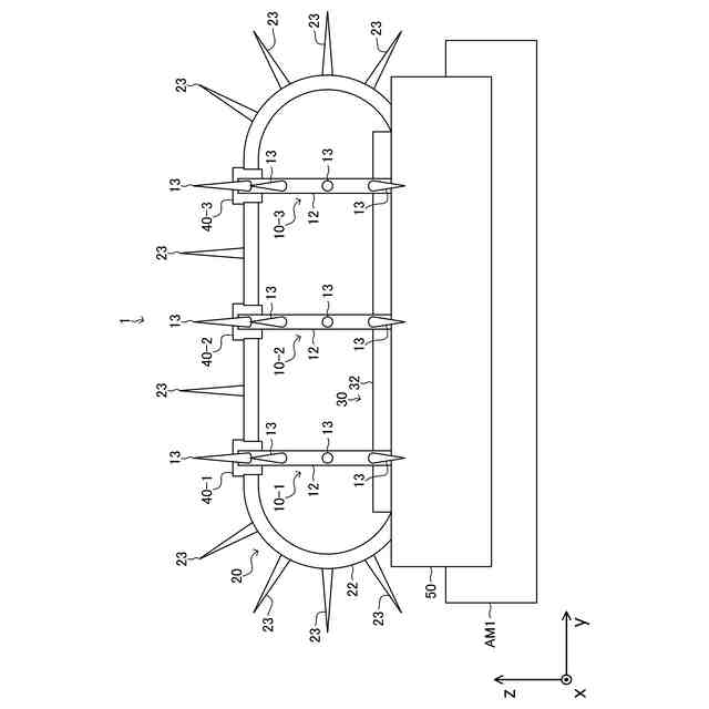
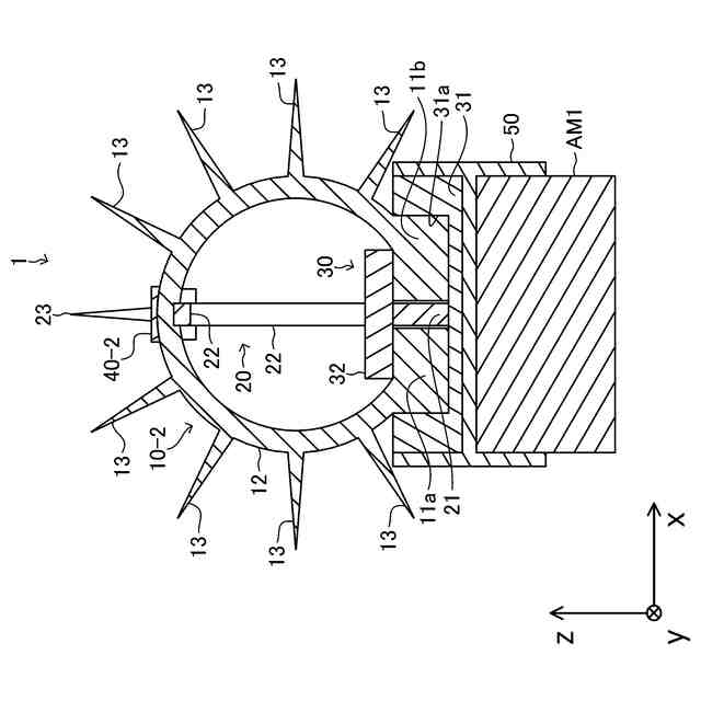
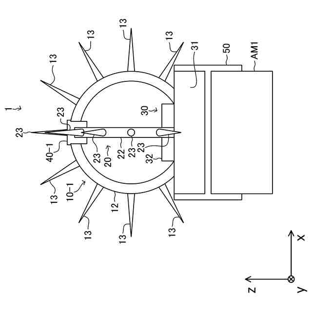
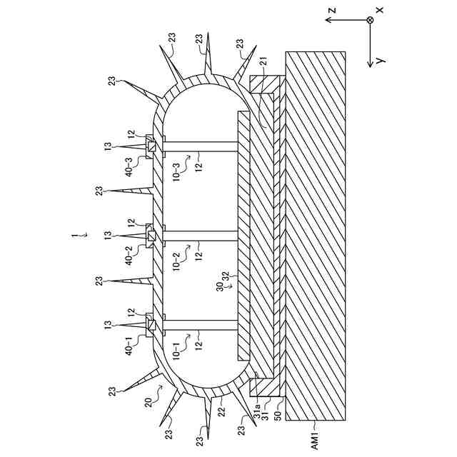
【解決手段】複数の突起具10-1~10-N,20と、複数の突起具を固定する固定具31,32と、を備え。複数の突起具は、突起具に対する基準面における基準方向にて延在する基台部11a,11b,21と、基台部から両端がそれぞれ延出するとともに基台部から隔てられた位置を通る曲線に沿って延在する曲線部12,22と、曲線部から外方へ突出する複数の突起部13,23と、を備え、第1突起具10-1~10-Nの基台部は、曲線部の両端にそれぞれ連接する第1構成体11a及び第2構成体11bを備えるとともに、第1構成体と第2構成体とが基準方向にて互いに隔てらおり、固定具は、第2突起具20の曲線部が、第1突起具の曲線部の内方を通過するように曲線部が互いに交差する状態において、複数の突起具を固定する鳥害防止装置。
【選択図】図7
特許請求の範囲
【請求項1】
複数の突起具と、前記複数の突起具を固定する固定具と、を備え、
前記複数の突起具のそれぞれは、
当該突起具に対する基準面における基準方向にて延在する基台部と、
前記基台部のうちの、前記基準方向にて異なる2つの位置から両端がそれぞれ延出するとともに、前記基準面において前記基準方向に直交する方向にて前記基台部から隔てられた位置を通る曲線に沿って延在する曲線部と、
前記曲線部から外方へ突出する複数の突起部と、
を備え、
前記複数の突起具のうちの1つである第1突起具の前記基台部は、前記曲線部の両端にそれぞれ連接する第1構成体及び第2構成体を備えるとともに、前記第1構成体と前記第2構成体とが前記基準方向にて互いに隔てられ、
前記固定具は、前記複数の突起具のうちの他の1つである第2突起具の前記曲線部が、前記第1突起具の前記曲線部の内方を通過するように前記第1突起具の前記曲線部と前記第2突起具の前記曲線部とが交差する状態において、前記複数の突起具を固定する、鳥害防止装置。
続きを表示(約 490 文字)
【請求項2】
請求項1に記載の鳥害防止装置であって、
前記固定具は、前記複数の突起具のそれぞれに対して、前記基準方向にて延在する直線状の穴を有し、
前記複数の突起具のそれぞれは、前記基台部が前記穴に嵌入される、鳥害防止装置。
【請求項3】
請求項1又は請求項2に記載の鳥害防止装置であって、
前記第1突起具の前記曲線部は、前記第2突起具の前記曲線部と交差する部分において、当該第2突起具の前記曲線部と係合する凹部を有する、鳥害防止装置。
【請求項4】
請求項1又は請求項2に記載の鳥害防止装置であって、
前記第2突起具の前記曲線部は、前記第1突起具の前記曲線部と交差する部分において、当該第1突起具の前記曲線部と係合する凹部を有する、鳥害防止装置。
【請求項5】
請求項1又は請求項2に記載の鳥害防止装置であって、
前記第1突起具及び前記第2突起具のうちの、前記第1突起具の前記曲線部と前記第2突起具の前記曲線部とが交差する部分が嵌入される溝を有する係止具を備える、鳥害防止装置。
発明の詳細な説明
【技術分野】
【0001】
本発明は、鳥害防止装置に関する。
続きを表示(約 1,500 文字)
【背景技術】
【0002】
電柱等の高所において、カラス等の鳥が忌避する空間を設ける鳥害防止装置が知られている。例えば、特許文献1に記載の鳥害防止装置は、基準面において円に沿って延在する円環状の回転部と、回転部の外周に設けられる複数の突起部と、を備える。回転部は、中心軸が軸棒により回転可能に支持される。
【先行技術文献】
【特許文献】
【0003】
特開2018-85939号公報
【発明の概要】
【発明が解決しようとする課題】
【0004】
ところで、上記鳥害防止装置は、1つの基準面においてのみ突起部が存在するため、鳥が忌避する空間が比較的小さいという課題があった。そこで、複数の鳥害防止装置を、回転部が互いに交差するように組み合わせることにより、鳥が忌避する空間を大きくすることが考えられる。
【0005】
しかしながら、上記鳥害防止装置においては、回転部を支持する軸棒が干渉するため、回転部が互いに交差するように複数の鳥害防止装置を組み合わせることができない。
このように、上記鳥害防止装置においては、鳥が忌避する空間が比較的小さいという課題があった。
【0006】
本発明の目的の一つは、鳥が忌避する空間を大きくすることである。
【課題を解決するための手段】
【0007】
一つの側面では、鳥害防止装置は、複数の突起具と、複数の突起具を固定する固定具と、を備える。
複数の突起具のそれぞれは、基台部と、曲線部と、複数の突起部と、を備える。
基台部は、突起具に対する基準面における基準方向にて延在する。
曲線部は、基台部のうちの、基準方向にて異なる2つの位置から両端がそれぞれ延出するとともに、基準面において基準方向に直交する方向にて基台部から隔てられた位置を通る曲線に沿って延在する。
突起部は、曲線部から外方へ突出する。
【0008】
複数の突起具のうちの1つである第1突起具の基台部は、曲線部の両端にそれぞれ連接する第1構成体及び第2構成体を備えるとともに、第1構成体と第2構成体とが基準方向にて互いに隔てられる。
固定具は、複数の突起具のうちの他の1つである第2突起具の曲線部が、第1突起具の曲線部の内方を通過するように第1突起具の曲線部と第2突起具の曲線部とが交差する状態において、複数の突起具を固定する。
【発明の効果】
【0009】
鳥が忌避する空間を大きくすることができる。
【図面の簡単な説明】
【0010】
第1実施形態の鳥害防止装置の斜視図である。
第1実施形態の鳥害防止装置の正面図である。
第1実施形態の鳥害防止装置の側面図である。
第1実施形態の鳥害防止装置の平面図である。
第1実施形態の鳥害防止装置の断面図である。
第1実施形態の鳥害防止装置の断面図である。
第1実施形態の鳥害防止装置の分解斜視図である。
第1実施形態の鳥害防止装置の分解斜視図である。
第2実施形態の鳥害防止装置の斜視図である。
第2実施形態の鳥害防止装置の平面図である。
第2実施形態の鳥害防止装置の断面図である。
第2実施形態の鳥害防止装置の分解斜視図である。
第2実施形態の鳥害防止装置の分解斜視図である。
【発明を実施するための形態】
(【0011】以降は省略されています)
この特許をJ-PlatPat(特許庁公式サイト)で参照する
関連特許
株式会社エヌエスシー
鳥害防止装置
今日
個人
草刈り鋏
1か月前
個人
釣り用錘
10日前
個人
蠅捕獲器
1か月前
個人
噴霧器ノズル
8日前
個人
蜜蜂保護装置
21日前
個人
種子の製造方法
27日前
個人
草刈機用回転刃
1か月前
個人
昆虫捕集器
27日前
個人
可動リップ付きルアー
13日前
株式会社剛樹
釣り竿
6日前
井関農機株式会社
作業車両
1か月前
井関農機株式会社
作業車両
1か月前
個人
ブルーカーボンシステム
13日前
個人
四足動物用装着具
1か月前
井関農機株式会社
圃場作業機
13日前
個人
餌付き針の餌取り防止具
16日前
株式会社ナベル
表示システム
16日前
大栄工業株式会社
捕獲器
1か月前
有限会社信英精密
括り罠
今日
松山株式会社
収穫機
13日前
株式会社オーツボ
海苔箱船
1か月前
井関農機株式会社
作業車両
1か月前
井関農機株式会社
苗移植機
今日
井関農機株式会社
作業車両
1か月前
みのる産業株式会社
除草機
16日前
松山株式会社
収穫機
13日前
みのる産業株式会社
除草機
16日前
松山株式会社
草刈作業機
21日前
個人
自閉式「洗濯バサミ型」虫捕獲器
今日
みのる産業株式会社
茎葉処理装置
1か月前
株式会社シマノ
釣糸ガイド
13日前
株式会社シマノ
釣糸ガイド
13日前
株式会社小川農具製作所
穴明け装置
1か月前
株式会社クボタ
作業車
8日前
株式会社スズテック
播種装置
1か月前
続きを見る
他の特許を見る