TOP
|
特許
|
意匠
|
商標
特許ウォッチ
Twitter
他の特許を見る
10個以上の画像は省略されています。
公開番号
2025179911
公報種別
公開特許公報(A)
公開日
2025-12-11
出願番号
2024086848
出願日
2024-05-29
発明の名称
アリ侵入防止装置
出願人
個人
代理人
個人
主分類
A01M
29/34 20110101AFI20251204BHJP(農業;林業;畜産;狩猟;捕獲;漁業)
要約
【課題】植木鉢などの物を置く台座としても、かつ、エサやり用の器としても用途に応じて使い分けることができる実用性の高いアリ侵入防止装置を提供する。
【解決手段】アリ侵入防止装置100は、板状の本体10にアリの侵入を防止するための水張り用の環状溝を設けてなる。本体10の表面側には、本体10に一体的に形成される台座部11aと、台座部11aの周囲を囲むように設けられる、水張り用の第1環状溝12aと、第1環状溝12aの外側に設けられる第1縁部13aとが設けられる。本体10の裏面側には、本体10の裏面に一体的に形成された器部11bと、器部11bの周囲を囲むように設けられる、水張り用の第2環状溝12bと、第2環状溝12bの外側に設けられる第2縁部13bとが設けられる。
【選択図】図1
特許請求の範囲
【請求項1】
板状の本体にアリの侵入を防止するための水張り用の環状溝を設けてなるアリ侵入防止装置であって、
前記本体の表裏面のうち一方の面には、
前記本体に一体的に形成される台座部と、
前記台座部の周囲を囲むように設けられる、水張り用の第1環状溝と、
前記第1環状溝の外側に設けられる第1縁部と、を備え、かつ、
前記本体の表裏面のうち他方の面には、
前記本体に一体的に形成された器部と、
前記器部の周囲を囲むように設けられる、水張り用の第2環状溝と、
前記第2環状溝の外側に設けられる第2縁部と、 を備えたことを特徴とするアリ侵入防止装置。
続きを表示(約 360 文字)
【請求項2】
前記本体の前記台座部の台面と、前記第1縁部の縁端面とが同一平面上に連なっており、かつ、前記器部の縁端面と、前記第2縁部の縁端面とが同一平面上に連なっていることを特徴とする請求項1に記載のアリ侵入防止装置。
【請求項3】
前記第1縁部に、前記第1環状溝から一定の水位を越える水を排出可能な第1切欠きを備え、かつ、
前記第2縁部に、前記第2環状溝から一定の水位を越える水を排出可能な第2切欠きを備えたことを特徴とする請求項1または2に記載のアリ侵入防止装置。
【請求項4】
前記本体の板厚方向に貫通するスリット孔と、
前記スリット孔に沿って通されて前記本体を固定する扁平形状の支柱と、を備えたことを特徴とする請求項1、2または3に記載のアリ侵入防止装置。
発明の詳細な説明
【技術分野】
【0001】
本発明は、エサやり用の器、植木鉢、動物の小屋、養蜂蜜蜂の巣箱などに使用可能なアリ侵入防止装置に関する。
続きを表示(約 1,800 文字)
【背景技術】
【0002】
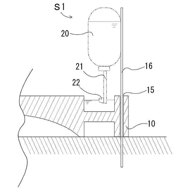
従来、この種のアリ侵入防止装置として、アリが水を避けて移動するという習性を利用し、アリの侵入を防止するものが知られている。
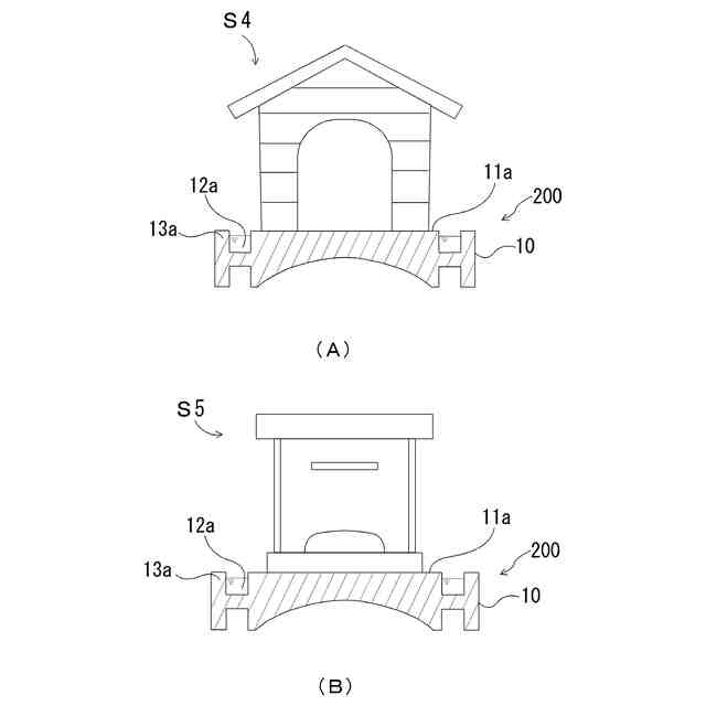
例えば、図9(A)で示すように、アリ侵入防止装置1Aは、板状の本体2を備えており、その中央付近に台座部3が設けられている。台座部3の周囲には、台座部3を囲むように環状溝4が形成され、さらに環状溝4の外側には縁(ヘリ)部5が設けられている。この環状溝4に水を張ることで台座部3にアリの侵入を防ぐ。
なお、先行技術としては、特許文献1等が公知である。
【先行技術文献】
【特許文献】
【0003】
特開2011-78321号公報
【発明の概要】
【発明が解決しようとする課題】
【0004】
しかしながら、前述したようなアリ侵入防止装置は、植木鉢などの物を置く台座として使用することができるが、エサやり用の器を置く台としては使用しにくい。例えば、台座の上に犬や猫のエサやり用の器を置くと、犬や猫がエサを食べる際に動いて台座からズレ落ちてしまうことがある。
【0005】
これに対し、図9(B)で示すように、板状の本体2に器部6を形成したアリ侵入防止装置1Bの構成が考えられる。この場合、本体2に器部6が一体的に形成されているため、前述の問題は解決する。しかしながら、このような構成の場合、植木鉢などの物を置きにくく、台座として使用することが困難になる。
【0006】
そこで、本発明は、このような問題点を解決するためになされたもので、植木鉢などの物を置く台座としても、かつ、エサやり用の器としても用途に応じて使い分けることができる実用性の高いアリ侵入防止装置を提供することを目的とする。
【課題を解決するための手段】
【0007】
(第1発明)
前記課題を解決するための第1発明のアリ侵入防止装置は、 板状の本体にアリの侵入を防止するための水張り用の環状溝を設けてなるアリ侵入防止装置であって、
前記本体の表裏面のうち一方の面には、
前記本体に一体的に形成される台座部と、
前記台座部の周囲を囲むように設けられる、水張り用の第1環状溝と、
前記第1環状溝の外側に設けられる第1縁部と、を備え、かつ、
前記本体の表裏面のうち他方の面には、
前記本体に一体的に形成された器部と、
前記器部の周囲を囲むように設けられる、水張り用の第2環状溝と、
前記第2環状溝の外側に設けられる第2縁部と、を備えたことを特徴とする。
【0008】
(第1発明の効果)
第1発明のアリ侵入防止装置によれば、植木鉢などの物を置く場合は本体の台座部を上に向けて第1環状溝に水を張る。犬や猫にエサを与える場合は本体の器部を上に向けて第2環状溝に水を張る。
これにより、アリ侵入防止装置を、植木鉢などの物を置く台座としても、かつ、犬や猫のエサやり用の器としても使用することができる。つまり、台座と器とを表裏一体化した形状にすることにより、用途に合わせて使い分けることができる。
【0009】
(第2発明)
第2発明のアリ侵入防止装置は、前記第1発明のアリ侵入防止装置であって、
前記台座部の台面と、前記第1縁部の縁端面とが同一平面上に連なっており、かつ、前記器部の縁端面と、前記第2縁部の縁端面とが同一平面上に連なっていることを特徴とする。
【0010】
(第2発明の効果)
第2発明のアリ侵入防止装置によれば、本体を台座部として使用する場合、器部の縁端面と、第2縁部の縁端面とを下に向けて床や地面に置く。このとき、器部の縁端面と、第2縁部の縁端面とが同一平面上に連なっているため台座部が安定する。
一方、本体を器部として使用する場合、台座部の台面と、第1縁部の縁端面とを下に向けて床や地面に置く。このとき、台座部の台面と、第1縁部の縁端面とが同一平面上に連なっているため器部が安定する。
これにより、台座部と器部のどちらを使用する場合にも本体をガタ付きなく安定感のある状態で使用することができる。したがって、アリ侵入防止装置の実用性をさらに高めることができる。
(【0011】以降は省略されています)
この特許をJ-PlatPat(特許庁公式サイト)で参照する
関連特許
個人
産卵床
13日前
個人
平板植栽
14日前
個人
釣り用錘
1か月前
個人
蜜蜂保護装置
1か月前
個人
噴霧器ノズル
29日前
個人
果実袋
13日前
個人
ビニール鉢名札
今日
個人
養殖器具
13日前
個人
種子の製造方法
1か月前
個人
移動体草刈り機
13日前
個人
昆虫捕集器
1か月前
個人
ペット用給餌マット
今日
個人
水田排水量調整器具
13日前
個人
可動リップ付きルアー
1か月前
株式会社剛樹
釣り竿
27日前
個人
餌付き針の餌取り防止具
1か月前
井関農機株式会社
圃場作業機
6日前
株式会社ナベル
表示システム
1か月前
井関農機株式会社
圃場作業機
1か月前
個人
ブルーカーボンシステム
1か月前
個人
アリ侵入防止装置
今日
有限会社信英精密
括り罠
21日前
積水樹脂株式会社
シート止め具
13日前
みのる産業株式会社
除草機
1か月前
株式会社シマノ
釣糸ガイド
今日
みのる産業株式会社
除草機
1か月前
個人
網口高さのベクトル底引き網
13日前
個人
粘着板で挟むネズミ捕り装置
13日前
株式会社サワエ
害虫捕獲器
6日前
松山株式会社
収穫機
1か月前
松山株式会社
収穫機
1か月前
井関農機株式会社
苗移植機
21日前
松山株式会社
農作業機
今日
スナオ電気株式会社
加温装置
1日前
三恵技研工業株式会社
ルアー
13日前
株式会社中村工務店
潅水装置
14日前
続きを見る
他の特許を見る