TOP
|
特許
|
意匠
|
商標
特許ウォッチ
Twitter
他の特許を見る
10個以上の画像は省略されています。
公開番号
2025167214
公報種別
公開特許公報(A)
公開日
2025-11-07
出願番号
2024071625
出願日
2024-04-25
発明の名称
収穫機
出願人
松山株式会社
代理人
個人
,
個人
主分類
A01D
17/00 20060101AFI20251030BHJP(農業;林業;畜産;狩猟;捕獲;漁業)
要約
【課題】作業者の負担軽減を図ることができる収穫機を提供する。
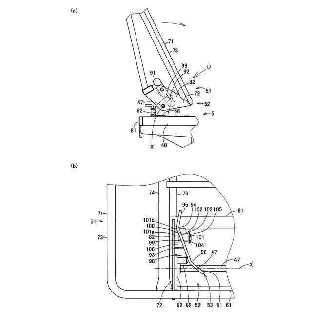
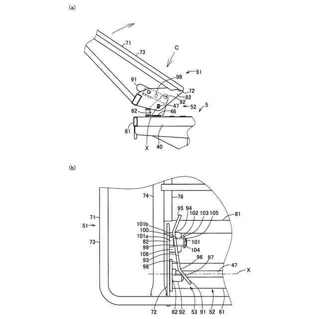
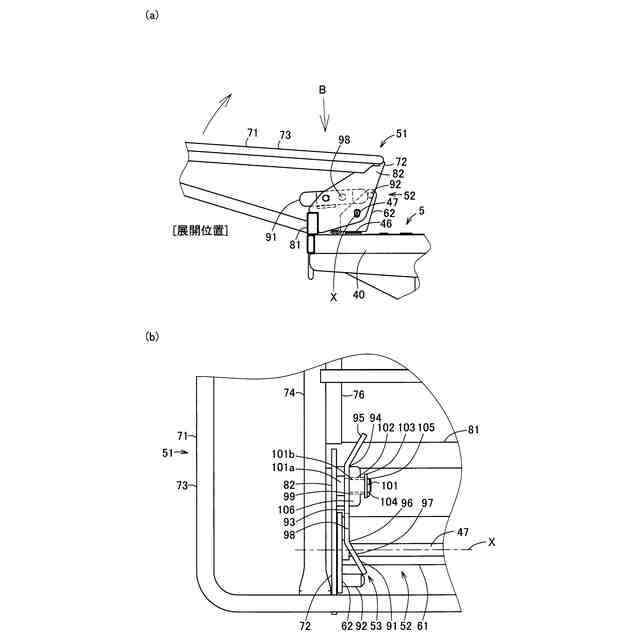
【解決手段】収穫機は、収穫機本体と、コンテナを載置する前側載置部31とを備える。前側載置部31は、水平方向に回動可能でかつ上下方向に回動可能な前側載置体51を有する。前記載置体51は、上方への回動と水平方向への回動とにより、その下面側が前記収穫機本体側を向いた起立状の格納状態となる。
【選択図】図12
特許請求の範囲
【請求項1】
収穫物を搬送する搬送手段を有する収穫機本体と、
前記収穫物が収納される収納部材が載置される載置部とを備え、
前記載置部は、水平方向に回動可能でかつ上下方向に回動可能な載置体を有し、
前記載置体は、上方への回動と水平方向への回動とにより、その下面側が前記収穫機本体側を向いた格納状態となる
ことを特徴とする収穫機。
続きを表示(約 770 文字)
【請求項2】
収穫物を搬送する搬送手段を有する収穫機本体と、
前記収穫物が収納される収納部材が載置される載置部とを備え、
前記載置部は、
前記収穫機本体に水平方向に回動可能に設けられた回動体と、
前記回動体に上下方向に回動可能に設けられた載置体とを有し、
前記載置体の上方への回動と前記回動体の水平方向への回動とにより、前記載置体がその下面側が前記収穫機本体側を向いた格納状態となる
ことを特徴とする収穫機。
【請求項3】
載置体を上方に回動させた後、回動体を水平方向に回動させることにより、前記載置体がその下面側が収穫機本体側を向いた格納状態となる
ことを特徴とする請求項2記載の収穫機。
【請求項4】
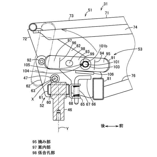
載置部は、上方回動により折畳位置に位置する載置体を前記折畳位置に固定するための固定手段を有し、
前記固定手段による固定が解除された場合において、前記載置体が収穫機本体側とは反対側に向かって下方回動したときには、その下方回動が回動規制部にて規制される
ことを特徴とする請求項1ないし3のいずれか一記載の収穫機。
【請求項5】
回動規制部は、収穫機本体のフレーム部のうち載置体が当接する部分にて構成されている
ことを特徴とする請求項4記載の収穫機。
【請求項6】
載置部は、上方回動により折畳位置に位置する載置体を前記折畳位置に固定するための固定手段を有し、
前記固定手段による固定が解除された場合において、前記載置体が収穫機本体側に向かって下方回動したときには、その下方回動が搬送手段との当接により規制される
ことを特徴とする請求項1ないし3のいずれか一記載の収穫機。
発明の詳細な説明
【技術分野】
【0001】
本発明は、収穫機に関するものである。
続きを表示(約 1,000 文字)
【背景技術】
【0002】
従来、例えば下記の特許文献1に記載された収穫機が知られている。
【0003】
この従来の収穫機は、収穫物を搬送する搬送手段を有する収穫機本体と、収穫物が収納される収納部材であるコンテナが載置されるコンテナ台とを備えており、このコンテナ台は、例えば運搬時等に上方への回動により折り畳んで格納できるように構成されている。
【先行技術文献】
【特許文献】
【0004】
特開2006-34280号公報
【発明の概要】
【発明が解決しようとする課題】
【0005】
しかし、上記従来の収穫機では、コンテナ台(載置体)の格納状態時において、このコンテナ台の下面側が収穫機本体側とは反対側である外側を向いている。
【0006】
それゆえ、例えば運搬時等にコンテナ台が外側に下方回動しないように、作業者はロープ等を用いてそのコンテナ台を固縛する必要があり、手間を要する。
【0007】
そこで、本発明の実施形態の課題の一つは、作業者の負担軽減を図ることができる収穫機を提供することにある。
【課題を解決するための手段】
【0008】
本発明の実施形態に係る収穫機は、収穫物を搬送する搬送手段を有する収穫機本体と、前記収穫物が収納される収納部材が載置される載置部とを備え、前記載置部は、水平方向に回動可能でかつ上下方向に回動可能な載置体を有し、前記載置体は、上方への回動と水平方向への回動とにより、その下面側が前記収穫機本体側を向いた格納状態となるものである。
【0009】
また、本発明の実施形態に係る収穫機は、収穫物を搬送する搬送手段を有する収穫機本体と、前記収穫物が収納される収納部材が載置される載置部とを備え、前記載置部は、前記収穫機本体に水平方向に回動可能に設けられた回動体と、前記回動体に上下方向に回動可能に設けられた載置体とを有し、前記載置体の上方への回動と前記回動体の水平方向への回動とにより、前記載置体がその下面側が前記収穫機本体側を向いた格納状態となるものである。
【発明の効果】
【0010】
本発明の実施形態によれば、作業者の負担軽減を図ることができる。
【図面の簡単な説明】
(【0011】以降は省略されています)
この特許をJ-PlatPat(特許庁公式サイト)で参照する
関連特許
松山株式会社
収穫機
23日前
松山株式会社
収穫機
23日前
松山株式会社
農作業機
1か月前
松山株式会社
農作業機
2か月前
松山株式会社
農作業機
3か月前
松山株式会社
農作業機
3か月前
松山株式会社
農作業機
3か月前
松山株式会社
草刈作業機
1か月前
松山株式会社
表示装置及び農作業機
24日前
松山株式会社
農作業機用制御システム
2か月前
松山株式会社
農作業機用制御システム及び農作業方法
3か月前
松山株式会社
作業爪及びその製造方法
23日前
松山株式会社
畦上面ローラ、畦形成手段及び畦塗り機
1か月前
個人
産卵床
2日前
個人
蠅捕獲器
1か月前
個人
釣り用錘
20日前
個人
草刈り鋏
1か月前
個人
平板植栽
3日前
個人
噴霧器ノズル
18日前
個人
果実袋
2日前
個人
蜜蜂保護装置
1か月前
個人
養殖器具
2日前
個人
種子の製造方法
1か月前
個人
草刈機用回転刃
1か月前
個人
移動体草刈り機
2日前
個人
昆虫捕集器
1か月前
個人
水田排水量調整器具
2日前
個人
可動リップ付きルアー
23日前
株式会社剛樹
釣り竿
16日前
井関農機株式会社
作業車両
1か月前
個人
四足動物用装着具
1か月前
株式会社ナベル
表示システム
26日前
個人
ブルーカーボンシステム
23日前
個人
餌付き針の餌取り防止具
26日前
井関農機株式会社
圃場作業機
23日前
大栄工業株式会社
捕獲器
1か月前
続きを見る
他の特許を見る