TOP
|
特許
|
意匠
|
商標
特許ウォッチ
Twitter
他の特許を見る
公開番号
2025165198
公報種別
公開特許公報(A)
公開日
2025-11-04
出願番号
2024069162
出願日
2024-04-22
発明の名称
除草機
出願人
みのる産業株式会社
代理人
個人
主分類
A01B
39/18 20060101AFI20251027BHJP(農業;林業;畜産;狩猟;捕獲;漁業)
要約
【課題】非除草時に除草装置が大きく傾いた際に、除草装置の左右端が田面や地面に接触することを抑制する技術を提供する。
【解決手段】本発明の除草機は、走行車体と、走行車体に取り付けられる除草装置20と、昇降装置30と、傾斜調整装置40と、電子制御部100とを有する。除草装置20は、左右方向に並ぶ複数の除草部と、除草装置20の傾きを検出する傾斜検出部52とを有する。除草装置20は、上方の退避位置と下方の除草位置とに移動可能である。電子制御部100は、傾斜検出部52の検出結果に基づいて傾斜調整装置40を動作させる水平制御を実行可能である。電子制御部100は、除草位置において自動的に水平制御を実行するとともに、退避位置においても水平制御を実行可能である。これにより、非除草時(除草装置退避時)に水平制御を可能となり、除草機の傾きによって除草装置の左右の端部が地面や田面に接触することを抑制できる。
【選択図】図8
特許請求の範囲
【請求項1】
苗が条植えされた水田に生えた雑草を除去する自走式の除草機であって、
前輪および後輪を有する走行車体と、
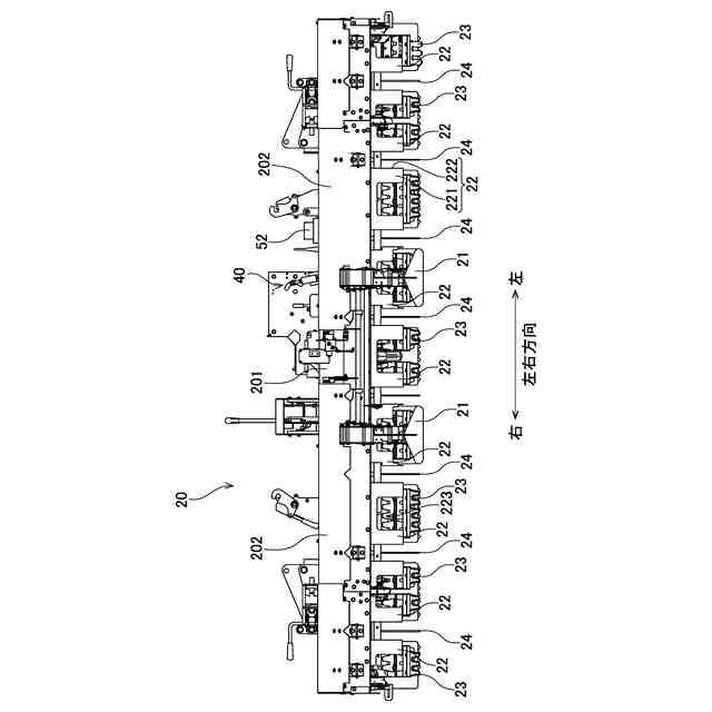
前記走行車体に対して取り付けられ、前後方向に延びる回動軸を中心として回動可能な除草装置と、
前記走行車体に対して前記除草装置の高さを変更する昇降装置と、
前記走行車体に対する前記除草装置の左右の傾きを調整する傾斜調整装置と、
前記傾斜調整装置を制御する電子制御部と、
を有し、
前記除草装置は、
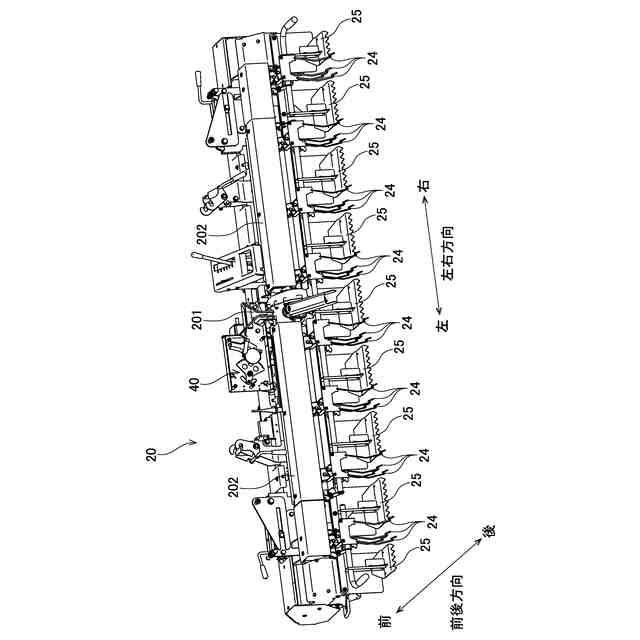
左右方向に並ぶ複数の除草部と、
前記除草装置の水平方向に対する左右方向の傾きを検出する傾斜検出部と、
を有し、
前記除草装置は、
最も上方の退避位置と、
前記退避位置よりも下方の除草位置と、
に移動可能であり、
前記電子制御部は、
前記傾斜検出部の検出結果に基づいて、複数の前記除草部が略水平になるように前記傾斜調整装置を動作させる水平制御
を実行可能であり、
前記電子制御部は、
前記除草装置が前記除草位置にある場合、自動的に前記水平制御を実行するとともに、
前記除草位置が前記退避位置にある場合にも、前記水平制御を実行可能である、除草機。
続きを表示(約 1,300 文字)
【請求項2】
請求項1に記載の除草機であって、
前記電子制御部に対して前記水平制御の実行および停止を入力するON-OFFスイッチ
をさらに有する、除草機。
【請求項3】
請求項1に記載の除草機であって、
前記電子制御部は、前記水平制御の実行中、前記傾斜検出部の検出結果に基づいて行う前記傾斜調整装置の動作が所定時間経過後、前記傾斜検出部の検出結果に変化が無い場合、自動的に前記水平制御を停止する、除草機。
【請求項4】
請求項1に記載の除草機であって、
前記除草装置は、
前記回動軸から左右方向に間隔を開けて配置される出力部
を有し、
前記傾斜調整装置は、
入力端を有し、前記入力端の前記走行車体に対する高さを変更可能な入力部と、
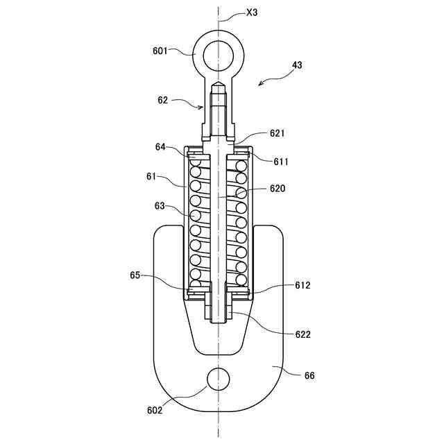
一方の端部が前記入力端と接続され、他方の端部が前記出力部と接続されるダンバーばねと、
を有する、除草機。
【請求項5】
請求項4に記載の除草機であって、
前記ダンパーばねは、
コイルばねと、
一方側の端部が前記入力部の前記入力端に固定され、前記コイルばねを貫通するロッドと、
他方側の端部が前記除草装置の前記出力部に固定される出力部材と、
前記コイルばねの一方側の端部に接触し、前記ダンパーばねの収縮時に前記出力部材に対して他方側へ移動する第1板と、
前記コイルばねの他方側の端部に接触し、前記ダンパーばねの伸張時に前記出力部材に対して一方側へ移動する第2板と、
を有する、除草機。
【請求項6】
請求項4に記載の除草機であって、
前記入力部は、
前記走行車体に固定され、前記電子制御部からの制御信号により動作するモータと、
前記モータによって前記走行車体に固定された回動軸を中心として回動し、回動とともに上下移動する前記入力端を有する回転部材と、
を有する、除草機。
【請求項7】
請求項1に記載の除草機であって、
前記除草装置は、
下面が土壌面に接触するフロートと、
前記フロートの高さを検出する高さ検出部と、
をさらに有し、
前記電子制御部は、
前記高さ検出部の検出結果に基づいて、前記除草装置の前記土壌面に対する高さが所定の範囲内になるように前記昇降装置を動作させる高さ制御
を実行可能である、除草機。
【請求項8】
請求項7に記載の除草機であって、
前記昇降装置は、
前後方向に延び、後端部が前記走行車体に対して回動可能に固定されるリンクと、
前記電子制御部からの制御信号により動作する電磁バルブと、
前記電磁バルブの動作により伸縮し、前記リンクの角度を変化させる油圧シリンダと、
を有する、除草機。
【請求項9】
請求項1ないし請求項6のいずれか一項に記載の除草機であって、
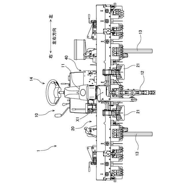
前記除草装置は、前記前輪と前記後輪との間において前記走行車体に対して取り付けられる、除草機。
発明の詳細な説明
【技術分野】
【0001】
本発明は、圃場に条植えされた複数の苗の周囲に生える雑草を除去するための水田用除草機に関する。
続きを表示(約 1,500 文字)
【背景技術】
【0002】
除草機や田植機など、圃場において作業を行う作業装置を走行車体に搭載した作業機では、走行車体と作業装置とを、PTO軸等の連結軸で連結している。そして、この連結軸の角度を調整することで作業装置の高さを制御している。除草機において、作業装置である除草装置の高さが適切でないと、十分な除草効果が得られないため、高さ制御が重要である。
【0003】
例えば、特許文献1には、走行車体の後ろに除草装置が連結された所謂リアマウント方式の除草機が開示されている。特許文献1に記載の除草機では、土壌表面から接地圧を受ける左右一対の接地フロートの高さを基準として除草装置の上下昇降制御を行っている。
【0004】
一方、特許文献1に記載の除草機では、左右一対の接地フロートが土壌表面から受けた接地圧によって、連結軸である支持軸周りに回動し、さらに、左右一対のバランススプリングによる補正作用が加わることで除草装置を水平に保つ水平制御が行われている。
【先行技術文献】
【特許文献】
【0005】
特開2002-343066号公報
【発明の概要】
【発明が解決しようとする課題】
【0006】
このように、従来の機械的な水平制御は田面に接触するフロートの高さに基づいて行われるため、除草装置を除草位置へ降ろした状態でのみ行われるものであった。しかしながら、除草装置を上方へ退避させた状態において、除草機の旋回時等に除草装置が大きく傾いた際に、除草装置の左右端が田面に接触する虞があった。
【0007】
本発明は、このような事情に鑑みなされたものであり、非除草時(除草装置退避時)に除草装置の左右の端部が地面や田面に接触することを抑制する技術を提供することを、目的とする。
【課題を解決するための手段】
【0008】
上記課題を解決するため、本願の第1発明は、苗が条植えされた水田に生えた雑草を除去する自走式の除草機であって、前輪および後輪を有する走行車体と、前記走行車体に対して取り付けられ、前後方向に延びる回動軸を中心として回動可能な除草装置と、前記走行車体に対して前記除草装置の高さを変更する昇降装置と、前記走行車体に対する前記除草装置の左右の傾きを調整する傾斜調整装置と、前記傾斜調整装置を制御する電子制御部と、を有し、前記除草装置は、左右方向に並ぶ複数の除草部と、前記除草装置の水平方向に対する左右方向の傾きを検出する傾斜検出部と、を有し、前記除草装置は、最も上方の退避位置と、前記退避位置よりも下方の除草位置と、に移動可能であり、前記電子制御部は、前記傾斜検出部の検出結果に基づいて、複数の前記除草部が略水平になるように前記傾斜調整装置を動作させる水平制御を実行可能であり、前記電子制御部は、前記除草装置が前記除草位置にある場合、自動的に前記水平制御を実行するとともに、前記除草位置が前記退避位置にある場合にも、前記水平制御を実行可能である。
【0009】
本願の第2発明は、第1発明の除草機であって、前記電子制御部に対して前記水平制御の実行および停止を入力するON-OFFスイッチをさらに有する。
【0010】
本願の第3発明は、第1発明の除草機であって、前記電子制御部は、前記水平制御の実行中、前記傾斜検出部の検出結果に基づいて行う前記傾斜調整装置の動作が所定時間経過後、前記傾斜検出部の検出結果に変化が無い場合、自動的に前記水平制御を停止する。
(【0011】以降は省略されています)
この特許をJ-PlatPat(特許庁公式サイト)で参照する
関連特許
みのる産業株式会社
除草機
25日前
みのる産業株式会社
除草機
25日前
みのる産業株式会社
茎葉処理装置
1か月前
みのる産業株式会社
誘導帯電型静電噴霧装置
9日前
個人
産卵床
1日前
個人
平板植栽
2日前
個人
草刈り鋏
1か月前
個人
蠅捕獲器
1か月前
個人
釣り用錘
19日前
個人
噴霧器ノズル
17日前
個人
果実袋
1日前
個人
蜜蜂保護装置
1か月前
個人
刈込鋏保持具
1か月前
個人
養殖器具
1日前
個人
草刈機用回転刃
1か月前
個人
種子の製造方法
1か月前
個人
移動体草刈り機
1日前
個人
昆虫捕集器
1か月前
個人
水田排水量調整器具
1日前
個人
可動リップ付きルアー
22日前
株式会社剛樹
釣り竿
15日前
井関農機株式会社
作業車両
1か月前
井関農機株式会社
作業車両
1か月前
個人
餌付き針の餌取り防止具
25日前
個人
四足動物用装着具
1か月前
株式会社ナベル
表示システム
25日前
井関農機株式会社
圃場作業機
22日前
個人
ブルーカーボンシステム
22日前
積水樹脂株式会社
シート止め具
1日前
大栄工業株式会社
捕獲器
1か月前
有限会社信英精密
括り罠
9日前
松山株式会社
収穫機
22日前
松山株式会社
収穫機
22日前
井関農機株式会社
作業車両
1か月前
井関農機株式会社
作業車両
1か月前
みのる産業株式会社
除草機
25日前
続きを見る
他の特許を見る