TOP
|
特許
|
意匠
|
商標
特許ウォッチ
Twitter
他の特許を見る
10個以上の画像は省略されています。
公開番号
2025167213
公報種別
公開特許公報(A)
公開日
2025-11-07
出願番号
2024071624
出願日
2024-04-25
発明の名称
収穫機
出願人
松山株式会社
代理人
個人
,
個人
主分類
A01D
17/00 20060101AFI20251030BHJP(農業;林業;畜産;狩猟;捕獲;漁業)
要約
【課題】作業者の負担軽減を図ることができる収穫機を提供する。
【解決手段】収穫機は、収穫機本体2と、コンテナを載置する前側載置部31とを備える。前側載置部31は、展開位置及び折畳位置間で上下回動可能な前側載置体51と、この前側載置体51を折畳位置に固定するための固定手段53とを有する。固定手段53は、前側載置体51が折畳位置に位置した場合に互いに係合する係合板91及び係合ピン92を有する。
【選択図】図4
特許請求の範囲
【請求項1】
収穫物を搬送する搬送手段を有する収穫機本体と、
前記収穫物が収納される収納部材が載置される載置部とを備え、
前記載置部は、
前記収納部材が載置される位置変更可能な載置体と、
前記載置体を所定位置に固定するための固定手段とを有し、
前記固定手段は、前記載置体が前記所定位置に位置した場合に互いに係合する一方側係合体及び他方側係合体を有する
ことを特徴とする収穫機。
続きを表示(約 810 文字)
【請求項2】
収穫物を搬送する搬送手段を有する収穫機本体と、
前記収穫物が収納される収納部材が載置される載置部とを備え、
前記載置部は、
前記収納部材が載置される位置変更可能な載置体と、
前記載置体を所定位置に固定するための固定手段とを有し、
前記固定手段は、前記載置体を位置変更させるだけで、前記載置体が前記所定位置に位置した場合に互いに係合する一方側係合体及び他方側係合体を有する
ことを特徴とする収穫機。
【請求項3】
固定手段は、
一方側係合体を移動可能に支持する支持体と、
前記一方側係合体を付勢する付勢体とを有し、
載置体の位置変更時において、前記一方側係合体が他方側係合体にて押されることで前記付勢体の付勢力に抗して移動した後、前記載置体が所定位置に位置した場合に、前記一方側係合体が前記付勢体の付勢力で元の位置に移動することにより前記一方側係合体と前記他方側係合体とが互いに係合する
ことを特徴とする請求項1又は2記載の収穫機。
【請求項4】
一方側係合体は、
他方側係合体と解除可能に係合する係合孔部と、
前記他方側係合体を前記係合孔部に向けて案内し、この案内時に前記他方側係合体にて押される案内部とを有する
ことを特徴とする請求項3記載の収穫機。
【請求項5】
一方側係合体は、係合孔部と他方側係合体との係合を解除する際に作業者が指で摘む摘み部を有する
ことを特徴とする請求項4記載の収穫機。
【請求項6】
載置体は、上下方向に回動可能であり、
前記載置体を上方回動させるだけで、一方側係合体及び他方側係合体が互いに係合して前記載置体が所定位置に固定される
ことを特徴とする請求項1又は2記載の収穫機。
発明の詳細な説明
【技術分野】
【0001】
本発明は、収穫機に関するものである。
続きを表示(約 1,500 文字)
【背景技術】
【0002】
従来、例えば下記の特許文献1に記載された収穫機が知られている。
【0003】
この従来の収穫機は、収穫物を搬送する搬送手段を有する収穫機本体と、収穫物が収納される収納部材であるコンテナが載置されるコンテナ載置台とを備えている。そして、コンテナ載置台は、展開位置(使用位置)及び折畳位置(格納位置)間で上下方向に回動可能となっている。
【先行技術文献】
【特許文献】
【0004】
特開2000-324921号公報
【発明の概要】
【発明が解決しようとする課題】
【0005】
しかし、上記従来の収穫機では、例えば作業終了後、コンテナ載置台(載置体)を上方に回動させて折畳位置(格納位置)に固定する場合、作業者は固定用のピン部材を抜き差しする必要があり、手間を要する。
【0006】
そこで、本発明の実施形態の課題の一つは、作業者の負担軽減を図ることができる収穫機を提供することにある。
【課題を解決するための手段】
【0007】
本発明の実施形態に係る収穫機は、収穫物を搬送する搬送手段を有する収穫機本体と、前記収穫物が収納される収納部材が載置される載置部とを備え、前記載置部は、前記収納部材が載置される位置変更可能な載置体と、前記載置体を所定位置に固定するための固定手段とを有し、前記固定手段は、前記載置体が前記所定位置に位置した場合に互いに係合する一方側係合体及び他方側係合体を有するものである。
【0008】
また、本発明の実施形態に係る収穫機は、収穫物を搬送する搬送手段を有する収穫機本体と、前記収穫物が収納される収納部材が載置される載置部とを備え、前記載置部は、前記収納部材が載置される位置変更可能な載置体と、前記載置体を所定位置に固定するための固定手段とを有し、前記固定手段は、前記載置体を位置変更させるだけで、前記載置体が前記所定位置に位置した場合に互いに係合する一方側係合体及び他方側係合体を有するものである。
【発明の効果】
【0009】
本発明の実施形態によれば、作業者の負担軽減を図ることができる。
【図面の簡単な説明】
【0010】
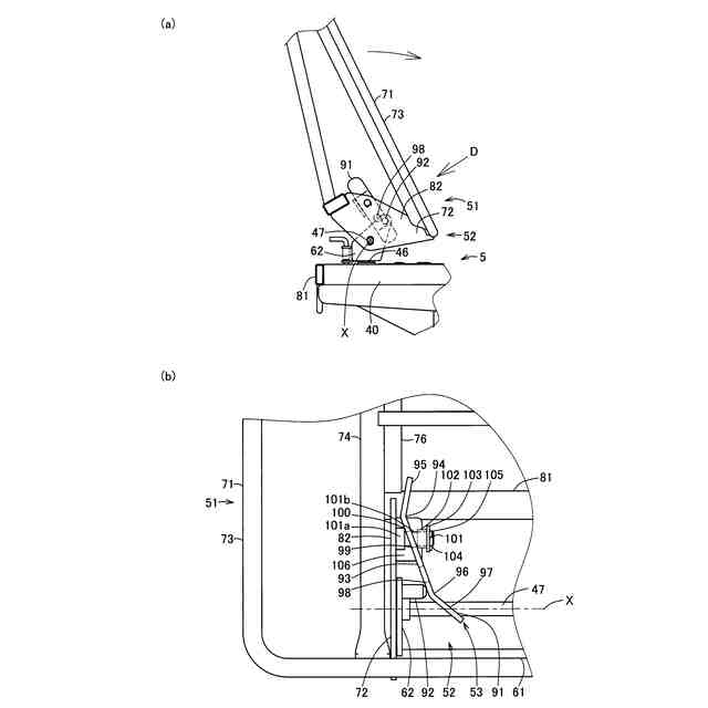
本発明の一の実施形態に係る収穫機の側面図である。
同上収穫機の平面図である。
同上収穫機の中央側載置体の動作説明図である。
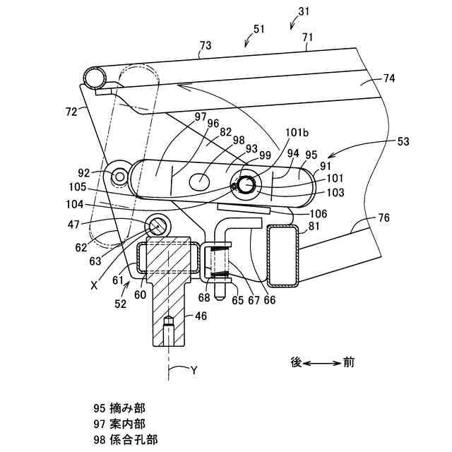
同上収穫機の前側載置体を含む載置部の分解斜視図である。
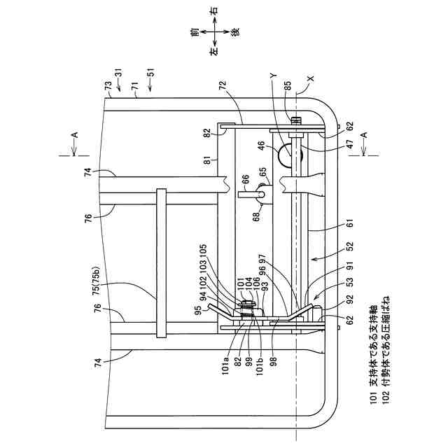
同上載置部の部分平面図である。
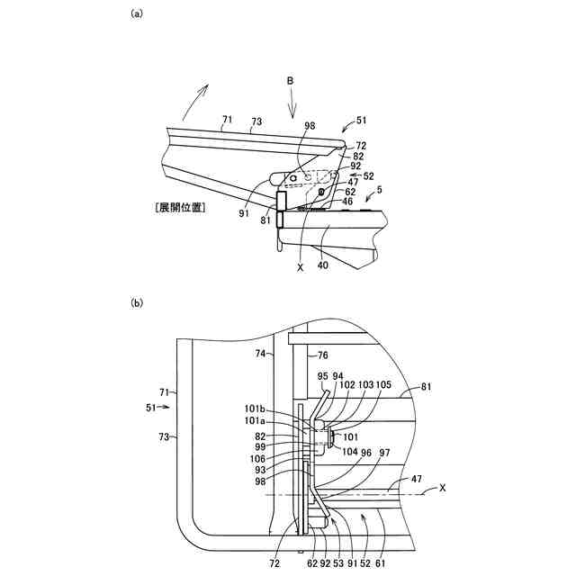
図5におけるA-A断面図である。
同上前側載置体及び固定手段の動作説明図で、(a)は側面図であり、(b)はB矢視拡大図である。
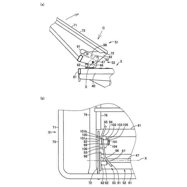
図7に続く動作説明図で、(a)は側面図であり、(b)はC矢視拡大図である。
図8に続く動作説明図で、(a)は側面図であり、(b)はD矢視拡大図である。
図9に続く動作説明図で、(a)は側面図であり、(b)はE矢視拡大図である。
同上前側載置体を示す図で、(a)は折畳状態の前側載置体の平面図であり、(b)は格納状態の前側載置体の平面図である。
同上格納状態の前側載置体の斜視図である。
同上格納状態の前側載置体の側面図である。
同上格納状態の前側載置体の正面図である。
同上前側載置体の下方回動が回動規制部で規制される様子を示す図である。
【発明を実施するための形態】
(【0011】以降は省略されています)
この特許をJ-PlatPat(特許庁公式サイト)で参照する
関連特許
松山株式会社
収穫機
22日前
松山株式会社
収穫機
22日前
松山株式会社
農作業機
1か月前
松山株式会社
草刈作業機
1か月前
松山株式会社
表示装置及び農作業機
23日前
松山株式会社
作業爪及びその製造方法
22日前
松山株式会社
畦上面ローラ、畦形成手段及び畦塗り機
1か月前
個人
産卵床
1日前
個人
蠅捕獲器
1か月前
個人
平板植栽
2日前
個人
釣り用錘
19日前
個人
草刈り鋏
1か月前
個人
果実袋
1日前
個人
蜜蜂保護装置
1か月前
個人
噴霧器ノズル
17日前
個人
種子の製造方法
1か月前
個人
草刈機用回転刃
1か月前
個人
移動体草刈り機
1日前
個人
養殖器具
1日前
個人
昆虫捕集器
1か月前
個人
水田排水量調整器具
1日前
個人
可動リップ付きルアー
22日前
株式会社剛樹
釣り竿
15日前
井関農機株式会社
作業車両
1か月前
井関農機株式会社
作業車両
1か月前
個人
ブルーカーボンシステム
22日前
個人
四足動物用装着具
1か月前
個人
餌付き針の餌取り防止具
25日前
井関農機株式会社
圃場作業機
22日前
株式会社ナベル
表示システム
25日前
積水樹脂株式会社
シート止め具
1日前
有限会社信英精密
括り罠
9日前
大栄工業株式会社
捕獲器
1か月前
松山株式会社
収穫機
22日前
井関農機株式会社
作業車両
1か月前
個人
網口高さのベクトル底引き網
1日前
続きを見る
他の特許を見る