TOP
|
特許
|
意匠
|
商標
特許ウォッチ
Twitter
他の特許を見る
公開番号
2025171781
公報種別
公開特許公報(A)
公開日
2025-11-20
出願番号
2024077442
出願日
2024-05-10
発明の名称
括り罠
出願人
有限会社信英精密
代理人
個人
主分類
A01M
23/34 20060101AFI20251113BHJP(農業;林業;畜産;狩猟;捕獲;漁業)
要約
【課題】ワイヤーガイドをより容易に形成可能な形状にしてコストダウンを可能とした括り罠を提供する。
【解決手段】括り罠1は、枠状の土台枠31と、土台枠31内を移動可能な踏板41と、土台枠31の周壁に設置される踏板支持部材32と、一対で踏板41に設置されて、それぞれが半枠形状を有し、両端部を回転軸として倒れ姿勢と跳ね上げ姿勢との間を回動可能で、倒れ姿勢では、一対で一部が踏板41の周縁からはみ出す多角形枠形状となり、周囲にテンションを加えた状態のワイヤー11を巻き付け可能なワイヤーガイド43と、を備える。ワイヤーガイド43は、複数の多角形枠形状の角となる部位それぞれに、ワイヤー11が幅方向にずれ難いよう引っ掛け可能な穴形状または溝形状のワイヤー保持部43aを有するとともに、ワイヤー保持部43a間の外側表面が平らである。
【選択図】図1
特許請求の範囲
【請求項1】
ワイヤーと使用時に前記ワイヤーが取り付けられる括り罠本体とを備え、前記括り罠本体からリリースされた前記ワイヤーにより野生動物の足を括ることで前記野生動物を捕獲するための括り罠であって、
前記括り罠本体は、
枠状の土台枠と、
前記土台枠内を移動可能な外形形状を有する踏板と、
前記土台枠の周壁に設置され、前記踏板を前記土台枠内の上部位置で支持可能に前記土台枠内に突出する踏板干渉突出部を有し、支持した前記踏板に上方から所定以上の力が加わると、前記踏板干渉突出部が分離または前記土台枠内に突出しない状態に変形する踏板支持部材と、
一対で前記踏板に設置されて、それぞれが半枠形状を有し、両端部を回転軸として倒れ姿勢と跳ね上げ姿勢との間を回動可能で、前記倒れ姿勢では、一対で一部が前記踏板の周縁からはみ出す多角形枠形状となり、前記多角形枠形状の周囲にテンションを加えた状態の前記ワイヤーを巻き付け可能なワイヤーガイドと、を備え、
前記ワイヤーガイドは、複数の前記多角形枠形状の角となる部位それぞれに、テンションを加えた状態の前記ワイヤーを巻き付けた際に前記ワイヤーが幅方向にずれ難いよう引っ掛け可能な穴形状または溝形状のワイヤー保持部を有するとともに、前記ワイヤー保持部間の外側表面が平らである、ことを特徴とする括り罠。
続きを表示(約 720 文字)
【請求項2】
請求項1に記載の括り罠において、
前記土台枠の周壁の上部には複数の踏板支持部材設置用の貫通孔が形成されており、
前記踏板支持部材は、使用時の消耗品として別途準備されて前記踏板支持部材設置用の貫通孔を通して設置され、所定の力が加わると折れて前記踏板干渉突出部が分離する強度の細長い棒形状部材である、括り罠。
【請求項3】
請求項1に記載の括り罠において、
前記ワイヤーガイドは、前記倒れ姿勢では、一対で四角形枠形状となる、括り罠。
【請求項4】
請求項1~3のいずれか一項に記載の括り罠において、
前記踏板の表面に固定されたワイヤーガイド作動力調整ベースと、
前記ワイヤーガイド作動力調整ベースに設置され、設置時に前記倒れ姿勢の前記ワイヤーガイドが前記跳ね上げ姿勢に移行するのを妨げる位置まで突出するワイヤーガイド干渉突出部を有するワイヤーガイド作動力調整部材と、
を更に備え、
前記ワイヤーガイド作動力調整部材は、使用時の消耗品として別途準備されて所定の力が加わると折れて前記ワイヤーガイド干渉突出部が分離する強度の細長い棒形状部材であり、
前記ワイヤーガイド作動力調整ベースには、前記ワイヤーガイド作動力調整部材を挿通して設置するためのワイヤーガイド作動力設置部材固定用貫通孔が複数形成されている、括り罠。
【請求項5】
請求項4に記載の括り罠において、
一端が前記踏板に当接し、他端が前記ワイヤーガイドに当接し、前記ワイヤーガイドを常に前記跳ね上げ姿勢側に向けて付勢する付勢部材を更に備える、括り罠。
発明の詳細な説明
【技術分野】
【0001】
本発明は、括り罠に関する。更に詳しくは、本発明は、野生動物を捕獲する際に用いられる括り罠に関する。
続きを表示(約 2,400 文字)
【背景技術】
【0002】
野生動物を捕獲する際に括り罠が用いられている(例えば、特許文献1)。括り罠は、テンションを加えた状態のワイヤーを周囲に保持可能なワイヤーガイドを備え、ワイヤーガイドの動きをきっかけにワイヤーガイドに保持された状態からリリースされたワイヤーで野生動物の足を括ることにより、野生動物を捕獲することができる。
【0003】
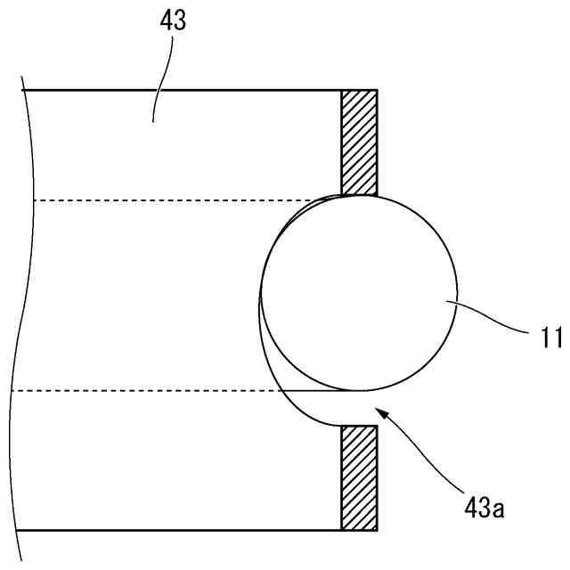
特許文献1には、枠状の土台枠(31)と、土台枠(31)の内側を移動可能な外形形状を有する踏板支持部材(32)を介して土台枠(31)に載置される踏板(41)と、一対で踏板(41)に設置されて、それぞれが半枠形状を有し、両端部を回転軸として倒れ姿勢と跳ね上げ姿勢との間を回動可能なワイヤーガイド(43)と、を備える括り罠(1)が開示されている。このワイヤーガイド(43)は、外側表面全体に亘ってテンションを加えた状態のワイヤー(11)が嵌まり込む溝形状を有している。この括り罠(1)においては、使用時に、倒れ姿勢のワイヤーガイド(43)の外側表面を囲うようにワイヤー(11)が取り付けられるが、ワイヤーガイド(43)は、外側表面全体に亘って溝形状が幅方向に曲げられているまたは外側表面全体に亘って溝が彫られていることにより形成されており、この溝形状にワイヤー(11)を嵌まり込ませて保持することができる(段落[0035]参照。)。
【先行技術文献】
【特許文献】
【0004】
実用新案登録第3238221号公報
【発明の概要】
【発明が解決しようとする課題】
【0005】
特許文献1で開示されている括り罠(1)のように、使用時に倒れ姿勢のワイヤーガイドの外周面を囲うようにワイヤーが取り付けられるタイプの括り罠では、ワイヤーがワイヤーガイドの幅方向に簡単にずれてしまうと誤作動してしまう虞が高まり、野生動物の捕獲にも影響してしまうだけでなく、取り扱いにおいても危険である。このため、特許文献1で開示されている括り罠(1)のように、ワイヤーガイドにワイヤーを保持する構造を構成することは、重要である。なお、このタイプの括り罠のワイヤーガイドは、野外で繰り返し、テンションを加えた状態のワイヤーが巻き付けられて使用されることもあって強度が必要であり、また、コスト低減の要請もあり、多くの場合、長尺平板状の金属板素材を曲げ加工して形成されたものになる。
【0006】
しかしながら、特許文献1で開示されている括り罠(1)のように、ワイヤーを保持する構造が幅方向に曲げられた溝形状により構成されるワイヤーガイドは、形成するための加工が難しい。つまり、このようなワイヤーガイドを形成するには、長尺平板状の金属板素材を幅方向に曲げた後、長さ方向に曲げて半枠形状に形成することになる。また、金属板曲げ構造としない場合には、外側表面全体に亘って溝を切削加工で形成する、または、成形型を作って形成ことになる。ここで、ワイヤーガイドの形成においては、長さ方向に曲げる際、幅方向の曲げ形状があると、大きな力を必要とし、幅方向の曲げ形状を維持させながら長さ方向にも曲げる必要があり形を整えることが難しい。特に、多角形形状を作るために比較的小さな曲げ半径で曲げて角となる部位の形成は難しい。また、金属板曲げ構造としない場合にも、外側表面全体に亘って溝を形成することは、溝を切削加工する時間が多大になってしまう、または、比較的高価な成形型が必要になってしまう。このため、従来の括り罠においては、このワイヤーガイドを形成するための加工の難しさがコストアップの要因となっていた。
【0007】
本発明の目的は、このような点に鑑みて、ワイヤーガイドをより容易に形成可能な形状にしてコストダウンを可能とした括り罠を提供することにある。
【課題を解決するための手段】
【0008】
本発明に係る括り罠は、
ワイヤーと使用時にワイヤーが取り付けられる括り罠本体とを備え、括り罠本体からリリースされたワイヤーにより野生動物の足を括ることで野生動物を捕獲するための括り罠であって、
括り罠本体は、
枠状の土台枠と、
土台枠内を移動可能な外形形状を有する踏板と、
土台枠の周壁に設置され、踏板を土台枠内の上部位置で支持可能に土台枠内に突出する踏板干渉突出部を有し、支持した踏板に上方から所定以上の力が加わると、踏板干渉突出部が分離または土台枠内に突出しない状態に変形する踏板支持部材と、
一対で踏板に設置されて、それぞれが半枠形状を有し、両端部を回転軸として倒れ姿勢と跳ね上げ姿勢との間を回動可能で、倒れ姿勢では、一対で一部が踏板の周縁からはみ出す多角形枠形状となり、多角形枠形状の周囲にテンションを加えた状態のワイヤーを巻き付け可能なワイヤーガイドと、を備え、
ワイヤーガイドは、複数の多角形枠形状の角となる部位それぞれに、テンションを加えた状態のワイヤーを巻き付けた際にワイヤーが幅方向にずれ難いよう引っ掛け可能な穴形状または溝形状のワイヤー保持部を有するとともに、ワイヤー保持部間の外側表面が平らである、ことを特徴としている。
【0009】
また、この括り罠においては、土台枠の周壁の上部には複数の踏板支持部材設置用の貫通孔が形成されており、踏板支持部材は、使用時の消耗品として別途準備されて踏板支持部材設置用の貫通孔を通して設置され、所定の力が加わると折れて踏板干渉突出部が分離する強度の細長い棒形状部材である、ことも好ましい。
【0010】
また、この括り罠においては、ワイヤーガイドは、倒れ姿勢では、一対で四角形枠形状となるものとする、ことも好ましい。
(【0011】以降は省略されています)
この特許をJ-PlatPat(特許庁公式サイト)で参照する
関連特許
有限会社信英精密
括り罠
1日前
個人
蠅捕獲器
1か月前
個人
草刈り鋏
1か月前
個人
釣り用錘
11日前
個人
噴霧器ノズル
9日前
個人
蜜蜂保護装置
22日前
個人
種子の製造方法
28日前
個人
草刈機用回転刃
1か月前
個人
昆虫捕集器
28日前
個人
可動リップ付きルアー
14日前
株式会社剛樹
釣り竿
7日前
井関農機株式会社
圃場作業機
14日前
個人
ブルーカーボンシステム
14日前
個人
四足動物用装着具
1か月前
株式会社ナベル
表示システム
17日前
個人
餌付き針の餌取り防止具
17日前
有限会社信英精密
括り罠
1日前
みのる産業株式会社
除草機
17日前
松山株式会社
収穫機
14日前
井関農機株式会社
苗移植機
1日前
みのる産業株式会社
除草機
17日前
井関農機株式会社
作業車両
1か月前
株式会社オーツボ
海苔箱船
1か月前
井関農機株式会社
作業車両
1か月前
松山株式会社
収穫機
14日前
株式会社アテックス
芝草の刈取装置
今日
個人
自閉式「洗濯バサミ型」虫捕獲器
1日前
松山株式会社
草刈作業機
22日前
株式会社シマノ
釣糸ガイド
14日前
株式会社シマノ
釣糸ガイド
14日前
みのる産業株式会社
茎葉処理装置
1か月前
株式会社エヌエスシー
鳥害防止装置
1日前
株式会社スズテック
播種装置
1か月前
株式会社三生
足括り罠
24日前
株式会社クボタ
作業車
9日前
株式会社クボタ
移植機
1か月前
続きを見る
他の特許を見る