TOP
|
特許
|
意匠
|
商標
特許ウォッチ
Twitter
他の特許を見る
10個以上の画像は省略されています。
公開番号
2025167343
公報種別
公開特許公報(A)
公開日
2025-11-07
出願番号
2024071858
出願日
2024-04-25
発明の名称
釣糸ガイド
出願人
株式会社シマノ
代理人
個人
,
個人
主分類
A01K
87/04 20060101AFI20251030BHJP(農業;林業;畜産;狩猟;捕獲;漁業)
要約
【課題】ブランクに対して確実に嵌合することができ、しかも釣竿の調子に悪影響を及ぼさない遊動式の釣糸ガイドを提供すること。
【解決手段】釣糸ガイド10は、ガイド本体12および嵌合部材13を有する。嵌合部材13は、第1管部31、第2管部32および連結部33を備える。第1管部31にガイド本体12の固定部26が固定され、第2管部32にガイド本体12の固定部29が固定される。連結部33の一部が切り欠かれて開口30が設けられている。この開口30は、ガイド本体12と対向している。連結部33の肉厚は、中央部41において最も薄い。
【選択図】図2
特許請求の範囲
【請求項1】
釣糸を案内するガイドリングと、
前記ガイドリングを保持する環状のフレームと、
前記ガイドリングの軸芯方向の第1向きに延びる第1固定部を有し、前記フレームの周方向に離間する一対の第1支持部に取り付けられる第1支持脚と、
前記第1向きと反対の第2向きに延びる第2固定部を有し、前記フレームにおける前記一対の第1支持部の間に設けられた第2支持部に取り付けられる第2支持脚と、
前記第1固定部が固定される第1管部と、
前記第2固定部が固定される第2管部と、
前記第1管部および前記第2管部のうち少なくともいずれか一方より曲げ剛性が低い低剛性部を有し、前記第1管部および前記第2管部を連結する連結部と、
を備えた釣糸ガイド。
続きを表示(約 970 文字)
【請求項2】
前記低剛性部は、前記連結部のうち前記フレームが配置される側の周面に設けられている、請求項1に記載の釣糸ガイド。
【請求項3】
前記低剛性部は、前記連結部に設けられた切欠部によって規定される、請求項1または2に記載の釣糸ガイド。
【請求項4】
前記切欠部は、少なくとも2つの開口によって規定される、請求項3に記載の釣糸ガイド。
【請求項5】
前記低剛性部は、前記連結部に設けられた薄肉部によって規定される、請求項1または2に記載の釣糸ガイド。
【請求項6】
前記薄肉部は、少なくとも2つの凹部によって規定される、請求項5に記載の釣糸ガイド。
【請求項7】
前記薄肉部は、前記第1管部および前記第2管部のうち少なくともいずれか一方より離間するにしたがって漸次薄肉となる、請求項5または6に記載の釣糸ガイド。
【請求項8】
前記第1管部は、前記第1固定部が固定される第1載置部を有し、
前記第2管部は、前記第2固定部が固定される第2載置部を有し、
前記第1載置部および前記第2載置部のうち少なくともいずれか一方は、前記第1固定部または前記第2固定部が、前記第1管部または第2管部に対して周方向に移動することを規制する周方向規制部を有する、請求項1に記載の釣糸ガイド。
【請求項9】
前記第1管部は、前記第1固定部が固定される第1載置部を有し、
前記第2管部は、前記第2固定部が固定される第2載置部を有し、
前記第1載置部および前記第2載置部のうち少なくともいずれか一方は、前記第1固定部または前記第2固定部が、前記第1管部または第2管部に対して軸方向に移動することを規制する軸方向規制部を有する、請求項1に記載の釣糸ガイド。
【請求項10】
前記第1管部は、前記第1固定部が固定される第1載置部を有し、
前記第2管部は、前記第2固定部が固定される第2載置部を有し、
前記第1載置部と前記第1固定部との間または前記第2載置部と前記第2固定部との間に補強部が設けられている、請求項1に記載の釣糸ガイド。
(【請求項11】以降は省略されています)
発明の詳細な説明
【技術分野】
【0001】
この発明は、釣糸ガイドの構造に関し、詳しくは、たとえば振出式釣竿に適用される遊動式の釣糸ガイドの構造に関するものである。
続きを表示(約 2,100 文字)
【背景技術】
【0002】
釣糸リールが装着される振出式釣竿は、一般に遊動式の釣糸ガイドを採用する。遊動式の釣糸ガイドは、所定内径の嵌合部材を備えており、この嵌合部材に振出式釣竿を構成するブランクが挿通される。嵌合部材は、典型的には円筒状に形成されており、ブランクの外形形状は所定のテーパを形成している。嵌合部材は、ブランクの小径側から大径側へ相対的に移動することにより、ブランクに食い込むように嵌め合わされる(特許文献1参照)。これにより、釣糸ガイドは、ブランクに一定の保持力で固定される。なお、この嵌合部材が逆向きに(ブランクの大径側から小径側へ)移動されることにより、釣糸ガイドとブランクとの固定が解除される。
【先行技術文献】
【特許文献】
【0003】
特開2000-3280号公報
【発明の概要】
【発明が解決しようとする課題】
【0004】
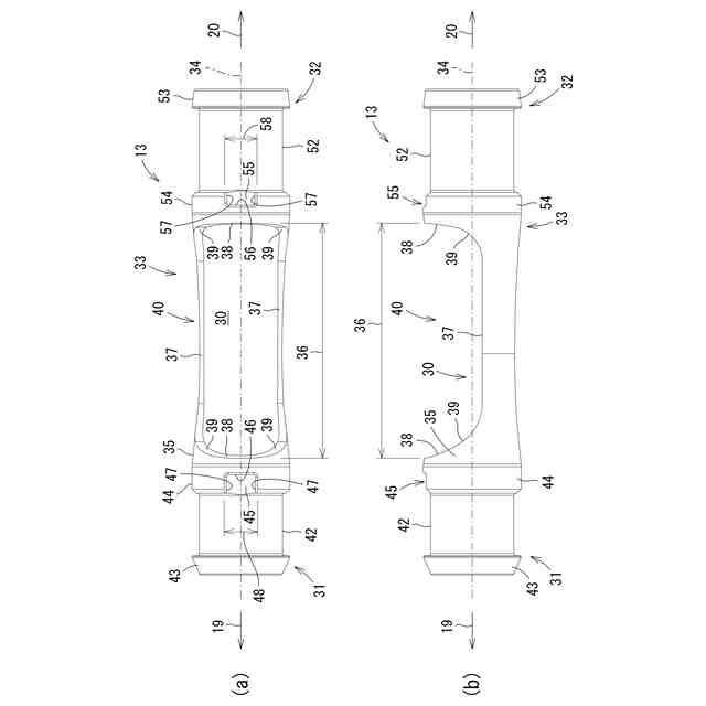
ところで、大型魚をターゲットとする釣竿では、釣糸ガイドも相応の機械的強度が求められる。たとえば、釣糸ガイドのガイドフレームは、いわゆるダブルフット形に設計され、これに対応して嵌合部材もブランクに確実に嵌合するために外形や肉厚等が相応の大きに設計されなければならない。本明細書において「ダブルフット形」とは、ガイドリングを保持するガイドフレームが、ガイドリングの中心軸に沿う方向に並設された一対の支持脚を有する構想をいう。なお、少なくともいずれか一方の支持脚がガイドリングの径方向に隔てて配置された一対の脚片を備えている構造も含めて「ダブルフット形」という。
【0005】
しかしながら、嵌合部材の外形や肉厚が大きくなれば、釣糸ガイドの重量が増加することに加えて、高剛性の嵌合部材がブランクに嵌合することにより、いわゆる釣竿の調子に悪影響を及ぼす。特に、ガイドリングの中心軸に沿う方向に長くなるダブルフット形の釣糸ガイドでは、釣竿の調子への影響はより顕著となる。
【0006】
本発明はかかる背景のもとになされたものであって、その目的は、ブランクに対して確実に嵌合することができ、しかも釣竿の調子に悪影響を及ぼさない遊動式の釣糸ガイドを提供することである。
【課題を解決するための手段】
【0007】
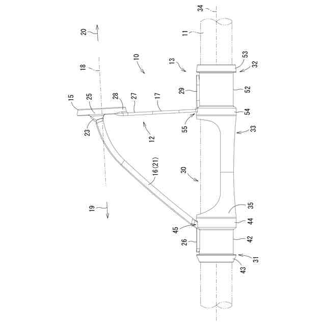
(1) 上記課題を解決するために、本件発明の第1側面の遊動式の釣糸ガイドは、釣糸を案内するガイドリングと、前記ガイドリングを保持する環状のフレームと、前記ガイドリングの軸芯方向の第1向きに延びる第1固定部を有し、前記フレームの周方向に離間する一対の第1支持部に取り付けられる第1支持脚と、前記第1向きと反対の第2向きに延びる第2固定部を有し、前記フレームにおける前記一対の第1支持部の間に設けられた第2支持部に取り付けられる第2支持脚と、前記第1固定部が固定される第1管部と、前記第2固定部が固定される第2管部と、前記第1管部および前記第2管部のうち少なくともいずれか一方より曲げ剛性が低い低剛性部を有し、前記第1管部および前記第2管部を連結する連結部とを備えたことを特徴とする。
【0008】
この発明では、ガイドリングを保持するフレーム、第1支持脚および第2支持脚が、ガイド本体を構成する。第1支持脚の第1固定部が第1管部に固定され、第2支持脚の第2固定部が第2管部に固定される。第1管部および第2管部は、連結部を介して連結され、これらが嵌合部材を構成する。すなわち、前記ガイド本体が前記嵌合部材に固定され、これにより、遊動式の釣糸ガイドが構成される。たとえば振出式釣竿を構成するブランクは、前記第1管部および前記第2管部に挿通される。前記嵌合部材が前記ブランクに対してスライドすることにより、前記第1管部および前記第2管部が前記ブランクの所定位置に嵌合し、釣糸ガイドとして機能する。前記連結部の曲げ剛性は、前記第1管部および前記第2管部のうち少なくともいずれか一方より低く設定されているので、前記ブランクに曲げモーメントが作用して撓みが生じた場合(典型的には、実釣において魚がヒットした場合)、このブランクの撓みに追従するように前記連結部が容易に撓む。したがって、この釣糸ガイドが設けられることにより、釣竿の調子が悪影響を受けることはない。
【0009】
(2) 本件発明の第1側面にしたがう第2側面の遊動式の釣糸ガイドにおいては、前記低剛性部は、前記連結部のうち前記フレームが配置される側の周面に設けられている。
【0010】
この遊動式釣糸ガイドは、特にスピニングリールが装着される釣竿に適用され、ブランクの所定位置に前記第1管部および前記第2管部が嵌合された状態で、前記低剛性部は、前記連結部のうち前記フレームが配置される側、すなわち、ブランクと対向する側に配置される。この場合、撓んだブランクにおいて圧縮歪みが生じる側に前記低剛性部が配置されるので、前記連結部は、ブランクの変形に追従して撓む。したがって、釣竿の調子への悪影響はさらに抑えられる。
(【0011】以降は省略されています)
この特許をJ-PlatPat(特許庁公式サイト)で参照する
関連特許
株式会社シマノ
釣竿
2か月前
株式会社シマノ
ルアー
1か月前
株式会社シマノ
ルアー
1か月前
株式会社シマノ
エサ箱
1日前
株式会社シマノ
魚挟み具
2か月前
株式会社シマノ
制御装置
17日前
株式会社シマノ
電動リール
9日前
株式会社シマノ
釣糸ガイド
22日前
株式会社シマノ
釣糸ガイド
22日前
株式会社シマノ
釣糸巻取部品
9日前
株式会社シマノ
魚釣用リール
22日前
株式会社シマノ
釣道具用ケース
2か月前
株式会社シマノ
クーラーボックス
1日前
株式会社シマノ
釣糸ガイドカバー
22日前
株式会社シマノ
フィッシングシューズ
1か月前
株式会社シマノ
魚釣用スピニングリール
9日前
株式会社シマノ
スプール及びスピニングリール
1か月前
株式会社シマノ
人力駆動車用の検出装置、および、人力駆動車用のドライブユニット
1か月前
株式会社シマノ
人力駆動車用の制御装置
15日前
株式会社シマノ
人力駆動車用のコンポーネント
15日前
株式会社シマノ
車両用の電力供給システム、車両用の給電装置、中間装置、および、車両用の給電アセンブリ
1か月前
株式会社シマノ
人力駆動車用の制御装置、人力駆動車用の制御システム、および、人力駆動車用の頭部保護装置
1か月前
株式会社シマノ
人力駆動車用の制御装置、人力駆動車用のコンポーネント、および、電動コンポーネント用の制御装置
1か月前
個人
産卵床
1日前
個人
平板植栽
2日前
個人
草刈り鋏
1か月前
個人
蠅捕獲器
1か月前
個人
釣り用錘
19日前
個人
噴霧器ノズル
17日前
個人
果実袋
1日前
個人
蜜蜂保護装置
1か月前
個人
刈込鋏保持具
1か月前
個人
養殖器具
1日前
個人
草刈機用回転刃
1か月前
個人
種子の製造方法
1か月前
個人
移動体草刈り機
1日前
続きを見る
他の特許を見る