TOP
|
特許
|
意匠
|
商標
特許ウォッチ
Twitter
他の特許を見る
10個以上の画像は省略されています。
公開番号
2025179986
公報種別
公開特許公報(A)
公開日
2025-12-11
出願番号
2024087000
出願日
2024-05-29
発明の名称
釣糸ガイド
出願人
株式会社シマノ
代理人
個人
主分類
A01K
87/04 20060101AFI20251204BHJP(農業;林業;畜産;狩猟;捕獲;漁業)
要約
【課題】釣糸ガイドの軽量化。
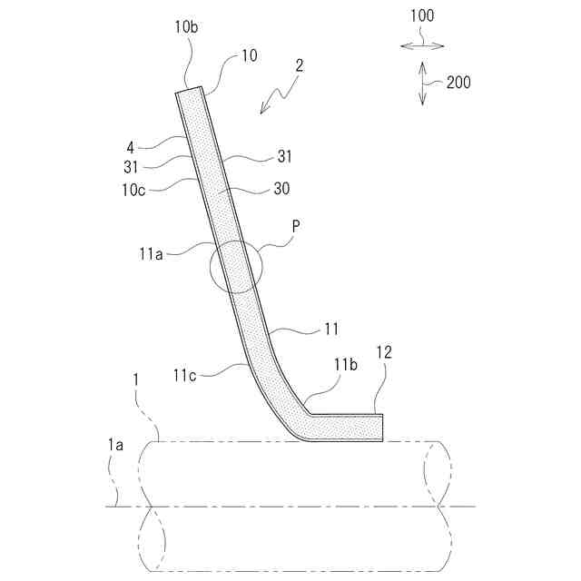
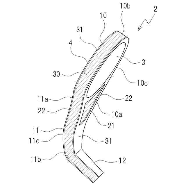
【解決手段】釣竿の竿本体に取り付けられ、釣糸を案内する釣糸ガイドであって、発泡樹脂からなる発泡部30と、繊維強化樹脂からなり、発泡部30の少なくとも一部を覆う強化樹脂部31と、釣糸を案内するガイドリング3と、ガイドリング3を保持し、竿本体に取り付けられるガイドフレーム4と、を備え、ガイドフレーム4の少なくとも一部が発泡部30及び強化樹脂部31から構成され、ガイドフレーム4は、竿本体に取り付けられる取付脚部12と、ガイドリング3を保持する環状部10と、取付脚部12と環状部10とを連結する支持脚部11と、を有し、支持脚部11の少なくとも一部が発泡部30及び強化樹脂部31から構成される。
【選択図】図1
特許請求の範囲
【請求項1】
釣竿の竿本体に取り付けられ、釣糸を案内する釣糸ガイドであって、
発泡樹脂からなる発泡部と、
繊維強化樹脂からなり、前記発泡部の少なくとも一部を覆う強化樹脂部と、
を備える、釣糸ガイド。
続きを表示(約 1,100 文字)
【請求項2】
前記釣糸を案内するガイドリングと、
前記ガイドリングを保持し、前記竿本体に取り付けられるガイドフレームと、
をさらに備え、
前記ガイドフレームの少なくとも一部が前記発泡部及び前記強化樹脂部から構成される、請求項1に記載の釣糸ガイド。
【請求項3】
前記ガイドフレームは、
前記竿本体に取り付けられる取付脚部と、
前記ガイドリングを保持する環状部と、
前記取付脚部と前記環状部とを連結する支持脚部と、
を有し、
前記支持脚部の少なくとも一部が前記発泡部及び前記強化樹脂部から構成される、請求項2に記載の釣糸ガイド。
【請求項4】
前記支持脚部のうち前記環状部に近い脚先部は、前記発泡部及び前記強化樹脂部から構成される、請求項3に記載の釣糸ガイド。
【請求項5】
前記支持脚部のうち前記取付脚部に近い根元部は、前記強化樹脂部のみから構成される、請求項3又は4に記載の釣糸ガイド。
【請求項6】
前記ガイドフレームは、
前記竿本体に取り付けられる取付脚部と、
前記ガイドリングを保持する環状部と、
前記取付脚部と前記環状部とを連結する支持脚部と、
を有し、
前記環状部の少なくとも一部が前記発泡部及び前記強化樹脂部から構成される、請求項2から4のいずれかに記載の釣糸ガイド。
【請求項7】
前記環状部のうち前記支持脚部に近いベース部は、前記発泡部及び強化樹脂部から構成される、請求項6に記載の釣糸ガイド。
【請求項8】
前記環状部のうち前記支持脚部から離れた頂上部は、前記強化樹脂部のみから構成される、請求項6に記載の釣糸ガイド。
【請求項9】
前記ガイドフレームは、
前記竿本体に取り付けられる取付脚部と、
前記ガイドリングを保持する環状部と、
前記取付脚部と前記環状部とを連結する支持脚部と、
を有し、
前記取付脚部、前記環状部及び前記支持脚部のいずれもが、前記発泡部及び前記強化樹脂部から構成される、請求項2に記載の釣糸ガイド。
【請求項10】
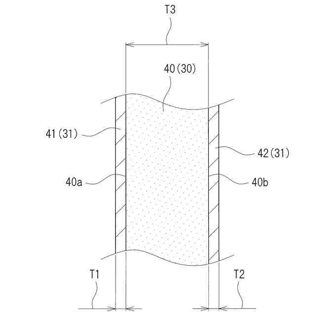
前記発泡部は、発泡層を有し、
前記強化樹脂部は、
前記発泡層の竿先側の少なくとも一部を覆う第1強化樹脂層と、
前記発泡層の竿尻側の少なくとも一部を覆う第2強化樹脂層と、
を有する、請求項1から4のいずれかに記載の釣糸ガイド。
発明の詳細な説明
【技術分野】
【0001】
本発明は、釣糸を案内する釣糸ガイドに関する。
続きを表示(約 1,400 文字)
【背景技術】
【0002】
竿本体の外周面に取り付けられる釣糸ガイドには、軽量化が求められる。下記特許文献1においては、プリプレグにより釣糸ガイドが形成されている。しかしながら、この手法による軽量化には限界がある。
【先行技術文献】
【特許文献】
【0003】
特開2011-205937号公報
【発明の概要】
【発明が解決しようとする課題】
【0004】
本発明は、釣糸ガイドの軽量化を課題とする。
【課題を解決するための手段】
【0005】
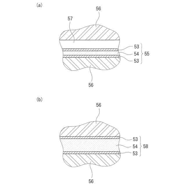
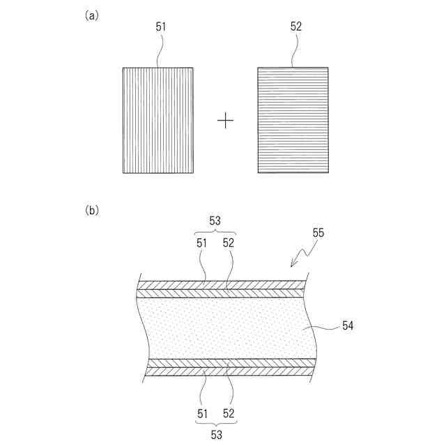
本発明の第1側面に係る釣糸ガイドは、釣竿の竿本体に取り付けられ、釣糸を案内する。釣糸ガイドは、発泡部と、強化樹脂部と、を備える。発泡部は、発泡樹脂からなる。強化樹脂部は、繊維強化樹脂からなる。強化樹脂部は、発泡部の少なくとも一部を覆う。
【0006】
この構成によれば、釣糸ガイドが発泡部を備えている。そのため、釣糸ガイドを容易に軽量化することができる。また、強化樹脂部が発泡部の少なくとも一部を覆っている。そのため、強化樹脂部によって発泡部を保護することができる。従って、釣糸ガイドを軽量化しつつ、釣糸ガイドの損傷を容易に防止することができる。また、発泡部により衝撃を吸収することができるので、強化樹脂部を薄くすることができ、軽量化と強度確保とを容易に両立できる。
【0007】
本発明の第1側面に従う第2側面の釣糸ガイドにおいては、ガイドリングと、ガイドフレームと、をさらに備える。ガイドリングは、釣糸を案内する。ガイドフレームは、ガイドリングを保持する。ガイドフレームは、竿本体に取り付けられる。ガイドフレームの少なくとも一部が発泡部及び強化樹脂部から構成される。この構成によれば、ガイドフレームの少なくとも一部が発泡部及び強化樹脂部から構成されるので、ガイドフレームを容易に軽量化することができると共に、ガイドフレームの損傷を容易に防止することができる。
【0008】
本発明の第2側面に従う第3側面の釣糸ガイドにおいては、ガイドフレームは、取付脚部と、環状部と、支持脚部と、を有する。取付脚部は、竿本体に取り付けられる。環状部は、ガイドリングを保持する。支持脚部は、取付脚部と環状部とを連結する。支持脚部の少なくとも一部が発泡部及び強化樹脂部から構成される。この構成によれば、支持脚部の少なくとも一部が発泡部及び強化樹脂部から構成されるので、支持脚部を容易に軽量化することができると共に、支持脚部の損傷を容易に防止することができる。
【0009】
本発明の第3側面に従う第4側面の釣糸ガイドにおいては、支持脚部のうち環状部に近い脚先部は、発泡部及び強化樹脂部から構成される。この構成によれば、支持脚部の脚先部が発泡部及び強化樹脂部から構成されるので、支持脚部を容易に軽量化することができる。
【0010】
本発明の第3側面又は第4側面に従う第5側面の釣糸ガイドにおいては、支持脚部のうち取付脚部に近い根元部は、強化樹脂部のみから構成される。この構成によれば、支持脚部の根元部は、発泡部と強化樹脂部のうち、強化樹脂部のみから構成されるので、大きな力が作用しやすい箇所である根元部の強度を容易に確保することができる。
(【0011】以降は省略されています)
この特許をJ-PlatPat(特許庁公式サイト)で参照する
関連特許
株式会社シマノ
ルアー
1か月前
株式会社シマノ
エサ箱
13日前
株式会社シマノ
ルアー
1か月前
株式会社シマノ
制御装置
29日前
株式会社シマノ
釣糸ガイド
1か月前
株式会社シマノ
釣糸ガイド
1か月前
株式会社シマノ
電動リール
21日前
株式会社シマノ
釣糸ガイド
今日
株式会社シマノ
ロッドケース
6日前
株式会社シマノ
釣糸巻取部品
21日前
株式会社シマノ
魚釣用リール
1か月前
株式会社シマノ
クーラーボックス
13日前
株式会社シマノ
釣糸ガイドカバー
1か月前
株式会社シマノ
フィッシングシューズ
2か月前
株式会社シマノ
魚釣用スピニングリール
21日前
株式会社シマノ
人力駆動車用の制御装置
今日
株式会社シマノ
人力駆動車用の制御装置
今日
株式会社シマノ
スプール及びスピニングリール
2か月前
株式会社シマノ
人力駆動車用のコンポーネント
今日
株式会社シマノ
人力駆動車用のコンポーネント
今日
株式会社シマノ
発電装置および人力駆動車用のコンポーネント
今日
株式会社シマノ
人力駆動車用の検出装置、および、人力駆動車用のドライブユニット
2か月前
株式会社シマノ
人力駆動車用の制御装置
27日前
株式会社シンセイ
金属端子および複合部材、ならびに複合部材の製造方法
1日前
株式会社シマノ
人力駆動車用のコンポーネント
27日前
株式会社シマノ
車両用の電力供給システム、車両用の給電装置、中間装置、および、車両用の給電アセンブリ
2か月前
株式会社シマノ
人力駆動車用の制御装置、人力駆動車用の制御システム、および、人力駆動車用の頭部保護装置
1か月前
個人
産卵床
13日前
個人
釣り用錘
1か月前
個人
平板植栽
14日前
個人
果実袋
13日前
個人
蜜蜂保護装置
1か月前
個人
噴霧器ノズル
29日前
個人
種子の製造方法
1か月前
個人
移動体草刈り機
13日前
個人
ビニール鉢名札
今日
続きを見る
他の特許を見る