TOP
|
特許
|
意匠
|
商標
特許ウォッチ
Twitter
他の特許を見る
10個以上の画像は省略されています。
公開番号
2025173778
公報種別
公開特許公報(A)
公開日
2025-11-28
出願番号
2024079531
出願日
2024-05-15
発明の名称
エサ箱
出願人
株式会社シマノ
代理人
個人
,
個人
,
個人
,
個人
主分類
A01K
97/04 20060101AFI20251120BHJP(農業;林業;畜産;狩猟;捕獲;漁業)
要約
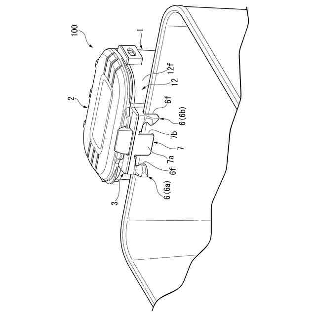
【課題】釣り用のバッカンの縁部に安定して取り付けることができ、縁部のコーナーにも取り付けることができるエサ箱を提供すること。
【解決手段】釣り用のエサ箱であって、下方に形成された底面と底面を囲む側面と側面の上端に形成された開口とを有する箱状の本体部と、側面に設けられた掛止部と、を備え、掛止部は、側面から垂直方向に離間して上下方向に延びており、上下方向および水平方向に離間している一対の第1爪部と、側面から垂直方向に離間して上下方向に延びており、一対の第1爪部の間に設けられて、第1爪部と水平方向に離間している第2爪部と、を有しており、第1爪部と第2爪部との間の水平方向の長さは、側面と第1爪部との間の垂直方向の長さより大きい、エサ箱。
【選択図】図1
特許請求の範囲
【請求項1】
釣り用のエサ箱であって、
下方に形成された底面と前記底面を囲む側面と前記側面の上端に形成された開口とを有する箱状の本体部と、
前記側面に設けられた掛止部と、
を備え、
前記掛止部は、
前記側面から前記側面に対する垂直方向に離間して上下方向に延びており、前記上下方向および前記垂直方向と交差する水平方向に離間している一対の第1爪部と、
前記側面から前記垂直方向に離間して前記上下方向に延びており、前記一対の第1爪部の間に設けられて、前記第1爪部と前記水平方向に離間している第2爪部と、
を有しており、
前記第1爪部と前記第2爪部との間の前記水平方向の長さは、前記側面と前記第1爪部との間の前記垂直方向の長さより大きい、
エサ箱。
続きを表示(約 440 文字)
【請求項2】
前記第1爪部および前記第2爪部のうち少なくとも一方の前記上下方向の長さは、前記側面の前記上下方向の長さより小さい、
請求項1に記載のエサ箱。
【請求項3】
前記第1爪部は、下端に前記側面から離れる方向に突出する第1凸部を有する、
請求項1または請求項2に記載のエサ箱。
【請求項4】
前記第1凸部は、側部から前記第2爪部に向けて突出する第2凸部を有する、
請求項3に記載のエサ箱。
【請求項5】
前記第2凸部は、前記第2爪部の側に前記側面に向けて傾斜する傾斜面を有する、
請求項4に記載のエサ箱。
【請求項6】
前記側面は、表面から前記第1爪部に向けて突出する第3凸部を有する、
請求項1または請求項2に記載のエサ箱。
【請求項7】
前記本体部は、前記開口を開閉する蓋部を有する。
請求項1または請求項2に記載のエサ箱。
発明の詳細な説明
【技術分野】
【0001】
本発明は、釣り用のエサ箱に関する。
続きを表示(約 1,600 文字)
【背景技術】
【0002】
従来、釣り用のエサ箱として、ベルトに取り付けるための掛止部を有するエサ箱が知られている(例えば、特許文献1、特許文献2参照)。
【先行技術文献】
【特許文献】
【0003】
特開平8-131036号公報
実用新案登録第2537904号公報
【発明の概要】
【発明が解決しようとする課題】
【0004】
一方で、エサ箱は釣り用のバッカンの縁部に取り付けて使用されることが多く、縁部のコーナーに取り付けて使用されることもある。ベルトに取り付けるための掛止部によってエサ箱がバッカンの縁部に取り付けられるとき、不安定になってしまうという問題がある。エサ箱が縁部のコーナーに取り付けられるときは、特に安定性が悪く、掛止部にも負荷がかかる。
【0005】
本発明は、釣り用のバッカンの縁部に安定して取り付けることができ、縁部のコーナーにも取り付けることができるエサ箱を提供することを目的としている。
【課題を解決するための手段】
【0006】
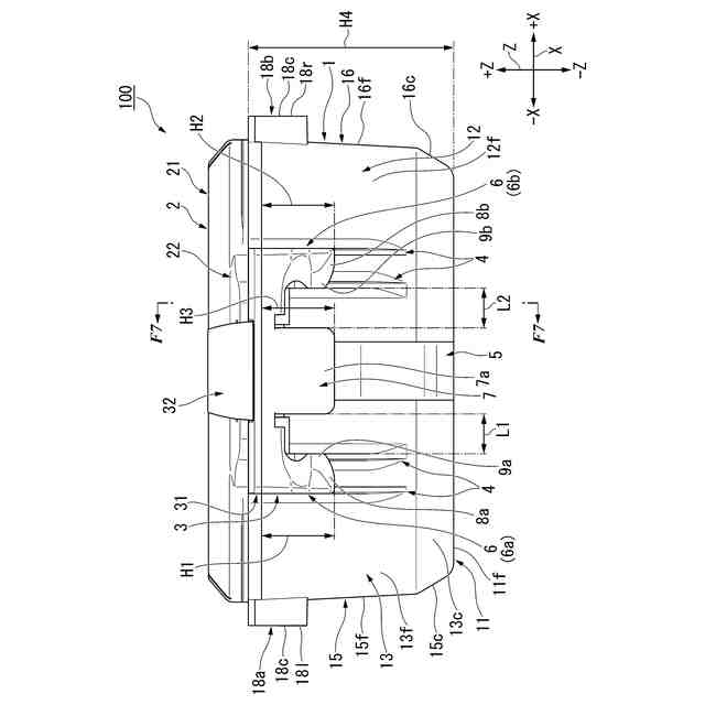
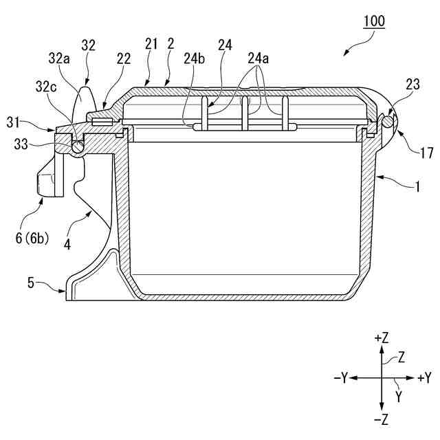
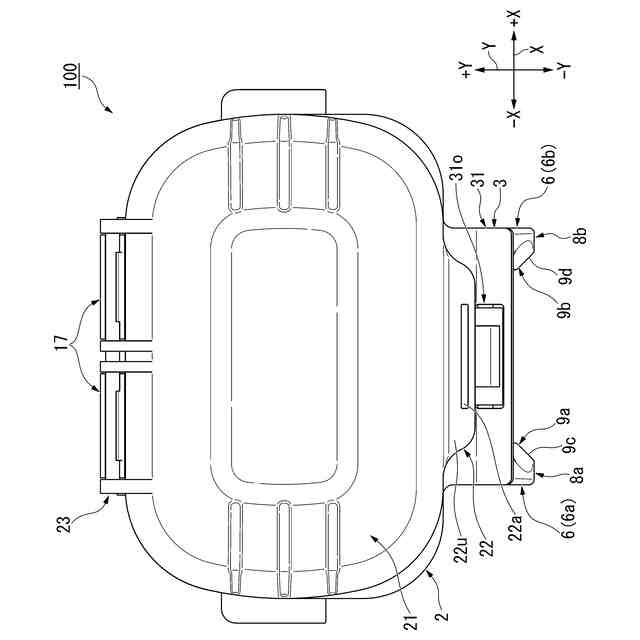
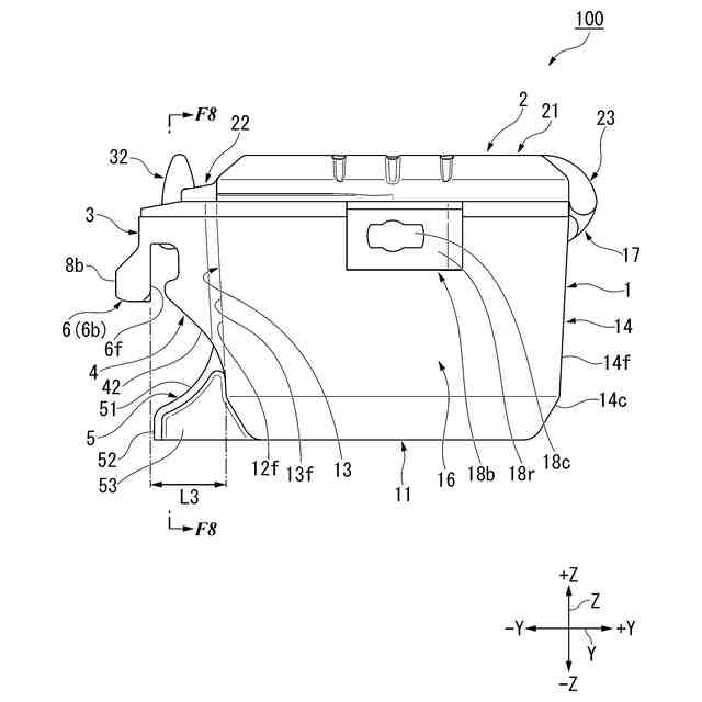
(1)本発明に係るエサ箱の態様1は、釣り用のエサ箱であって、下方に形成された底面と前記底面を囲む側面と前記側面の上端に形成された開口とを有する箱状の本体部と、前記側面に設けられた掛止部と、を備え、前記掛止部は、前記側面から前記側面に対する垂直方向に離間して上下方向に延びており、前記上下方向および前記垂直方向と交差する水平方向に離間している一対の第1爪部と、前記側面から前記垂直方向に離間して前記上下方向に延びており、前記一対の第1爪部の間に設けられて、前記第1爪部と前記水平方向に離間している第2爪部と、を有しており、前記第1爪部と前記第2爪部との間の前記水平方向の長さは、前記側面と前記第1爪部との間の前記垂直方向の長さより大きいことを特徴としている。
【0007】
本発明に係るエサ箱の態様1によれば、本体部の側面に掛止部が設けられているため、箱状部材の縁部に安定して取り付けることができる。例えば、釣り用のバッカンの縁部にも安定して取り付けることができる。さらに、掛止部は、本体部の側面と第1爪部との間に挿入可能な大きさの部材を、掛止部の第1爪部と第2爪部との間にも挿入可能な構造になっている。そのため、第1爪部と第2爪部との間にバッカンの縁部を通し、第1爪部の前面と第2爪部の後面を挟持部とすることで、エサ箱をバッカンのコーナーにも取り付けることができる。なお、垂直方向のうち本体部の側面から掛止部に向かう方向を前方向とし、垂直方向のうち前方向と逆の方向を後方向とする。
【0008】
(2)本発明に係るエサ箱の態様2は、態様1のエサ箱において、前記第1爪部および前記第2爪部のうち少なくとも一方の前記上下方向の長さは、前記側面の前記上下方向の長さより小さいことを特徴としている。
【0009】
本発明に係るエサ箱の態様2によれば、第1爪部および第2爪部のうち少なくとも一方の上下方向の長さが本体部の側面の長さより小さい構造を有する。そのため、本体部の側面の長さよりも上下方向の長さが大きい枠に対してエサ箱を取り付けるときに、掛止部の下端が取り付ける枠の下端よりも下方にはみ出さない。例えば、エサ箱を取り付けるバッカンの縁の上下方向の長さが本体部の側面の長さよりも大きいとき、本体部がバッカンの内側に配置される向きで、エサ箱をバッカンに取り付けることができる。
【0010】
(3)本発明に係るエサ箱の態様3は、態様1または態様2のエサ箱において、前記第1爪部は、下端に前記側面から離れる方向に突出する第1凸部を有することを特徴としている。
(【0011】以降は省略されています)
この特許をJ-PlatPat(特許庁公式サイト)で参照する
関連特許
株式会社シマノ
釣竿
2か月前
株式会社シマノ
ルアー
1か月前
株式会社シマノ
ルアー
1か月前
株式会社シマノ
ルアー
2か月前
株式会社シマノ
エサ箱
1日前
株式会社シマノ
魚挟み具
2か月前
株式会社シマノ
制御装置
17日前
株式会社シマノ
電動リール
9日前
株式会社シマノ
釣糸ガイド
22日前
株式会社シマノ
釣糸ガイド
22日前
株式会社シマノ
釣糸巻取部品
9日前
株式会社シマノ
魚釣用リール
22日前
株式会社シマノ
釣道具用ケース
2か月前
株式会社シマノ
クーラーボックス
1日前
株式会社シマノ
釣糸ガイドカバー
22日前
株式会社シマノ
フィッシングシューズ
1か月前
株式会社シマノ
魚釣用スピニングリール
9日前
株式会社シマノ
スプール及びスピニングリール
1か月前
株式会社シマノ
人力駆動車用の検出装置、および、人力駆動車用のドライブユニット
1か月前
株式会社シマノ
人力駆動車用の制御装置
15日前
株式会社シマノ
人力駆動車用の制御装置
2か月前
株式会社シマノ
人力駆動車用のコンポーネント
15日前
株式会社シマノ
車両用の電力供給システム、車両用の給電装置、中間装置、および、車両用の給電アセンブリ
1か月前
株式会社シマノ
人力駆動車用の制御装置、人力駆動車用の制御システム、および、人力駆動車用の頭部保護装置
1か月前
株式会社シマノ
人力駆動車用の制御装置、人力駆動車用のコンポーネント、および、電動コンポーネント用の制御装置
1か月前
個人
産卵床
1日前
個人
釣り用錘
19日前
個人
草刈り鋏
1か月前
個人
蠅捕獲器
1か月前
個人
平板植栽
2日前
個人
蜜蜂保護装置
1か月前
個人
果実袋
1日前
個人
噴霧器ノズル
17日前
個人
移動体草刈り機
1日前
個人
養殖器具
1日前
個人
草刈機用回転刃
1か月前
続きを見る
他の特許を見る