TOP
|
特許
|
意匠
|
商標
特許ウォッチ
Twitter
他の特許を見る
10個以上の画像は省略されています。
公開番号
2025167339
公報種別
公開特許公報(A)
公開日
2025-11-07
出願番号
2024071853
出願日
2024-04-25
発明の名称
釣糸ガイドカバー
出願人
株式会社シマノ
代理人
個人
,
個人
主分類
A01K
87/04 20060101AFI20251030BHJP(農業;林業;畜産;狩猟;捕獲;漁業)
要約
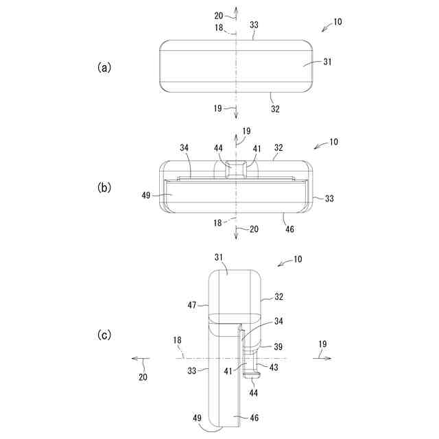
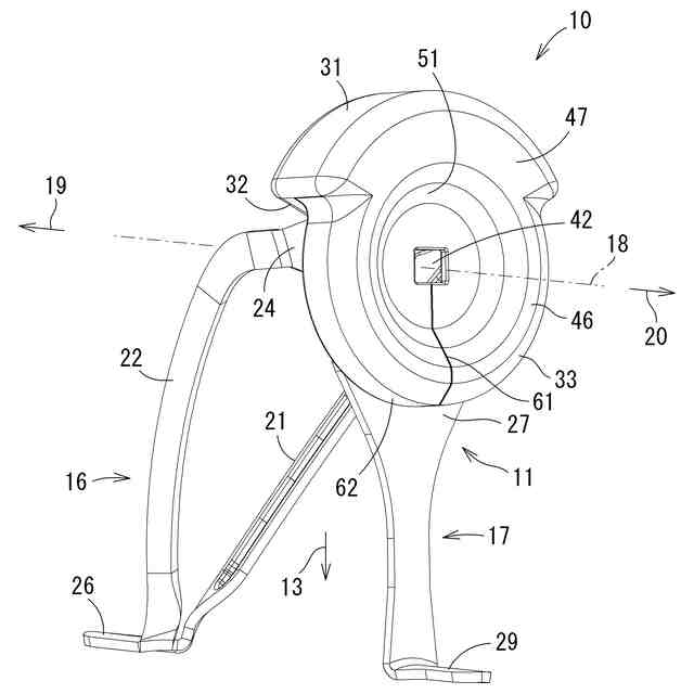
【課題】ガイドリングおよびガイドフレームを確実に保護することができる釣糸ガイドカバーを提供すること。
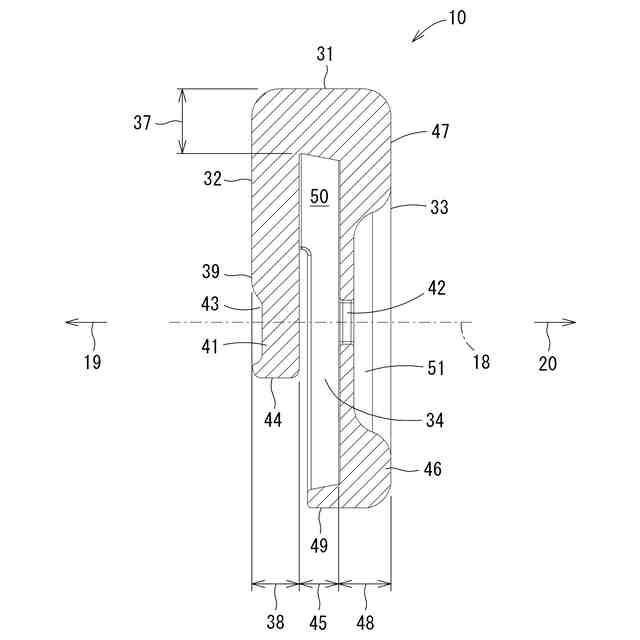
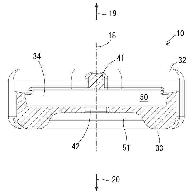
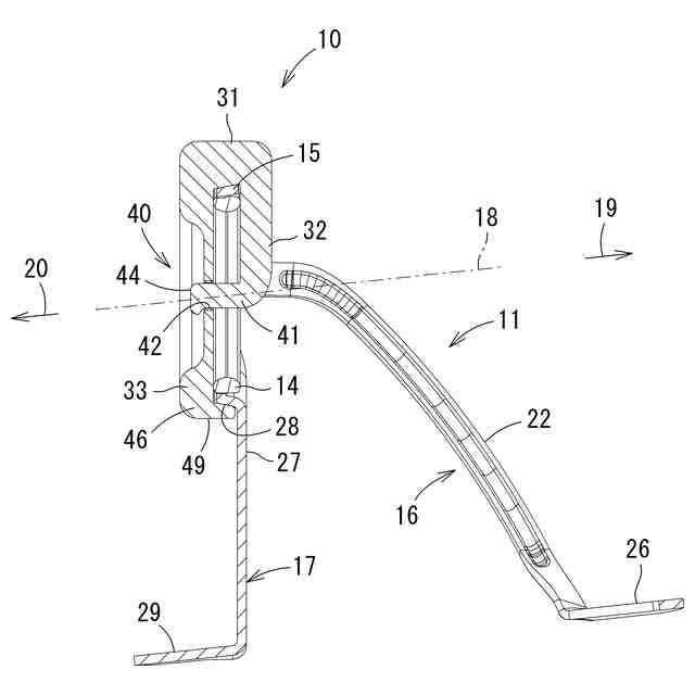
【解決手段】このガイドカバー10は、ダブルフット形の釣糸ガイド11に装着される。釣糸ガイド11は、釣糸ガイド11は、ガイドリング14と、フレーム15と、脚片21、22とを有する。ガイドカバー10は、天板部31と、扇形部32と、円盤部33とを有する。これらは、シリコーンゴムにより一体的に形成される。天板部31がガイドRング14の上縁部を保護する。ガイドカバー10がフレーム15に被せられると、扇形部32および円盤部33がフレーム15を挟持し、フレーム15の両側を保護する。
【選択図】図3
特許請求の範囲
【請求項1】
釣糸を案内するガイドリングと、
前記ガイドリングを保持する環状のフレームと、
前記ガイドリングの軸芯方向の第1向きに延びる第1固定部を有し、前記フレームの周方向に離間する一対の第1支持部にそれぞれ取り付けられる一対の第1支持脚と、
前記第1向きと反対の第2向きに延びる第2固定部を有し、前記フレームにおける前記一対の第1支持部の間に設けられた第2支持部に取り付けられる第2支持脚と、を有する釣糸ガイドに適用される釣糸ガイドカバーであって、
前記フレームの外周縁のうち前記第1支持部を基準に前記第2支持脚が取り付けられる側と反対側の領域を覆う第1保護部と、
前記第1保護部に連続して前記フレームの前記第1向き側に配置され、前記一対の第1支持脚の間の領域を覆う第2保護部と、
前記第1保護部に連続して前記フレームの前記第2向き側の領域を覆い、前記第2保護部と協働して前記フレームを挟持可能な第3保護部と、を備えた釣糸ガイドカバー。
続きを表示(約 1,000 文字)
【請求項2】
前記第1保護部は、前記フレームの外周縁の形状に対応して湾曲ないし屈曲された矩形の板状に形成されている、請求項1に記載の釣糸ガイドカバー。
【請求項3】
前記第2保護部は、前記一対の第1支持脚の間に挿入される扇形の板状に形成されている、請求項1または2に記載の釣糸ガイドカバー。
【請求項4】
前記第3保護部は、前記フレームの外形形状に対応する板状に成形されている、請求項1または2に記載の釣糸ガイドカバー。
【請求項5】
前記第1保護部、前記第2保護部および前記第3保護部は、シリコーンゴムにより一体的に形成されている、請求項1または2に記載の釣糸ガイドカバー。
【請求項6】
前記第2保護部および前記第3保護部は、前記フレームを挟持可能な距離で前記第1保護部の両側に対向配置される、請求項1または2に記載の釣糸ガイドカバー。
【請求項7】
前記第2保護部を前記第3保護部に係止する係止構造が設けられている、請求項1または2に記載の釣糸ガイドカバー。
【請求項8】
前記係止構造は、
前記第2保護部および前記第3保護部のうちいずれか一方に設けられた係止爪と、
前記第2保護部および前記第3保護部のうちいずれか他方に設けられ、前記係止爪が係合する係止孔とを有する、請求項7に記載の釣糸ガイドカバー。
【請求項9】
前記係止孔は、前記第3保護部を貫通する貫通孔であり、
前記係止爪は、前記第2保護部に設けられ、前記貫通孔の中心軸と交差する方向に突出している、請求項8に記載の釣糸ガイドカバー。
【請求項10】
ガイドリングを保持する環状のフレームと、
前記フレームの周方向に離間する一対の第1支持部から前記ガイドリングの軸芯方向の第1向きに延びる一対の第1支持脚および前記フレームの前記第1支持部と異なる第2支持部から前記第1向きと交差する第3向きに延びる第2支持脚と、を有する釣糸ガイドに適用される釣糸ガイドカバーであって、
前記フレームの外周縁の曲率に対応して湾曲ないし屈曲した矩形の第1板部と、
前記第1板部の長縁のうち前記第1向き側に連続し、前記一対の第1支持脚の間に配置される扇形を呈する第2板部と、
前記第1板部の長縁のうち第2向き側に連続し、前記第2板部と協働して前記フレームを挟持可能な第3板部と、を備えた釣糸ガイドカバー。
(【請求項11】以降は省略されています)
発明の詳細な説明
【技術分野】
【0001】
この発明は、釣糸ガイドを保護するカバーの構造に関するものである。
続きを表示(約 1,900 文字)
【背景技術】
【0002】
釣糸リールが装着される釣竿は、一般に釣糸を支持する釣糸ガイドを備える。釣糸ガイドは、釣糸が挿通されるガイドリングおよびガイドフレームを有する。ガイドフレームは、ガイドリングを保持する嵌合部を有し、この嵌合部に接着剤を介してガイドリングが嵌め込まれる(たとえば、特許文献1参照)。釣糸ガイドは、通常、ブランクの外周面に装着されるから、釣糸ガイドのうちガイドフレームおよびガイドリングは、ブランクの径方向に突出する。
【0003】
たとえば磯における実釣では、釣人は、休憩時等に釣竿(仕掛けを組み上げた状態)を岩に立てかけることがあり、強い風が吹くときは、岩に立てかけた釣竿が岩の上に倒れることもある。このため、ガイドフレームが岩と衝突し、これに保持されたガイドリングが損傷を受けてしまうおそれがある。
【0004】
このような不都合を解消するため、釣糸ガイドに装着してガイドフレームおよびガイドリングを保護するカバーが提案されている(たとえば、特許文献2参照)。
【先行技術文献】
【特許文献】
【0005】
特開2023-156221号公報
実公昭55-27031号公報
【発明の概要】
【発明が解決しようとする課題】
【0006】
しかしながら、従来のカバーは、単純な袋状に形成されており、釣糸ガイドに単に被せるようにして使用される。すなわち、従来のカバーは、釣糸ガイドを単に覆うだけであって、ガイドフレームおよびガイドリングを十分に保護するものではなかった。しかも、従来のカバーは、単に釣糸ガイドに被せられるものであるから、簡単に外れてしまうという問題もあった。
【0007】
加えて、たとえば大型魚をターゲットとする釣竿では、釣竿を構成するブランクおよび釣糸ガイドは、相応の機械的強度が求められる。そのため、ブランクおよび釣糸ガイドの機械的に強化され、釣竿の重量が増加することから、前記問題は、特に大型魚をターゲットとする釣竿等について、実釣における釣竿の損傷防止という観点から重大である。
【0008】
本発明はかかる背景のもとになされたものであって、その目的は、実釣においてガイドリングおよびガイドフレームを確実に保護することができる釣糸ガイドカバーを提供することである。
【課題を解決するための手段】
【0009】
(1) 上記課題を解決するために、本件発明の第1側面の釣糸ガイドカバーは、釣糸を案内するガイドリングと、前記ガイドリングを保持する環状のフレームと、前記ガイドリングの軸芯方向の第1向きに延びる第1固定部を有し、前記フレームの周方向に離間する一対の第1支持部にそれぞれ取り付けられる一対の第1支持脚と、前記第1向きと反対の第2向きに延びる第2固定部を有し、前記フレームにおける前記一対の第1支持部の間に設けられた第2支持部に取り付けられる第2支持脚と、を有する釣糸ガイドに適用され、前記フレームの外周縁のうち前記第1支持部を基準に前記第2支持脚が取り付けられる側と反対側の領域を覆う第1保護部と、前記第1保護部に連続して前記フレームの前記第1向き側に配置され、前記一対の第1支持脚の間の領域を覆う第2保護部と、前記第1保護部に連続して前記フレームの前記第2向き側の領域を覆い、前記第2保護部と協働して前記フレームを挟持可能な第3保護部と、を備えている。
【0010】
この構成によれば、第2保護部および第3保護部が第1保護部により連結される。これらは、第1保護部を底部とする容器状の釣糸ガイドカバーを形成し、第1保護部と対向するように開口が形成される。この釣糸ガイドカバーは、前記開口側からフレームに被せられる。具体的には、第1保護部がフレームの外周縁のうち前記第1支持部を基準に前記第2支持脚が取り付けられる側と反対側の領域、すなわち、実釣においてフレームの外周縁のうち外方に向けて露出する側の領域を覆うと共に、第2保護部および第3保護部は、フレームを挟み込んで、フレームの両側を覆う。したがって、実釣において、フレームが岩と接触してもフレームおよびガイドリングが損傷を受けることがない。しかも、第2保護部および第3保護部がフレームを挟持するから、釣糸ガイドカバーはフレームから容易に外れず、フレームおよびガイドリングが確実に保護される。
(【0011】以降は省略されています)
この特許をJ-PlatPat(特許庁公式サイト)で参照する
関連特許
株式会社シマノ
ルアー
1か月前
株式会社シマノ
ルアー
1か月前
株式会社シマノ
エサ箱
1日前
株式会社シマノ
制御装置
17日前
株式会社シマノ
釣糸ガイド
22日前
株式会社シマノ
釣糸ガイド
22日前
株式会社シマノ
電動リール
9日前
株式会社シマノ
釣糸巻取部品
9日前
株式会社シマノ
魚釣用リール
22日前
株式会社シマノ
釣道具用ケース
2か月前
株式会社シマノ
クーラーボックス
1日前
株式会社シマノ
釣糸ガイドカバー
22日前
株式会社シマノ
フィッシングシューズ
1か月前
株式会社シマノ
魚釣用スピニングリール
9日前
株式会社シマノ
スプール及びスピニングリール
1か月前
株式会社シマノ
人力駆動車用の検出装置、および、人力駆動車用のドライブユニット
1か月前
株式会社シマノ
人力駆動車用の制御装置
15日前
株式会社シマノ
人力駆動車用のコンポーネント
15日前
株式会社シマノ
車両用の電力供給システム、車両用の給電装置、中間装置、および、車両用の給電アセンブリ
1か月前
株式会社シマノ
人力駆動車用の制御装置、人力駆動車用の制御システム、および、人力駆動車用の頭部保護装置
1か月前
株式会社シマノ
人力駆動車用の制御装置、人力駆動車用のコンポーネント、および、電動コンポーネント用の制御装置
1か月前
個人
産卵床
1日前
個人
釣り用錘
19日前
個人
草刈り鋏
1か月前
個人
平板植栽
2日前
個人
蠅捕獲器
1か月前
個人
果実袋
1日前
個人
蜜蜂保護装置
1か月前
個人
噴霧器ノズル
17日前
個人
刈込鋏保持具
1か月前
個人
養殖器具
1日前
個人
草刈機用回転刃
1か月前
個人
移動体草刈り機
1日前
個人
種子の製造方法
1か月前
個人
昆虫捕集器
1か月前
株式会社丹勝
緑化工法
1か月前
続きを見る
他の特許を見る