TOP
|
特許
|
意匠
|
商標
特許ウォッチ
Twitter
他の特許を見る
公開番号
2025174254
公報種別
公開特許公報(A)
公開日
2025-11-28
出願番号
2024080411
出願日
2024-05-16
発明の名称
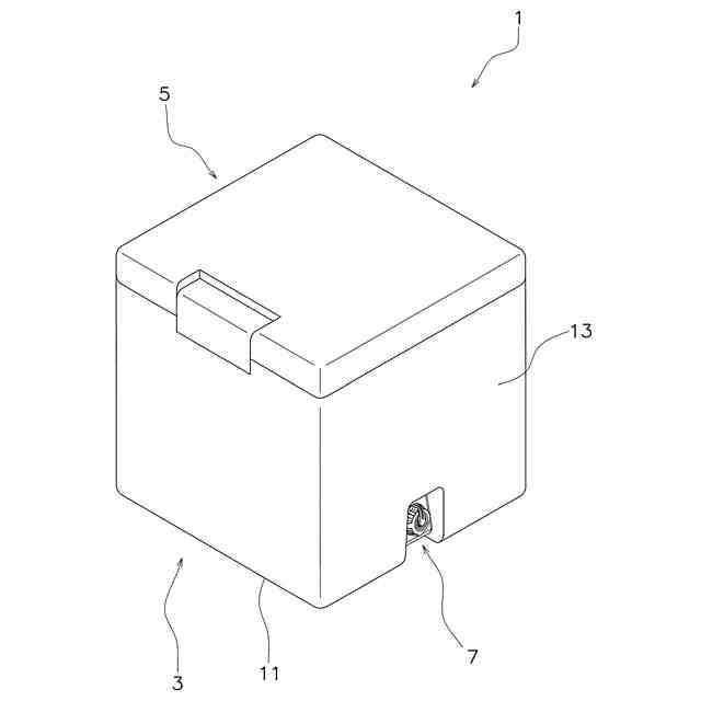
クーラーボックス
出願人
株式会社シマノ
代理人
弁理士法人新樹グローバル・アイピー
主分類
B65D
81/38 20060101AFI20251120BHJP(運搬;包装;貯蔵;薄板状または線条材料の取扱い)
要約
【課題】水抜き構造の組立性を向上することができるクーラーボックスが、提供される。
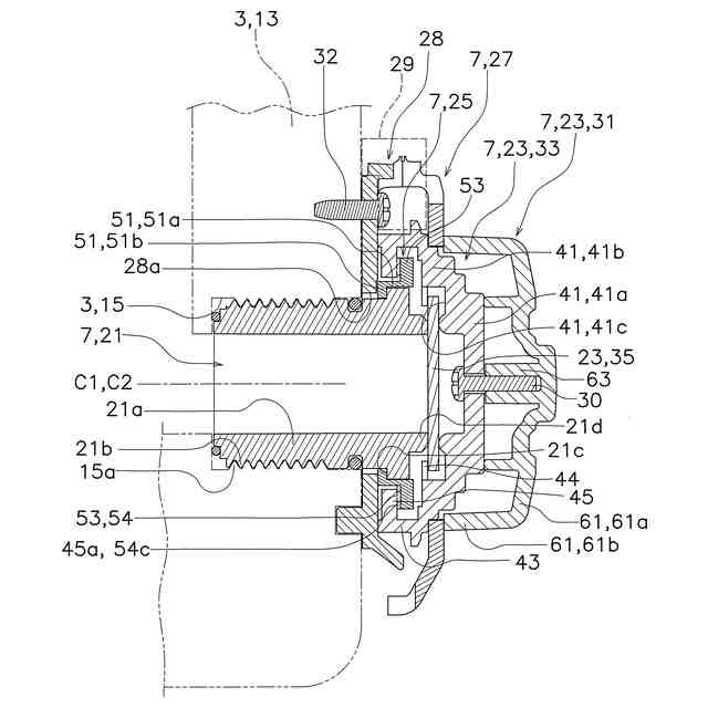
【解決手段】クーラーボックス1は、ボックス本体3と、水抜き構造7と、を備える。ボックス本体3は、側壁13の下部に貫通孔15を有する。水抜き構造7は、筒体21と、閉塞部23と、係止部材25と、を有する。筒体21は、貫通孔15に螺合する。筒体21は、段差部21cを有する。閉塞部23は、筒体21の開口端21dを閉塞する。係止部材25は、筒体21の外周面に配置される。係止部材25は、段差部21cと側壁13とで挟持される。係止部材25は、閉塞部23を係止する。
【選択図】図2
特許請求の範囲
【請求項1】
側壁の下部に貫通孔を有するボックス本体と、
前記貫通孔に螺合し、段差部を有する筒体と、前記筒体の開口端を閉塞する閉塞部と、前記筒体の外周面に配置され前記段差部と前記側壁とで挟持され前記閉塞部を係止する係止部材と、を有する水抜き構造と、
を備えるクーラーボックス。
続きを表示(約 840 文字)
【請求項2】
前記閉塞部は、前記筒体の径方向外側に配置される筒状部と、前記筒状部から径方向内側に突出する突出部と、を有し、
前記係止部材は、前記筒体の前記外周面に配置され前記段差部と前記側壁とで挟持される環状部と、前記環状部から径方向外側に突出するフランジ部と、周方向において前記フランジ部に隣接して設けられ前記突出部を前記側壁に向けて案内する切り欠き部と、を有し、
前記閉塞部の回転によって、前記突出部は、前記フランジ部、および、前記側壁の間で前記周方向に移動し、前記フランジ部に係止される、
請求項1に記載のクーラーボックス。
【請求項3】
前記フランジ部は、前記側壁側に設けられ前記突出部が接触する環状面、を有し、
前記環状面は、前記閉塞部の回転によって前記突出部が前記側壁に接近するように形成される、
請求項2に記載のクーラーボックス。
【請求項4】
前記閉塞部は、
つまみ部材と、
前記つまみ部材が取り付けられる円板部、前記円板部の外周部に設けられる前記筒状部、および、前記突出部と、を含む被係止部材と、
前記円板部に設けられ前記筒体の前記開口端に当接する密閉部材と、を有する、
請求項2又は3に記載のクーラーボックス。
【請求項5】
前記水抜き構造は、前記閉塞部が設けられ前記側壁に対して揺動可能に取り付けられるカバー部材、をさらに有する、
請求項1又は2に記載のクーラーボックス。
【請求項6】
前記側壁には水滴受け部材が設けられ、
前記水滴受け部材は、前記側壁、および、前記係止部材の間に配置され、
前記水滴受け部材の表面には位置決め突起が設けられ、
前記係止部材の側壁側の面には、前記位置決め突起と係合する位置決め凹部が、設けられる、
請求項1又は2に記載のクーラーボックス。
発明の詳細な説明
【技術分野】
【0001】
本発明は、クーラーボックスに関する。
続きを表示(約 1,500 文字)
【背景技術】
【0002】
特許文献1のクーラーボックスは、ボックス本体と、水抜き構造と、を備える。ボックス本体は、側壁の下部に設けられる排水用の貫通孔、を有する。水抜き構造は、貫通孔にねじ込まれる筒体と、筒体の外端部を閉塞する閉塞体と、を有する。筒体は、筒体外端部と、筒体外端部、および、側壁の間に配置される1対のフランジと、1対のフランジの周方向間に設けられる1対の切り欠きと、を有する。1対のフランジは、筒本体の外周面と一体に形成される。
【0003】
閉塞体は、閉塞鍔と、閉塞鍔から径方向内側に突出する1対の突出部と、を有する。ボックス本体の側板に対向する1対のフランジそれぞれの側面には、1対の突出部を係止するために用いられるカム斜面が、形成される。この構成では、閉塞体の1対の突出部を筒体の1対のフランジ間の切り欠きに軸方向に嵌め込んだ後に閉塞体を回転することによって、筒体の外端部が閉塞体によって閉塞される。
【先行技術文献】
【特許文献】
【0004】
特許第7311391号公報
【発明の概要】
【発明が解決しようとする課題】
【0005】
従来の水抜き構造では、筒体の外端部が閉塞体によって閉塞される際には、ユーザが閉塞対の閉塞摘み部を指で摘まんだ状態で回転する。これにより、筒体の外端部が閉塞体によって閉塞される。筒体の外端部が閉塞体から開放される際には、上記の操作とは逆の操作がユーザによって行われる。
【0006】
ここで、製造者は、水抜き構造の利便性を考えて、閉塞時の閉塞摘み部の位置が一定の方向に向くように、例えば、特許文献1のクーラーボックスでは上下方向を向くように、水抜き構造が組み立てられる。具体的には、製造者は、閉塞時の閉塞摘み部の位置が一定の方向を向くように、筒体における1対のフランジ間の切り欠きの位相を調整している。しかし、水抜き構造を組み立てる際に、筒体の切り欠きの位相、すなわち、筒体の姿勢を常に調整する必要があり、水抜き構造の組立性を低下させている。
【0007】
本発明の目的は、水抜き構造の組立性を向上することができるクーラーボックス、を提供することにある。
【課題を解決するための手段】
【0008】
本発明の第1側面に関して、クーラーボックスは、ボックス本体と、水抜き構造と、を備える。ボックス本体は、側壁の下部に貫通孔を有する。水抜き構造は、筒体と、閉塞部と、係止部材と、を有する。筒体は、貫通孔に螺合する。筒体は、段差部を有する。閉塞部は、筒体の開口端を閉塞する。係止部材は、筒体の外周面に配置される。係止部材は、段差部と側壁とで挟持される。係止部材は、閉塞部を係止する。
【0009】
本発明の第1側面に関するクーラーボックスでは、閉塞部は、係止部材を介して、筒体に装着される。この構成では、筒体を貫通孔に螺合する際に係止部材の姿勢を調整することによって、閉塞部の姿勢を好適に設定することができる。すなわち、従来技術のように筒体の姿勢を調整する必要がないので、水抜き構造の組立性を向上することができる。
【0010】
本発明の第2側面に関して、第1の側面に係るクーラーボックスは、以下のように構成されてもよい。閉塞部は、筒状部と、突出部と、を有する。筒状部は、筒体の径方向外側に配置される。突出部は、筒状部から径方向内側に突出する。
(【0011】以降は省略されています)
この特許をJ-PlatPat(特許庁公式サイト)で参照する
関連特許
株式会社シマノ
釣竿
2か月前
株式会社シマノ
ルアー
1か月前
株式会社シマノ
ルアー
1か月前
株式会社シマノ
エサ箱
1日前
株式会社シマノ
魚挟み具
2か月前
株式会社シマノ
制御装置
17日前
株式会社シマノ
電動リール
9日前
株式会社シマノ
釣糸ガイド
22日前
株式会社シマノ
釣糸ガイド
22日前
株式会社シマノ
釣糸巻取部品
9日前
株式会社シマノ
魚釣用リール
22日前
株式会社シマノ
釣道具用ケース
2か月前
株式会社シマノ
クーラーボックス
1日前
株式会社シマノ
釣糸ガイドカバー
22日前
株式会社シマノ
フィッシングシューズ
1か月前
株式会社シマノ
魚釣用スピニングリール
9日前
株式会社シマノ
スプール及びスピニングリール
1か月前
株式会社シマノ
人力駆動車用の検出装置、および、人力駆動車用のドライブユニット
1か月前
株式会社シマノ
人力駆動車用の制御装置
15日前
株式会社シマノ
人力駆動車用のコンポーネント
15日前
株式会社シマノ
車両用の電力供給システム、車両用の給電装置、中間装置、および、車両用の給電アセンブリ
1か月前
株式会社シマノ
人力駆動車用の制御装置、人力駆動車用の制御システム、および、人力駆動車用の頭部保護装置
1か月前
株式会社シマノ
人力駆動車用の制御装置、人力駆動車用のコンポーネント、および、電動コンポーネント用の制御装置
1か月前
個人
束ね具
18日前
個人
収容箱
4か月前
個人
コンベア
6か月前
個人
容器
10か月前
個人
段ボール箱
8か月前
個人
ゴミ収集器
8か月前
個人
段ボール箱
8か月前
個人
テープ引出機
18日前
個人
土嚢運搬器具
9か月前
個人
角筒状構造体
6か月前
個人
楽ちんハンド
6か月前
個人
バンド
3か月前
個人
宅配システム
8か月前
続きを見る
他の特許を見る