TOP
|
特許
|
意匠
|
商標
特許ウォッチ
Twitter
他の特許を見る
10個以上の画像は省略されています。
公開番号
2025073788
公報種別
公開特許公報(A)
公開日
2025-05-13
出願番号
2023184858
出願日
2023-10-27
発明の名称
角筒状構造体
出願人
個人
代理人
主分類
B65D
81/05 20060101AFI20250502BHJP(運搬;包装;貯蔵;薄板状または線条材料の取扱い)
要約
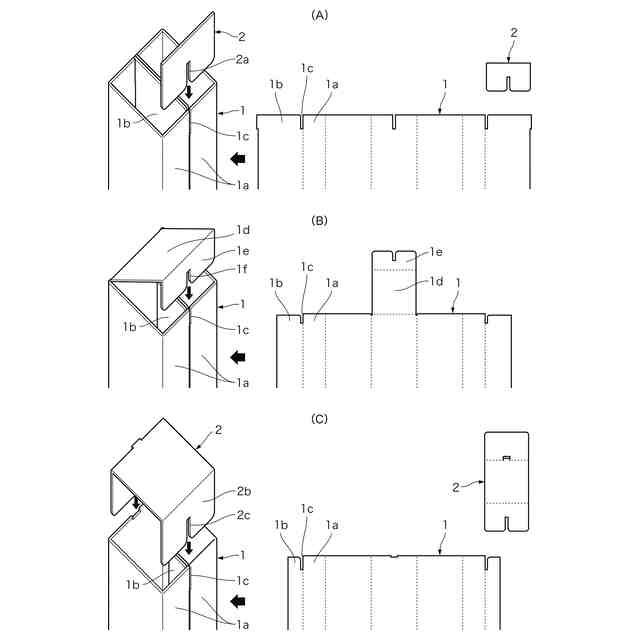
【課題】シート材の接着を伴なわない組み立てで形成される角筒状構造体で、さまざまな形態に形成可能で、さまざまな用途で使用することができる角筒状構造体を提供する。
【解決手段】角筒の面が左右の角の間で二分割され、左右の分割面1aがそれぞれ分割部分から折りによって筒の内側で延長され、両側の延長面1bを接合する接合手段を有し、該接合手段に応じた接合部材2、あるいは、接合部1eが設けられた蓋部1d、を備え、それにより延長面1bが接合され、二つの分割面1aが一つの水平な面として固定された角筒1が形成される。
【選択図】図1
特許請求の範囲
【請求項1】
すべての部材が段ボール、ボール紙等の厚紙のシート材の接着を伴なわない組み立てで形成される角筒状構造体であって、いずれか一面が、左右の角の間で二分割され、左右の分割面がそれぞれ分割部分の折りによって筒の内側で延長され、両側の延長面を密着させ固定し接合する接合手段を有し、該接合手段に応じた接合機能を持つ、角筒に挿入される別部材で角筒の端の開口部を閉じる蓋状の形態とすることも可能な接合部材、または、角筒の外側の面あるいは内側で延長された面のいずれかの面を延長して設けられた該開口部を閉じる蓋部、を備える角筒状構造体。
続きを表示(約 1,200 文字)
【請求項2】
請求項1の角筒状構造体において、両側の前記延長面にそれぞれ外側に折られ密着する突片が設けられ、密着した状態でそれぞれ反対側の該延長面の内側に挿入され、該突片に設けられた該反対側の延長面で係止する固定部が、両側の該延長面を密着させ固定し接合する角筒状構造体。
【請求項3】
請求項1の角筒状構造体において、いくつかの面を縦や横に延長し変形させることにより、複数の形状の異なる角筒の集合体を形成可能な角筒状構造体。
【請求項4】
請求項1の角筒状構造体において、断面が直角三角形で、直角の対辺が二分割され、前記延長面が直角部分で固定される角筒が二つ、それぞれの分割面が密着した状態で、該延長面と二つの角筒とを同時に接合する接合部材を有し、反対方向でも接合できる該接合部材の使用により、複数の角筒を接合し延長可能な角筒状構造体。
【請求項5】
請求項1の角筒状構造体において、前記延長面が前記分割面の対面で固定され、該分割面と対面との間にそれぞれの面に接しない二つの切り欠きが設けられ、該切り欠きに挿入され、該分割面を一つの面として固定しつつ角筒の断面形状を保持できる接合部材を有し、反対方向でも接合できる該接合部材の使用により、複数の角筒を接合し延長可能で、別方向に角度を変えられる接続部材の使用により多方向への延長も可能な角筒状構造体。
【請求項6】
請求項1の角筒状構造体において、前記延長面がもう一度の折りにより、前記分割面の両側面方向に折り返され、折り返し面の先端に突起が設けられ、該両側面に、該分割面と該折り返し面との間がシート材の厚み分の空間を形成して該突起が固定される切り欠きあるいは孔が設けられ、分割部分の二つの折りの間に切り欠きが設けられ、該シート材の厚み分の空間に挿入され該分割面を一つの面として固定する接合部材、あるいは、接合機能を持つ蓋部、を備える角筒状構造体。
【請求項7】
請求項6の角筒状構造体において、前記突起および前記突起が固定される孔が角筒の両端の間に設けられ、同じ位置の前記分割部分の二つの折りの間にも孔が設けられ、側面の該突起が固定される孔の片側から、前記分割面を貫通する接合部材が挿入される角筒状構造体。
【請求項8】
請求項6の角筒状構造体において、前記接合部材あるいは前記蓋部の挿入部分に、折りにより挿入方向の反対方向に向いて立ち上がり突出する突片が設けられ、該挿入部分が挿入される面に該突片の位置に合わせて、該突片が突出し係止する孔が設けられる角筒状構造体。
【請求項9】
請求項6または8の角筒状構造体において、対面する二つの面が二分割され、反対方向でも接合できる前記接合部材の使用により、複数の角筒を接合し延長可能な角筒状構造体。
【請求項10】
請求項9の角筒状構造体において、分割されない二つの面の下端が繋がれて底面が形成される角筒状構造体。
(【請求項11】以降は省略されています)
発明の詳細な説明
【技術分野】
【0001】
本本発明は、シート材で形成された角筒状構造体に関する。
続きを表示(約 1,900 文字)
【背景技術】
【0002】
段ボールなどの厚紙のシート材で作られた角筒状のものは、面が繋がるように接着して角筒状に形成されるのが通常で、シート材を型抜き、筋入れという工程に加え、接着工程が必要となる。通常の段ボール箱などは、それに底部、蓋部を折りで形成する。段ボール箱のなかには額縁タイプというものがあり、これは接着せずに組み立てだけで形成される。これらの段ボール箱は梱包材や収納箱として使用される。
また、家具の柱や脚部などに紙製の角筒が使用される場合は、強度があるあらかじめ角筒に形成されている紙管が使われ、ジョイントにはプラスチックが用いられるのが一般的である。
【0003】
シート材で作られた角筒状のものでは(特許文献1)で角筒を利用した伸縮構造が提案されている。(特許文献2)では接着をともなわず形成される梱包箱が提案されている。(特許文献3)では二つの角筒を接合したパレットの桁が提案されている。(特許文献4)では二つの角筒を接合した梱包部材が提案されている。
【先行技術文献】
【特許文献】
【0004】
特許7109037
実開昭47-004126
実用新案登録第3227248
特許4719548
【発明の概要】
【発明が解決しようとする課題】
【0005】
段ボール箱などに物品を梱包するには、物品を持ち上げて箱に入れるが、箱が物品の大きさとぴったりだと入れるのは容易ではなく、余裕があると箱の中でがたついてしまい物品を保護できないので緩衝材を使用したりする。また、物品がどんな形状でも梱包されるのは大抵の場合、直方体の箱であり、箱の中に無駄なスペースが生まれる。額縁タイプの場合は、額縁を形成するための差し込み、蓋をするための差し込みと組み立て工程が多く、解体するのも容易ではない。
家具などに使われる紙管は、木材などと比べ軽量であり再生が可能であるが、ジョイントは再生可能な素材ではない。また、紙管はあらかじめその形に形成されたもので、木材などと同様に場所を取る。
【0006】
(特許文献1)は、レバーや弾性部などの部位は接着をともなわなずに形成され、それを固定するために内部を分割しているが、スライド部内部の分割部分や収納部は接着により形成されるものとなっている。この場合、接着の際にずれなどが起こる可能性がある。これにより、動作がスムーズにいかなくなるかもしれないが、一度接着したものは元にはもどせない。
【0007】
(特許文献2)は、接着をともなわなずに容易に組み立てられるものであるが、分割された面の折り返し部分は、内部で斜めに延長され三角形を形成している。これに孔を設けることにより、物品を固定している。しかし、孔に物品を収めるため前後にスペースを空けなければならなく、この物品のための形態となっている。また、固定されがたつきはないが、上面、側面の緩衝とはならない。
【0008】
(特許文献3)は、天板と底板に接着されるもので、紙素材のため単体では、上面に横方向の力が加わると四角形の断面が平行四辺形に変形し、離間防止部材はこの変形を抑えられるものではないため斜めに傾き、挿入口から片側の角がはみ出すことになる。なので接着で固定されなければならず、パレットでの使用に限定されたものである。
【0009】
(特許文献4)は、二つの角筒を挟んで固定するものだが、コの字状の補助部材の二つの切り欠きで挟むもので、補助部材がなければ固定できず、他の手段はない。また、梱包部材であり、挟むのは角筒二つでなければならず、二つの角筒を使用し強度を高めようとするもので、一つの角筒を形成しようとするものではない。そして、断面は四角形でなければならず、三角形や五角形の多角形にすることはできない。そのため、使用用途に応じて形態を変え、開口部を閉じたり、内部を利用できるようにしたり、見た目をよくしたりということもない。
【0010】
本発明は上記のような従来技術の問題点に鑑みて、厚紙のシート材を材料とした角筒状の構造体を、接着をともなわなずに組み立て可能とし、角筒としてさまざまな形態に形成可能で、さまざまな用途で使用することができる。物品を収納するものとして使用する場合は、物品に合わせたサイズ、形状で、容易に梱包でき、緩衝材としての役割をもたせることもできる角筒状構造体を提供することを目的とする。
【課題を解決するための手段】
(【0011】以降は省略されています)
この特許をJ-PlatPat(特許庁公式サイト)で参照する
関連特許
個人
収容箱
3か月前
個人
コンベア
5か月前
個人
容器
9か月前
個人
段ボール箱
7か月前
個人
段ボール箱
7か月前
個人
ゴミ収集器
7か月前
個人
角筒状構造体
5か月前
個人
土嚢運搬器具
8か月前
個人
宅配システム
7か月前
個人
楽ちんハンド
5か月前
個人
バンド
2か月前
個人
廃棄物収容容器
2か月前
個人
コード類収納具
8か月前
個人
包装容器
1か月前
個人
お薬の締結装置
6か月前
個人
閉塞装置
10か月前
個人
蓋閉止構造
4か月前
株式会社和気
包装用箱
9か月前
個人
蓋閉止構造
4か月前
個人
貯蔵サイロ
7か月前
株式会社和気
包装用箱
3日前
個人
積み重ね用補助具
2か月前
個人
ゴミ処理機
9か月前
株式会社コロナ
梱包材
5か月前
株式会社バンダイ
物品
23日前
個人
把手付米袋
4か月前
三甲株式会社
容器
7日前
株式会社KY7
封止装置
3か月前
個人
袋入り即席麺
7か月前
個人
搬送システム
6か月前
個人
コード折り畳み器具
4か月前
個人
包装箱
10か月前
個人
輸送積荷用動吸振器
6か月前
株式会社新弘
容器
3か月前
株式会社イシダ
搬送装置
6か月前
個人
介護用コップ
2か月前
続きを見る
他の特許を見る