TOP
|
特許
|
意匠
|
商標
特許ウォッチ
Twitter
他の特許を見る
10個以上の画像は省略されています。
公開番号
2025162959
公報種別
公開特許公報(A)
公開日
2025-10-28
出願番号
2024175374
出願日
2024-09-17
発明の名称
包装用箱
出願人
株式会社和気
代理人
主分類
B65D
5/36 20060101AFI20251021BHJP(運搬;包装;貯蔵;薄板状または線条材料の取扱い)
要約
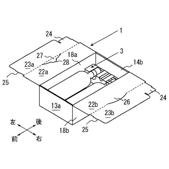
【課題】一次組立品から最終組み立てが容易な包装用箱の提供である。
【解決手段】
方形の中央板の周辺に、内側板と外側板とからなる前後側板と、左右側板と、隣接する前後側板と左右側板との間に連結板と、左側板の左辺に左天板と、右側板の右辺に右天板とを、それぞれ折曲部を介して連設した展開シートの折曲部を折り曲げて、前後側板の内側板と外側板とで連結板を挟持し、中央板に対して前後側板と左右側板とを立設して上方を開口部とする箱本体部を形成し、左天板及び右天板で開口部を閉鎖する包装用箱であって、展開シートの折曲部を折り曲げて、中央板の内面側に左右側板を重ね、外側板内面側に連結板を重ねて固着し、左天板を左側板の外面側に重ね、又は/及び右天板を右側板の外面側に重ねた状態を一次組立品とする。
【選択図】図3
特許請求の範囲
【請求項1】
方形の中央板の前辺に内側板と外側板とからなる前側板と、
前記中央板の後辺に内側板と外側板とからなる後側板と、
前記中央板の左辺に左側板と、
前記中央板の右辺に右側板と、
隣接する前記前側板の前記外側板の左辺と前記左側板の前辺との間、及び隣接する前記前側板の前記外側板の右辺と前記右側板の前辺との間に前側連結板と、
隣接する前記後側板の前記外側板の左辺と前記左側板の後辺との間、及び隣接する前記後側板の前記外側板の右辺と前記右側板の後辺との間に後側連結板と、
前記左側板の左辺に左天板と、
前記右側板の右辺に右天板と、
を、それぞれ折曲部を介して連設した展開シートの前記折曲部を折り曲げて、
前記前側板の前記内側板と前記外側板とで前記前側連結板を挟持し、
前記後側板の前記内側板と前記外側板とで前記後側連結板を挟持して、
前記中央板に対して前記前側板と、前記後側板と、前記左側板と、前記右側板とを立設して上方を開口部とする箱本体部を形成し、前記左天板及び前記右天板で前記開口部を閉鎖する包装用箱であって、
前記展開シートの前記折曲部を折り曲げて、
前記中央板の内面側に前記左側板及び前記右側板を重ね、
前記前側板の外側板内面側に前記前側連結板を重ねて固着し、
前記後側板の外側板内面側に前記後側連結板を重ねて固着し、
前記左天板を前記左側板の外面側に重ね、又は/及び前記右天板を前記右側板の外面側に重ねた状態を一次組立品とすること特徴とする包装用箱。
続きを表示(約 1,900 文字)
【請求項2】
前記左天板と前記右天板の少なくともいずれか一方の天板の自由端辺に折曲部を介して差込板を連設しており、前記開口部を閉鎖する際に、前記折曲部を折り曲げて前記差込板を前記天板から垂下させて前記箱本体部内に配置することを特徴とする、請求項1に記載する包装用箱。
【請求項3】
前記前側連結板及び前記後側連結板の端辺に湾曲した折曲部を介して補強板を設け、前記包装用箱の組み立てが完成した状態において、前記補強板が前記内側板と接して前記前側板及び前記後側板の揺動を規制することを特徴とする、請求項1又は請求項2に記載の包装用箱。
【請求項4】
前記前側板の外側板と内側板、及び前記後側板の内側板と外側板とを重ねた状態を一次組立品とすること特徴とする、請求項1又は請求項2に記載する包装用箱。
【請求項5】
前記前側板の外側板と内側板、及び前記後側板の内側板と外側板とを重ねた状態を一次組立品とすること特徴とする、請求項3に記載する包装用箱。
【請求項6】
前記左天板と前記右天板とのいずれか一方にフラップ板を形成し、他方には天板外面より凹んだ段差を有するフラップ受部を形成し、
前記開口部の閉鎖状態において前記フラップ板を前記フラップ受部に収めることにより前記フラップ板外面と前記天板外面とが略同一平面上に位置することを特徴とする、請求請求項1又は請求項2に記載する包装用箱。
【請求項7】
前記左天板と前記右天板とのいずれか一方にフラップ板を形成し、他方には天板外面より凹んだ段差を有するフラップ受部を形成し、
前記開口部の閉鎖状態において前記フラップ板を前記フラップ受部に収めることにより前記フラップ板外面と前記天板外面とが略同一平面上に位置することを特徴とする、請求請求項3に記載する包装用箱。
【請求項8】
前記左天板と前記右天板とのいずれか一方にフラップ板を形成し、他方には天板外面より凹んだ段差を有するフラップ受部を形成し、
前記開口部の閉鎖状態において前記フラップ板を前記フラップ受部に収めることにより前記フラップ板外面と前記天板外面とが略同一平面上に位置することを特徴とする、請求請求項4に記載する包装用箱。
【請求項9】
前記左天板と前記右天板とのいずれか一方にフラップ板を形成し、他方には天板外面より凹んだ段差を有するフラップ受部を形成し、
前記開口部の閉鎖状態において前記フラップ板を前記フラップ受部に収めることにより前記フラップ板外面と前記天板外面とが略同一平面上に位置することを特徴とする、請求請求項5に記載する包装用箱。
【請求項10】
方形の中央板の前辺に内側板と外側板とからなる前側板と、
前記中央板の後辺に内側板と外側板とからなる後側板と、
前記中央板の左辺に左側板と、
前記中央板の右辺に右側板と、
隣接する前記前側板の前記外側板の左辺と前記左側板の前辺との間、及び隣接する前記前側板の前記外側板の右辺と前記右側板の前辺との間に前側連結板と、
隣接する前記後側板の前記外側板の左辺と前記左側板の後辺との間、及び隣接する前記後側板の前記外側板の右辺と前記右側板の後辺との間に後側連結板と、
前記左側板の左辺又は前記右側板の右辺のいずれか一方に天板と、
を、それぞれ折曲部を介して連設した展開シートの前記折曲部を折り曲げて、
前記前側板の前記内側板と前記外側板とで前記前側連結板を挟持し、
前記後側板の前記内側板と前記外側板とで前記後側連結板を挟持して、
前記中央板に対して前記前側板と、前記後側板と、前記左側板と、前記右側板とを立設して上方を開口部とする箱本体部を形成し、前記天板で前記開口部を閉鎖する包装用箱であって、
前記展開シートの前記折曲部を折り曲げて、
前記中央板の内面側に前記左側板及び前記右側板を重ね、
前記前側板の外側板内面側に前記前側連結板を重ねて固着し、
前記後側板の外側板内面側に前記後側連結板を重ねて固着し、
前記左側板に前記天板を連設している場合は前記左側板外面側に前記天板を重ね、前記右側板に前記天板を連設している場合は前記右側板の外面側に前記天板を重ねた状態を一次組立品とすること特徴とする包装用箱。
(【請求項11】以降は省略されています)
発明の詳細な説明
【技術分野】
【0001】
本発明は、一次組立品から最終組み立てが容易な包装用箱に関する。
続きを表示(約 2,300 文字)
【背景技術】
【0002】
従来から、主に清酒等の瓶を収容する包装用箱として、箱本体の背面を形成する背面片の相対する二辺に折目を介して断面方形枠状を形成し、内側折り返し片の先方片を背面片に貼着して起倒可能とした上面部及び底面部とし、両部の中央部の前面片から内側折り返し片に渉って係合溝が形成されると共に、上面部には瓶の頭部挿通部が二箇所内側折り返し片に形成され、又他の相対する二辺に折目を介して左右側壁片と蓋片を連続して形成し、その先方に前記係合溝に側端が係合し、箱本体内部に挿入される係止分割片を設け、更に四隅部において上面部及び底面部の外側片と左右側壁片との間に対角線方向に折目を有する折り込み自在な連結片を連設したものが知られている。
使用にあたっては、背面片上に上下位置を併せて二本の瓶を並べ置いて組み立てを行えば、二本の瓶は完成された箱本体内に収納され、上面部の内側折り返し片に形成した頭部挿通部に瓶の頭部が嵌挿されると共に、突合した係止分割片が瓶間に挿通され、各瓶の固定と互いの直接衝突を防止する(特許文献1参照)。
【先行技術文献】
【特許文献】
【】
実用新案登録3075600号公報
【0003】
上記包装用箱の組み立ては、係止分割片を蓋片に対し略90度起立させ、次に蓋片が背面片の上方へ来るように回動させながら左右側壁片を両側から押すように起立させると、左右側壁片に伴って連結片が内方へ屈曲し、上面部及び底面部も起立して箱本体を形成して行くのであり、最後に係止分割片を突合して係合溝へ挿入することによって、箱本体が完成するとされる。
しかしながら、実際の組み立て作業においては、左右側壁、上面部及び底面部を起立させても起立状態は保持されておらず、係止分割片を突合して係合溝へ挿入して箱の開口部を閉鎖することによって初めて起立状態が保持されるものである。そのため、係止分割片を突合して係合溝へ挿入するには左右側壁片及び上面部及び底面部を手で支えるなどして左右側壁片と上面部、底面部の起立状態を保持しておかねばならず、組み立てに手間を要していた。
【発明の概要】
【発明が解決しようとする課題】
【0004】
本発明は、上記問題を解決すべくなされたものである。本発明の目的は、一次組立品からの最終組み立てが容易な包装用箱の提供である。さらには、天板に箱本体部を仕切る機能を持たせた、一次組立品からの最終組み立てが容易な包装用箱の提供である。さらには、美観に優れた、一次組立品からの最終組み立てが容易な包装用箱の提供である。
【課題を解決するための手段】
【0005】
本発明の解決しようとする課題は以上の如くであり、次にこの課題を解決するための手段を説明する。
【0006】
第1の発明では、方形の中央板の前辺に内側板と外側板とからなる前側板と、前記中央板の後辺に内側板と外側板とからなる後側板と、前記中央板の左辺に左側板と、前記中央板の右辺に右側板と、隣接する前記前側板の外側板の左辺と前記左側板の前辺との間、及び隣接する前記前側板の外側板の右辺と前記右側板の前辺との間に前側連結板と、隣接する前記後側板の外側板の左辺と前記左側板の後辺との間、及び隣接する前記後側板の外側板の右辺と前記右側板の後辺との間に後側連結板と、前記左側板の左辺に左天板と、前記右側板の右辺に右天板と、を、それぞれ折曲部を介して連設した展開シートの前記折曲部を折り曲げて、前記前側板の前記内側板と前記外側板とで前記前側連結板を挟持し、前記後側板の前記内側板と前記外側板とで前記後側連結板を挟持して、前記中央板に対して前記前側板と、前記後側板と、前記左側板と、前記右側板とを立設して上方を開口部とする箱本体部を形成し、前記左天板及び前記右天板で前記開口部を閉鎖する包装用箱であって、前記展開シートの前記折曲部を折り曲げて、前記中央板の内面側に前記左側板及び前記右側板を重ね、前記前側板の外側板内面側に前記前側連結板を重ねて固着し、前記後側板の外側板内面側に前記後側連結板を重ねて固着し、前記左天板を前記左側板の外面側に重ね、又は/及び前記右天板を前記右側板の外面側に重ねた状態を一次組立品とすること特徴とする包装用箱である。
【0007】
第2の発明では、第1の発明であって、前記左天板と前記右天板の少なくともいずれか一方の天板の自由端辺に折曲部を介して差込板を連設しており、前記開口部を閉鎖する際に、前記折曲部を折り曲げて前記差込板を前記天板から垂下させて前記箱本体部内に配置することを特徴とする包装用箱である。
【0008】
第3の発明では、第1又は第2の発明であって、前記前側連結板及び前記後側連結板の端辺に湾曲した折曲部を介して補強板を設け、前記包装用箱の組み立てが完成した状態において、前記補強板が前記内側板と接して前記前側板及び前記後側板の揺動を規制することを特徴とする包装用箱である。
【0009】
第4の発明では、第1又は第2の発明であって、前記前側板の外側板と内側板、及び前記後側板の内側板と外側板とを重ねた状態を一次組立品とすること特徴とする包装用箱である。
【0010】
第5の発明では、第3の発明であって、前記前側板の外側板と内側板、及び前記後側板の内側板と外側板とを重ねた状態を一次組立品とすること特徴とする包装用箱である。
(【0011】以降は省略されています)
この特許をJ-PlatPat(特許庁公式サイト)で参照する
関連特許
他の特許を見る