TOP
|
特許
|
意匠
|
商標
特許ウォッチ
Twitter
他の特許を見る
10個以上の画像は省略されています。
公開番号
2025080180
公報種別
公開特許公報(A)
公開日
2025-05-23
出願番号
2023193256
出願日
2023-11-13
発明の名称
コンベア
出願人
個人
代理人
主分類
B65G
13/11 20060101AFI20250516BHJP(運搬;包装;貯蔵;薄板状または線条材料の取扱い)
要約
【課題】載置された荷物を移動させるためのローラなどの部品の点検または交換などのメンテナンス作業が行い易いコンベアを提供する。
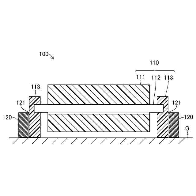
【解決手段】コンベア100は、載置された荷物WKを移動させるための荷物受け体110と荷物受け体110を着脱自在に保持する荷物受け体ホルダ120とを備えている。荷物受け体110は、回転して荷物WKを移動させるための回転体111と、回転体111に貫通して回転体を回転自在に保持するとともに2つの回転体保持体113を互いに連結する軸体112と、軸体112を介して回転体111を回転自在に保持する回転体保持体113とを備えている。荷物受け体ホルダ120は、荷物受け体110と嵌合して着脱自在に保持する嵌合部121を備えている。
【選択図】図1
特許請求の範囲
【請求項1】
載置された荷物を水平方向に移動させるためのコンベアであって、
前記荷物が載置される荷物受け体と、
前記コンベアが設置される設置面上に設置されて前記荷物受け体を保持する荷物受け体ホルダとを備え、
前記荷物受け体ホルダは、前記荷物受け体を着脱自在に保持していることを特徴とするコンベア。
続きを表示(約 820 文字)
【請求項2】
請求項1に記載したコンベアにおいて、
前記荷物受け体は、
搬送方向に回転することを特徴とするコンベア。
【請求項3】
請求項2に記載したコンベアにおいて、
前記荷物受け体は、
回転する回転体と前記回転体を回転自在に保持する回転体保持体とを備えていることを特徴とするコンベア。
【請求項4】
請求項3に記載したコンベアにおいて、
前記荷物受け体は、
複数の前記回転体を備えていることを特徴とするコンベア。
【請求項5】
請求項1に記載したコンベアにおいて、
前記荷物受け体ホルダは、
前記荷物受け体を上下方向に着脱自在に保持していることを特徴とするコンベア。
【請求項6】
請求項1に記載したコンベアにおいて、
前記荷物受け体と前記荷物受け体ホルダとは、
互いに嵌合していることを特徴とするコンベア。
【請求項7】
請求項1に記載したコンベアにおいて、
前記荷物受け体ホルダは、
前記荷物受け体が前記設置面上に直接載った状態で保持していることを特徴とするコンベア。
【請求項8】
請求項1に記載したコンベアにおいて、
前記荷物受け体ホルダは、
弾性変形可能な弾性体で構成されていることを特徴とするコンベア。
【請求項9】
請求項1に記載したコンベアにおいて、
前記荷物受け体ホルダは、
発泡樹脂で構成されていることを特徴とするコンベア。
【請求項10】
請求項1に記載したコンベアにおいて、
前記荷物受け体ホルダは、
1つの前記荷物受け体ホルダが複数の前記荷物受け体を保持していることを特徴とするコンベア。
(【請求項11】以降は省略されています)
発明の詳細な説明
【技術分野】
【0001】
本発明は、載置された荷物を移動させるコンベアに関する。
続きを表示(約 860 文字)
【背景技術】
【0002】
従来から、載置された荷物を移動させるコンベアがある。例えば、下記特許文献1には、長尺に延びた2つのフレームによってローラの両側を挟んでローラとフレームとを一体的に組み付けたコンベアが開示されている。
【先行技術文献】
【特許文献】
【0003】
特開2007-119211号公報
【0004】
しかしながら、上記特許文献1に記載されたコンベアにおいては、ローラとフレームとが一体的に構成されているため、ローラの点検または交換などのメンテナンス作業が困難であるという問題があった。
【0005】
本発明は上記問題に対処するためになされたもので、その目的は、ローラの点検または交換などのメンテナンス作業が行い易いコンベアを提供することにある。
【発明の概要】
【0006】
上記目的を達成するため、本発明の特徴は、載置された荷物を水平方向に移動させるためのコンベアであって、荷物が載置される荷物受け体と、コンベアが設置される設置面上に設置されて荷物受け体を保持する荷物受け体ホルダとを備え、荷物受け体ホルダは、荷物受け体を着脱自在に保持していることにある。
【0007】
これによれば、コンベアは、荷物受け体ホルダが荷物受け体を着脱自在に保持しているため、荷物受け体のメンテナンス作業を容易に行うことができる。
【0008】
また、本発明の他の特徴は、前記コンベアにおいて、荷物受け体は、搬送方向に回転することにある。
【0009】
これによれば、コンベアは、荷物受け体が搬送方向に回転するため、荷物の移動を容易に行うことができる。
【0010】
また、本発明の他の特徴は、前記コンベアにおいて、荷物受け体は、回転する回転体と回転体を回転自在に保持する回転体保持体とを備えていることにある。
(【0011】以降は省略されています)
この特許をJ-PlatPat(特許庁公式サイト)で参照する
関連特許
個人
収容箱
3か月前
個人
コンベア
5か月前
個人
容器
9か月前
個人
段ボール箱
6か月前
個人
ゴミ収集器
6か月前
個人
段ボール箱
7か月前
個人
楽ちんハンド
4か月前
個人
角筒状構造体
5か月前
個人
バンド
1か月前
個人
土嚢運搬器具
8か月前
個人
パウチ補助具
12か月前
個人
宅配システム
6か月前
個人
お薬の締結装置
5か月前
個人
廃棄物収容容器
2か月前
個人
包装容器
1か月前
個人
コード類収納具
8か月前
個人
閉塞装置
9か月前
株式会社和気
包装用箱
8か月前
株式会社バンダイ
物品
12日前
個人
ゴミ処理機
9か月前
個人
積み重ね用補助具
2か月前
個人
蓋閉止構造
3か月前
個人
蓋閉止構造
3か月前
株式会社コロナ
梱包材
5か月前
個人
把手付米袋
4か月前
個人
貯蔵サイロ
6か月前
個人
介護用コップ
2か月前
個人
輸送積荷用動吸振器
6か月前
個人
包装箱
9か月前
株式会社KY7
封止装置
3か月前
株式会社イシダ
搬送装置
6か月前
三甲株式会社
蓋体
9か月前
株式会社新弘
容器
2か月前
三甲株式会社
容器
1か月前
積水樹脂株式会社
接着剤
12か月前
個人
袋入り即席麺
7か月前
続きを見る
他の特許を見る