TOP
|
特許
|
意匠
|
商標
特許ウォッチ
Twitter
他の特許を見る
公開番号
2025153633
公報種別
公開特許公報(A)
公開日
2025-10-10
出願番号
2024056202
出願日
2024-03-29
発明の名称
フィッシングシューズ
出願人
株式会社シマノ
代理人
弁理士法人藤本パートナーズ
主分類
A43B
13/36 20060101AFI20251002BHJP(履物)
要約
【課題】釣り場での歩行時にグリップ性が良く、損傷しにくいフィッシングシューズを提供する。
【解決手段】着用者の足を覆うアッパー2と、接地面を有するアウトソール3と、前記アッパー2と前記アウトソール3とを連結するミッドソール4と、を備え、前記アウトソール3は、少なくとも前記接地面にフェルトが露出しており、前記ミッドソール4は、前記アッパー2よりも外方に形成されており、下部の幅寸法が上部の幅寸法よりも大きく、前記下部が、前記アウトソールにおける側面よりも幅方向で外方に位置する。
【選択図】図1
特許請求の範囲
【請求項1】
着用者の足を覆うアッパーと、接地面を有するアウトソールと、前記アッパーと前記アウトソールとを連結するミッドソールと、を備え、
前記アウトソールは、少なくとも前記接地面にフェルトが露出しており、
前記ミッドソールは、
前記アッパーよりも外方に形成されており、
下部の幅寸法が上部の幅寸法よりも大きく、
前記下部が、前記アウトソールにおける側面よりも幅方向で外方に位置する、
フィッシングシューズ。
続きを表示(約 410 文字)
【請求項2】
前記アウトソールは、前記ミッドソールに対して着脱可能であり、
前記アウトソールの上面が前記ミッドソールの下面に対して係合することで、前記アウトソールが前記ミッドソールに対して装着される、請求項1に記載のフィッシングシューズ。
【請求項3】
前記ミッドソールは、前記下部と前記上部との間に、幅寸法が縮小された段差部を有する、請求項1に記載のフィッシングシューズ。
【請求項4】
前記アウトソールは、前記ミッドソールに対して面ファスナーを介して着脱可能であり、
前記面ファスナーのうち、前記アウトソールの上面と係合する部分が、前記ミッドソールの底部に対して縫合により一体化されており、
前記縫合に係る縫い目は、前記底部における前側領域と後側領域に位置するものが、両足基準の外側部分で接続されている、請求項2に記載のフィッシングシューズ。
発明の詳細な説明
【技術分野】
【0001】
本発明は、磯等の釣り場で使用するためのフィッシングシューズに関する。
続きを表示(約 1,300 文字)
【背景技術】
【0002】
フィッシングシューズは、アッパーと、このアッパーと一体に成形されたミッドソールと、このミッドソールの幅と同一幅のアウトソールと、を備えている(例えば、特許文献1参照)。
【先行技術文献】
【特許文献】
【0003】
特許第6452964号公報
【発明の概要】
【発明が解決しようとする課題】
【0004】
上記特許文献1では、ミッドソールの幅がアッパーの下端の幅よりも僅かに大きくなっているものの、アッパーの上側の部分の幅よりも小さいため、ミッドソールの幅と同一幅のアウトソールで磯等の釣り場での歩行時において、グリップ性を十分に向上させることが難しい。また、アッパーは、着用者の足を覆うものであるため、ミッドソールよりも柔らかい素材になっているため、釣り場での歩行時にアッパーの上側の部分が、ミッドソールよりも先に磯にある突起等に当接してアッパーを損傷してしまうおそれがあり、改善の余地があった。
【0005】
本発明は、前述の状況に鑑みてなされ、釣り場での歩行時にグリップ性が良く、損傷しにくいフィッシングシューズを提供することにある。
【課題を解決するための手段】
【0006】
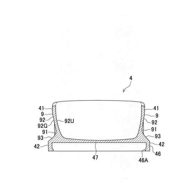
本発明のフィッシングシューズは、着用者の足を覆うアッパーと、接地面を有するアウトソールと、前記アッパーと前記アウトソールとを連結するミッドソールと、を備え、前記アウトソールは、少なくとも前記接地面にフェルトが露出しており、前記ミッドソールは、前記アッパーよりも外方に形成されており、下部の幅寸法が上部の幅寸法よりも大きく、前記下部が、前記アウトソールにおける側面よりも幅方向で外方に位置することを特徴としている。
【0007】
上記構成によれば、フェルトが露出したアウトソールの幅寸法を、ミッドソールの上部よりも大きい下部に対応して拡大できるので、凹凸の多い磯等における不安定な接地面でもグリップ性を良好にでき滑りにくい。また、ミッドソールがアッパーよりも外方に位置しているため、磯にある突起に対してアッパーよりも先にミッドソールが接触することになるので、アッパーの損傷を抑制できる。
【0008】
また、本発明のフィッシングシューズは、前記アウトソールが、前記ミッドソールに対して着脱可能であり、前記アウトソールの上面が前記ミッドソールの下面に対して係合することで、前記アウトソールが前記ミッドソールに対して装着されていてもよい。
【0009】
上記のように、ミッドソールがアッパーよりも外方に形成されたことで、アウトソールの後端部をより後方に位置させることができるので、アウトソールを前後方向で湾曲させやすいことから、アウトソールをミッドソールから離脱させることが容易になる。
【0010】
また、本発明のフィッシングシューズは、前記ミッドソールが、前記下部と前記上部との間に、幅寸法が縮小された段差部を有していてもよい。
(【0011】以降は省略されています)
この特許をJ-PlatPat(特許庁公式サイト)で参照する
関連特許
株式会社シマノ
釣竿
13日前
株式会社シマノ
ルアー
1か月前
株式会社シマノ
ルアー
23日前
株式会社シマノ
ルアー
23日前
株式会社シマノ
ルアー
13日前
株式会社シマノ
魚挟み具
13日前
株式会社シマノ
釣道具用ケース
13日前
株式会社シマノ
フィッシングシューズ
2日前
株式会社シマノ
人力駆動車用の制御装置
23日前
株式会社シマノ
人力駆動車用の制御装置
23日前
株式会社シマノ
スプール及びスピニングリール
2日前
株式会社シマノ
人力駆動車用の検出装置、および、人力駆動車用のドライブユニット
3日前
株式会社シマノ
人力駆動車用の制御装置
23日前
株式会社シマノ
車両用の電力供給システム、車両用の給電装置、中間装置、および、車両用の給電アセンブリ
2日前
株式会社シマノ
人力駆動車用のアシスト装置、人力駆動車用の変速装置、および、人力駆動車用の制御システム
24日前
株式会社シマノ
人力駆動車用の制御装置および動力伝達システム
1か月前
株式会社シマノ
人力駆動車用の制御装置、人力駆動車用のコンポーネント、および、電動コンポーネント用の制御装置
9日前
個人
シューズ
5か月前
個人
健康下駄
1か月前
個人
履物
10か月前
個人
シューズ
3か月前
個人
靴
23日前
個人
靴用装着物
8か月前
個人
履物躓き防止装置
1か月前
個人
靴ひもカバー
2か月前
山三商事株式会社
靴
10か月前
株式会社ダイマツ
靴
2か月前
アキレス株式会社
履物
1か月前
株式会社KTC
インソールおよび履物
9か月前
株式会社フォーナインシューズ
靴
8か月前
個人
防滑シート及びその製造方法
6か月前
美津濃株式会社
シューズのソール
5か月前
株式会社ナイガイ
履物用の中敷き
2か月前
徳武産業株式会社
履物
9か月前
株式会社カインズ
樹脂サンダル
5日前
株式会社興和インターナショナル
履物
1か月前
続きを見る
他の特許を見る