TOP
|
特許
|
意匠
|
商標
特許ウォッチ
Twitter
他の特許を見る
10個以上の画像は省略されています。
公開番号
2025139662
公報種別
公開特許公報(A)
公開日
2025-09-29
出願番号
2024038617
出願日
2024-03-13
発明の名称
ルアー
出願人
株式会社シマノ
代理人
弁理士法人酒井国際特許事務所
主分類
A01K
85/00 20060101AFI20250919BHJP(農業;林業;畜産;狩猟;捕獲;漁業)
要約
【課題】不具合の発生を抑制するルアーを提供する。
【解決手段】ルアーは、ボディと、ワイヤと、充填部材とを備える。ボディは、中空部を有するように構成される。ワイヤは、釣糸、または、フック部を接続可能な複数のアイを有し、中空部に配置されるように構成される。充填部材は、中空部に充填され、中空部を閉塞するように構成される。
【選択図】図2
特許請求の範囲
【請求項1】
中空部を有するように構成されるボディと、
釣糸、または、フック部を接続可能な複数のアイを有し、前記中空部に配置されるように構成されるワイヤと、
前記中空部に充填され、前記中空部を閉塞するように構成される充填部材と
を備える、ルアー。
続きを表示(約 590 文字)
【請求項2】
前記充填部材は、前記中空部の開口部に充填されるように構成される、請求項1に記載のルアー。
【請求項3】
前記充填部材は、前記中空部の全体に充填されるように構成される、請求項1に記載のルアー。
【請求項4】
前記中空部は、
第1中空部と、
隔壁によって前記第1中空部と隔離するように構成される第2中空部とを含み、
前記ワイヤは、前記第2中空部に配置されるように構成され、
前記充填部材は、前記第2中空部に充填されるように構成される、請求項1に記載のルアー。
【請求項5】
前記第1中空部に配置され、前記第1中空部内を移動するように構成される錘部を備える、請求項4に記載のルアー。
【請求項6】
前記錘部を、前記複数のアイのうち釣糸を接続可能なアイ側に向けて付勢する付勢部を備える、請求項5に記載のルアー。
【請求項7】
前記第1中空部に配置され、前記ボディに対して振動可能に接続されるように構成される振動体を備え、
前記ボディは、前記第1中空部に光が透過するように構成され、
前記振動体は、光を反射するように構成される、請求項4に記載のルアー。
【請求項8】
前記ボディは、樹脂製である、請求項1に記載のルアー。
発明の詳細な説明
【技術分野】
【0001】
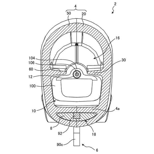
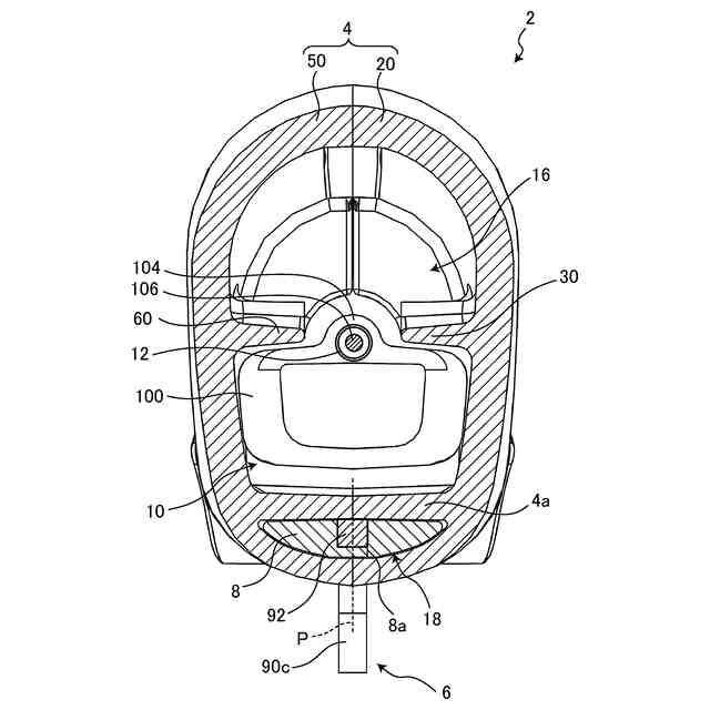
本開示は、ルアーに関する。
続きを表示(約 1,400 文字)
【背景技術】
【0002】
特許文献1には、金属製のワイヤをボディに配置するルアーが開示されている。ワイヤは、釣糸、または、フック部を接続可能な複数アイを有する。ボディは、2つの半割体を接着することによって形成される。
【先行技術文献】
【特許文献】
【0003】
特開2023-177270号公報
【発明の概要】
【発明が解決しようとする課題】
【0004】
従来技術のルアーではワイヤを配置する箇所が肉厚となる。そのため、ボディが成形される場合に、肉厚となる箇所にひけが生じるおそれがある。ボディにひけが生じた場合、半割体の接着不良が生じるおそれがある。接着不良が生じた場合、ボディに水が浸入するおそれがある。これに対し、肉厚となる箇所に中空部が設けられることによって、ひけの発生が抑制できる。したがって、中空部が設けられることによって、ボディへの水の浸入が抑制できる。中空部が設けられたルアーでは、たとえば、中空部にワイヤが配置される。
【0005】
しかしながら、中空部にワイヤが配置された場合、ワイヤとボディとの間に水が浸入するおそれがある。ワイヤとボディとの間に水が浸入した場合、ルアーに不具合が生じるおそれがある。たとえば、ワイヤとボディとの間に水が浸入した場合、ワイヤが腐食するおそれがある。また、ワイヤとボディとの間に水が浸入した場合、浸入した水によってルアーの重心が変化するおそれがある。そのため、ワイヤとボディとの間に水が浸入した場合、水中におけるルアーの動きが低下するおそれがある。
【0006】
本開示の目的の1つは、不具合の発生を抑制するルアーを提供することである。
【課題を解決するための手段】
【0007】
本開示の第1側面に従うルアーは、ボディと、ワイヤと、充填部材とを備える。ボディは、中空部を有するように構成される。ワイヤは、釣糸、または、フック部を接続可能な複数のアイを有し、中空部に配置されるように構成される。充填部材は、中空部に充填され、中空部を閉塞するように構成される。
【0008】
第1側面のルアーによれば、ワイヤを配置する中空部をボディに設けることによって、たとえば、ボディが成形される場合に、ひけがボディに生じることを抑制できる。ルアーは、充填部材によって中空部が閉塞されることによって、中空部への水の浸入を抑制できる。そのため、ルアーは、不具合の発生を抑制できる。たとえば、ルアーは、中空部への水の浸入を抑制することによって、ワイヤの腐食を抑制できる。また、ルアーは、中空部への水の浸入を抑制することによって、ルアーの重心が変化することを抑制できる。そのため、ルアーは、水中におけるルアーの動きの低下を抑制できる。
【0009】
第1側面に従う第2側面のルアーにおいて、充填部材は、中空部の開口部に充填されるように構成される。
【0010】
第2側面のルアーによれば、中空部の開口部から水が浸入することを抑制できる。そのため、ルアーは、不具合の発生を抑制できる。たとえば、ルアーは、ワイヤの腐食を抑制できる。また、ルアーは、水中におけるルアーの動きの低下を抑制できる。
(【0011】以降は省略されています)
この特許をJ-PlatPat(特許庁公式サイト)で参照する
関連特許
株式会社シマノ
エサ箱
2日前
株式会社シマノ
ルアー
1か月前
株式会社シマノ
ルアー
1か月前
株式会社シマノ
制御装置
18日前
株式会社シマノ
釣糸ガイド
23日前
株式会社シマノ
電動リール
10日前
株式会社シマノ
釣糸ガイド
23日前
株式会社シマノ
釣糸巻取部品
10日前
株式会社シマノ
魚釣用リール
23日前
株式会社シマノ
釣糸ガイドカバー
23日前
株式会社シマノ
クーラーボックス
2日前
株式会社シマノ
フィッシングシューズ
1か月前
株式会社シマノ
魚釣用スピニングリール
10日前
株式会社シマノ
スプール及びスピニングリール
1か月前
株式会社シマノ
人力駆動車用の検出装置、および、人力駆動車用のドライブユニット
1か月前
株式会社シマノ
人力駆動車用の制御装置
16日前
株式会社シマノ
人力駆動車用のコンポーネント
16日前
株式会社シマノ
車両用の電力供給システム、車両用の給電装置、中間装置、および、車両用の給電アセンブリ
1か月前
株式会社シマノ
人力駆動車用の制御装置、人力駆動車用の制御システム、および、人力駆動車用の頭部保護装置
1か月前
株式会社シマノ
人力駆動車用の制御装置、人力駆動車用のコンポーネント、および、電動コンポーネント用の制御装置
1か月前
個人
産卵床
2日前
個人
平板植栽
3日前
個人
草刈り鋏
1か月前
個人
釣り用錘
20日前
個人
蠅捕獲器
1か月前
個人
蜜蜂保護装置
1か月前
個人
刈込鋏保持具
1か月前
個人
果実袋
2日前
個人
噴霧器ノズル
18日前
個人
移動体草刈り機
2日前
個人
種子の製造方法
1か月前
個人
養殖器具
2日前
個人
草刈機用回転刃
1か月前
個人
昆虫捕集器
1か月前
株式会社丹勝
緑化工法
1か月前
個人
水田排水量調整器具
2日前
続きを見る
他の特許を見る