TOP
|
特許
|
意匠
|
商標
特許ウォッチ
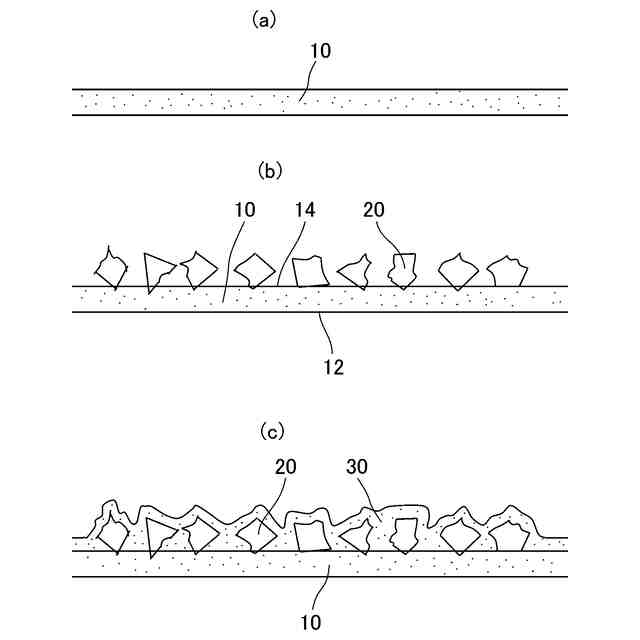
Twitter
他の特許を見る
公開番号
2025042089
公報種別
公開特許公報(A)
公開日
2025-03-27
出願番号
2023148917
出願日
2023-09-14
発明の名称
防滑シート及びその製造方法
出願人
個人
代理人
個人
主分類
A43B
13/22 20060101AFI20250319BHJP(履物)
要約
【課題】雨水で濡れた平滑なコンクリートの路面を歩行する場合とか、浴場のフロアで作業を行ったりする場合に、滑って転んでけがをしない様に、グリップ力の大きい防滑シートを提供することを目的とする。
【解決手段】防滑シートは、軟質樹脂から成るシート材と、シート材上に固着されセラミック粒子から成る防滑材と、シート材及び防滑材を覆い、シート材側と反対側の表面が凹凸形状を有している被覆層と、を有する。好ましくは、シート材と被覆層とは同一材質とされている。
【選択図】図1
特許請求の範囲
【請求項1】
軟質樹脂から成るシート材と、
前記シート材上に固着されセラミック粒子から成る防滑材と、
前記シート材及び前記防滑材を覆い、前記シート材側と反対側の表面が凹凸形状を有している被覆層と、
を有する防滑シート。
続きを表示(約 330 文字)
【請求項2】
前記シート材と前記被覆層とは同一材質とされている請求項1に記載の防滑シート。
【請求項3】
前記シート材及び前記被覆層はポリ塩化ビニール樹脂である請求項1に記載の防滑シート。
【請求項4】
前記被覆層の厚さは前記シート材の厚さよりも薄い請求項1に記載の防滑シート。
【請求項5】
シート材を軟質樹脂で形成する工程と、
前記シート材が固まる前に、前記シート材上にセラミック粒子から成る防滑材を配置する工程と、
前記シート材上の所定位置に前記防滑材が位置決めされた後に、被覆層を形成して前記シート材側と反対側の表面を凹凸形状とする工程と、
を有する防滑シートの製造方法。
発明の詳細な説明
【技術分野】
【0001】
本発明は、例えば靴底に取付けられる為に用いられる防滑シート及びその製造方法に関する。
続きを表示(約 1,400 文字)
【背景技術】
【0002】
雨水で濡れた平滑なコンクリートの路面を歩行する場合とか、調理用の油等が飛び散っている調理場で作業を行ったりする場合に、滑って転んでけがをしない様に滑り止め処理が施された靴を着用することが好ましい。また、介護施設の浴場で入浴補助のサービスを行う場合とか、サーファーがサーフィンを行う場合には、浴場のフロアやサーフボードに滑り止めが施されていることが好ましい。
【0003】
図6は、特許文献1に記載された、滑り止め処理が施された靴底の一例を示したものである。滑り止め用の突起パターンが形成された靴底10には、突起パターンを、V字状の接地面12aを有する第一開き突起12と、第一開き突起12とは逆向きに開いたV字状の接地面13aを有する第二開き突起13とで構成される一対の突起群14を繰り返し配置する構成が開示されている。
【先行技術文献】
【特許文献】
【0004】
特開2014-104286号公報
【発明の概要】
【発明が解決しようとする課題】
【0005】
しかしながら、特許文献1に記載された構成は、平坦面から成る靴底に比べると突起形状を工夫することにより床面との接触面積を減少させ、接触面圧を高めることで確かに耐滑性が向上していると思われるものの、依然として床面との接触は面接触が基本になっている。従い、多くの油等が飛び散っている厳しい環境下でも、接触面から油を排除してグリップ力を発揮できるかは疑問があり、改善の余地がある様に思われる。さらに、かかる網目構造の場合、網目の変形・消耗・劣化で急激にその機能が失われることが懸念される。
【0006】
また、水浸しに近い状態にある浴場のフロアやサーフボードについても、グリップ力の大きい滑り止めが施されていることが望まれる。
【0007】
本発明は、かかる状況に鑑みてなされたものであり、グリップ力の大きい防滑シート及びその製造方法を提供することを目的とする。
【課題を解決するための手段】
【0008】
上記目的は、
軟質樹脂から成るシート材と、
前記シート材上に固着されセラミック粒子から成る防滑材と、
前記シート材及び前記防滑材を覆い、前記シート材側と反対側の表面が凹凸形状を有している被覆層と、
を有する防滑シート、
により達成される。
【0009】
シート材上にセラミック粒子から成る防滑材を配置したことにより、被覆層を介して床材等に接触する面積が減少して点接触に近い状態となる。このため床面との接触面圧が増大することで接触面から油等の流体を排除することができ、これによりグリップ力を確保でき防滑性を向上できる。
【0010】
また、上記目的は、
シート材を軟質樹脂で形成する工程と、
前記シート材が固まる前に、前記シート材上にセラミック粒子から成る防滑材を配置する工程と、
前記シート材上の所定位置に前記防滑材が位置決めされた後に、被覆層を形成して前記シート材側と反対側の表面を凹凸形状とする工程と、
を有する防滑シートの製造方法、
により達成される。
(【0011】以降は省略されています)
この特許をJ-PlatPat(特許庁公式サイト)で参照する
関連特許
個人
健康下駄
1か月前
個人
シューズ
5か月前
個人
履物
10か月前
個人
シューズ
4か月前
個人
靴
29日前
個人
履物躓き防止装置
1か月前
個人
靴用装着物
8か月前
個人
靴ひもカバー
2か月前
株式会社ダイマツ
靴
2か月前
山三商事株式会社
靴
10か月前
アキレス株式会社
履物
1か月前
株式会社KTC
インソールおよび履物
10か月前
株式会社ナイガイ
履物用の中敷き
2か月前
株式会社KTS
インソール
3日前
美津濃株式会社
シューズのソール
5か月前
個人
防滑シート及びその製造方法
6か月前
株式会社フォーナインシューズ
靴
8か月前
徳武産業株式会社
履物
9か月前
株式会社興和インターナショナル
履物
1か月前
糸伍株式会社
靴紐
9か月前
株式会社カインズ
樹脂サンダル
11日前
個人
履き物、サポーター、靴下
1か月前
カーボテック株式会社
歩行矯正姿勢改善具
29日前
株式会社アシックス
シューズ
6か月前
株式会社チャナカンパニー
シューキーパー
6か月前
高笙工業有限公司
紐用リール
10か月前
株式会社アシックス
靴
3か月前
株式会社アシックス
靴
3か月前
株式会社アシックス
靴
3か月前
威海港都貿易有限公司
履物及びその製造方法
2か月前
株式会社アシックス
靴
3か月前
株式会社P.O.イノベーション
インソール
3か月前
株式会社馬里奈
履物
11か月前
個人
ゴルフ、野球、ソフトボールの靴及び靴の中敷き
18日前
株式会社アシックス
靴底
6か月前
なごり株式会社
インソール及び履物
9か月前
続きを見る
他の特許を見る