TOP
|
特許
|
意匠
|
商標
特許ウォッチ
Twitter
他の特許を見る
公開番号
2025072264
公報種別
公開特許公報(A)
公開日
2025-05-09
出願番号
2023191868
出願日
2023-10-24
発明の名称
シューズ
出願人
個人
代理人
主分類
A43B
23/02 20060101AFI20250430BHJP(履物)
要約
【課題】 内部空間の開放状態を保持可能なシューズにおいて、美観の低下を抑制できると共に製造負担を抑制できる、新規なシューズを提供できる。
【解決手段】 シューズは、ミッドソール1と、ミッドソール1との間に足指を収納する内部空間を形成するアッパー(2a,2b)と、を備えるシューズであって、アッパー(2a,2b)は、ミッドソール1に固定されたアッパー本体2aと、アッパー本体2aの足指側の端部に連結され、連結された部分を中心にアッパー本体2aに近接するように自在に回転する可動爪先部2bと、アッパー本体2aの側に設けられた第1連結部2a1と、第1連結部2a1に対応して可動爪先部2bの内表面の上にのみ設けられた第2連結部2b1と、を有し、可動爪先部2bの回転によって内部空間の爪先側の領域が開放され、回転した可動爪先部2bを、第1連結部2a1と第2連結部2b1とが連結することによってアッパー本体2aの側に固定する。
【選択図】図5
特許請求の範囲
【請求項1】
ミッドソールと、前記ミッドソールの上に設けられ前記ミッドソールとの間に足指を収納する内部空間を形成するアッパーと、を備えるシューズであって、
前記アッパーは、
前記ミッドソールに固定されたアッパー本体と、
前記アッパー本体の前記足指側の端部に連結され、前記連結された部分を中心に前記アッパー本体に近接するように自在に回転する可動爪先部と、
前記アッパー本体の側に設けられた第1連結部と、
前記第1連結部に対応して前記可動爪先部の内表面の上にのみ設けられた第2連結部と、を有し、
前記可動爪先部の回転によって前記内部空間の爪先側の領域が開放され、回転した前記可動爪先部を、前記第1連結部と前記第2連結部とが連結することによって前記アッパー本体の側に固定して、前記爪先側の領域の開放状態を保持する、
シューズ。
発明の詳細な説明
【技術分野】
【0001】
本開示は、シューズに関する。
続きを表示(約 1,900 文字)
【背景技術】
【0002】
従来、特許文献1、2に示すように、可動爪先部とアッパー本体とを連結させることによって、内部空間の開放状態の保持及び解除を切り替え可能なシューズが開示されている。具体的には、特許文献1では、可動爪先部の外表面に設けられた固定部(固定装置)と、アッパー本体の外表面に設けられた固定部とを連結させることによって、内部空間の開放状態が保持される。また、固定部同士を分離することによって、開放状態が解除される。
【先行技術文献】
【特許文献】
【0003】
特許第6233764号公報
【発明の概要】
【発明が解決しようとする課題】
【0004】
しかし、特許文献1では、内部空間が閉じられた通常状態において、可動爪先部の外表面に固定部が露出するので、可動爪先部の美観が低下し易い。
【0005】
本開示は、上記した問題に着目して為されたものであって、内部空間の開放状態の保持及び解除を切り替え可能なシューズにおいて、美観の低下を抑制できると共に製造負担を抑制できる、新規なシューズを提供することを目的とする。
【課題を解決するための手段】
【0006】
上記課題を解決するために、本開示の一態様に係るシューズは、ミッドソールと、前記ミッドソールの上に設けられ前記ミッドソールとの間に足指を収納する内部空間を形成するアッパーと、を備えるシューズであって、前記アッパーは、前記ミッドソールに固定されたアッパー本体と、前記アッパー本体の前記足指側の端部に連結され、前記連結された部分を中心に前記アッパー本体に近接するように自在に回転する可動爪先部と、前記アッパー本体の側に設けられた第1連結部と、前記第1連結部に対応して前記可動爪先部の内表面の上にのみ設けられた第2連結部と、を有し、前記可動爪先部の回転によって前記内部空間の爪先側の領域が開放され、回転した前記可動爪先部を、前記第1連結部と前記第2連結部とが連結することによって前記アッパー本体の側に固定して、前記爪先側の領域の開放状態を保持する。
【0007】
本開示の一態様に係るシューズによれば、第2連結部が、可動爪先部の内表面の上にのみ設けられる。すなわち、内部空間が閉じられた通常状態において、可動爪先部の外表面には第2連結部は、露出しない。また、第2連結部を可動爪先部の内表面の上にのみ設ければ済むので、製造負担を抑制できる。
【発明の効果】
【0008】
本開示の一態様に係るシューズによれば、内部空間の開放状態の保持及び解除を切り替え可能なシューズにおいて、美観の低下を抑制できると共に製造負担を抑制できる、新規なシューズを提供できる。
【図面の簡単な説明】
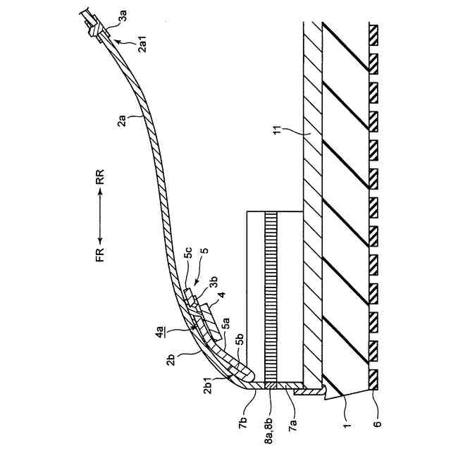
【0009】
本実施形態に係るシューズの構成の概略を内部空間が閉鎖された状態で模式的に説明する斜視図である。
本実施形態に係るシューズの先端を内部空間が閉鎖された状態で部分的に拡大して説明する断面図である。
本実施形態に係るシューズの先端の内部空間が開放され、かつ、第1連結部と第2連結部とが連結されていない状態を部分的に拡大して説明する断面図である。
本実施形態に係るシューズの先端の内部空間が開放され、かつ、第1連結部と第2連結部とが連結された状態を部分的に拡大して説明する断面図である。
本実施形態に係るシューズの構成の概略を内部空間が開放された状態で模式的に説明する斜視図である。
第1変形例に係るシューズの先端の内部空間が開放され、かつ、第1連結部と第2連結部とが連結された状態を部分的に拡大して説明する断面図である。
第2変形例に係るシューズの先端の内部空間が開放され、かつ、第1連結部と第2連結部とが連結された状態を部分的に拡大して説明する断面図である。
【発明を実施するための形態】
【0010】
以下、本開示を図面を参照しつつ説明する。以下の図面の記載において、同一又は類似の部分には同一又は類似の符号を付している。但し、図面は模式的なものであり、厚みと平面寸法との関係、各装置や各部材の厚みの比率等は現実のものとは異なることに留意すべきである。したがって、具体的な厚みや寸法は以下の説明を参酌して判定すべきものである。また、各装置や各部材の個数は、特に言及されない限り、1つに限定されず、複数であってよい。
(【0011】以降は省略されています)
この特許をJ-PlatPat(特許庁公式サイト)で参照する
関連特許
個人
シューズ
5か月前
個人
健康下駄
1か月前
個人
履物
11か月前
個人
靴
1か月前
個人
シューズ
4か月前
個人
履物躓き防止装置
2か月前
個人
靴用装着物
8か月前
個人
靴ひもカバー
2か月前
株式会社ダイマツ
靴
2か月前
山三商事株式会社
靴
10か月前
アキレス株式会社
履物
1か月前
株式会社KTC
インソールおよび履物
10か月前
株式会社ナイガイ
履物用の中敷き
2か月前
美津濃株式会社
シューズのソール
5か月前
個人
防滑シート及びその製造方法
7か月前
株式会社フォーナインシューズ
靴
8か月前
株式会社KTS
インソール
13日前
徳武産業株式会社
履物
10か月前
株式会社カインズ
樹脂サンダル
21日前
株式会社興和インターナショナル
履物
2か月前
個人
履き物、サポーター、靴下
2か月前
糸伍株式会社
靴紐
9か月前
株式会社アシックス
シューズ
6か月前
カーボテック株式会社
歩行矯正姿勢改善具
1か月前
高笙工業有限公司
紐用リール
10か月前
株式会社チャナカンパニー
シューキーパー
6か月前
株式会社P.O.イノベーション
インソール
3か月前
株式会社アシックス
靴
3か月前
株式会社アシックス
靴
3か月前
威海港都貿易有限公司
履物及びその製造方法
2か月前
株式会社アシックス
靴
3か月前
株式会社アシックス
靴
3か月前
株式会社アシックス
靴底
6か月前
個人
ゴルフ、野球、ソフトボールの靴及び靴の中敷き
28日前
株式会社馬里奈
履物
11か月前
株式会社メディカサトウ
インソール、履物
11か月前
続きを見る
他の特許を見る