TOP
|
特許
|
意匠
|
商標
特許ウォッチ
Twitter
他の特許を見る
10個以上の画像は省略されています。
公開番号
2025147626
公報種別
公開特許公報(A)
公開日
2025-10-07
出願番号
2024047968
出願日
2024-03-25
発明の名称
樹脂サンダル
出願人
株式会社カインズ
代理人
個人
,
個人
主分類
A43B
3/12 20060101AFI20250930BHJP(履物)
要約
【課題】足の動きに合わせて快適に曲げることができる樹脂サンダルを提供する。
【解決手段】樹脂サンダルは、足裏を載せるサンダル本体12と、サンダル本体12の本体前部12aからアーチ状に形成されて足甲を覆うアーチ部14と、が一体に形成されている。アーチ部14は、本体前部12aの一方の側辺から他方の側辺まで横方向に延びる段差部が形成されている。サンダル本体12は、段差部に対応する位置に設けられて横方向に延びる第3溝部を有する。
【選択図】図1
特許請求の範囲
【請求項1】
足裏を載せるサンダル本体と、前記サンダル本体からアーチ状に形成されて足甲を覆うアーチ部と、が一体に形成された樹脂サンダルにおいて、
前記アーチ部は、
前記サンダル本体の一方の側辺から他方の側辺まで横方向に延びる段差部が前記横方向に交差する前後方向に形成され、
前記サンダル本体は、
前記段差部に対応する位置に設けられて前記横方向に延びる溝部を底面に有する、
ことを特徴とする樹脂サンダル。
続きを表示(約 560 文字)
【請求項2】
前記アーチ部は、
前記段差部を複数備え、
前記複数の段差部が前記横方向に交差する前後方向において間隔をあけて設けられることにより蛇腹状に形成されている、
ことを特徴とする請求項1に記載の樹脂サンダル。
【請求項3】
前記溝部は、
前記前後方向において前記複数の段差部の間にさらに設けられている、
ことを特徴とする請求項2に記載の樹脂サンダル。
【請求項4】
前記アーチ部は、
前記複数の段差部のうち少なくとも一つの段差部において、前後方向に隣接する位置に設けられたスリットを有する、
ことを特徴とする請求項2または請求項3に記載の樹脂サンダル。
【請求項5】
前記アーチ部は、
前記サンダル本体から立ち上げられた壁部と、
前記壁部を連結する覆い部と、を有し、
前記スリットは、前記覆い部に設けられている、
ことを特徴とする請求項4に記載の樹脂サンダル。
【請求項6】
前記サンダル本体は、
前記溝部に比べて溝幅が小さい他の溝部を前記前後方向において間隔をあけて前記底面に有する、
ことを特徴とする請求項3に記載の樹脂サンダル。
発明の詳細な説明
【技術分野】
【0001】
本発明は、樹脂サンダルに関する。
続きを表示(約 1,600 文字)
【背景技術】
【0002】
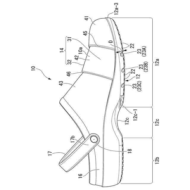
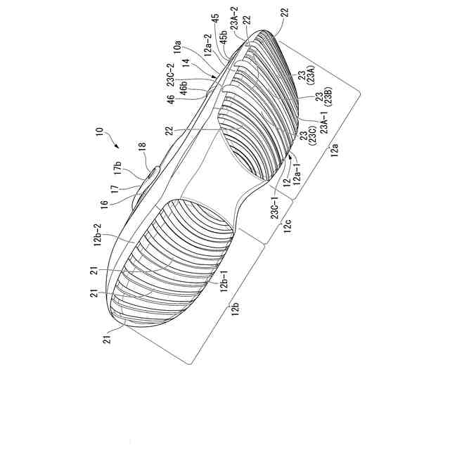
樹脂サンダルとして全体が樹脂で一体に成形されたものが知られている。樹脂サンダルのなかには、例えば、足裏を載せるサンダル本体を備え、サンダル本体からアーチ状に形成されたアーチ部を備えたものがある。アーチ部で足甲の全体が覆われる。この樹脂サンダルは、サンダル本体とアーチ部とが樹脂で一体に成形されている(例えば、特許文献1参照)。
【先行技術文献】
【特許文献】
【0003】
実用新案登録第3235397号公報
【発明の概要】
【発明が解決しようとする課題】
【0004】
ここで、樹脂サンダルのアーチ部は、足甲の全体を覆うように比較的広い面積で形成されている。さらに、樹脂サンダルは、サンダル本体とアーチ部とが樹脂で一体に成形されている。このため、使用者が樹脂サンダルを履いて歩く際に、アーチ部を足の動きに合わせて曲げ難く、樹脂サンダルの履き心地を快適に保つことが難しい。
【0005】
本発明は、足の動きに合わせて快適に曲げることができる樹脂サンダルを提供することを目的とする。
【課題を解決するための手段】
【0006】
前記課題を解決するために、本発明は以下の手段を提案している。
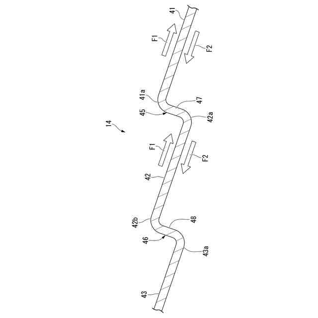
(1)本発明に係る樹脂サンダルは、足裏を載せるサンダル本体と、前記サンダル本体からアーチ状に形成されて足甲を覆うアーチ部と、が一体に形成された樹脂サンダルにおいて、前記アーチ部は、前記サンダル本体の一方の側辺から他方の側辺まで横方向に延びる段差部が前記横方向に交差する前後方向に形成され、前記サンダル本体は、前記段差部に対応する位置に設けられて前記横方向に延びる溝部を底面に有している。
【0007】
上記構成によれば、アーチ部に段差部を設けることにより段差部を足の動きに合わせて変形させることができる。これにより、アーチ部を足の動きに合わせて柔軟に曲げることができる。さらに、サンダル本体において、段差部に対応する位置に溝部を設けた。よって、溝部を足の動きに合わせて変形させることができる。これにより、サンダル本体をアーチ部に合わせて柔軟に曲げることができる。
このように、アーチ部およびサンダル本体を足の動きに合わせて柔軟に曲げることにより、アーチ部を備えた樹脂サンダルを足の動きに合わせて快適に曲げることができる。したがって、樹脂サンダルの履き心地を高めることができる。
る。
【0008】
(2)上記態様において、前記アーチ部は、前記段差部を複数備え、前記複数の段差部が前記横方向に交差する前後方向において間隔をあけて設けられることにより蛇腹状に形成されてもよい。
【0009】
この構成によれば、アーチ部に複数の段差部を設けることにより、アーチ部を蛇腹状に形成した。よって、複数の段差部を足の動きに合わせて変形させることができる。これにより、アーチ部を足の動きに合わせて柔軟に曲げることができる。さらに、サンダル本体において、複数の段差部に対応する位置に溝部を設けた。よって、複数の溝部を足の動きに合わせて変形させることができる。これにより、サンダル本体をアーチ部に合わせて柔軟に曲げることができる。
このように、アーチ部およびサンダル本体を足の動きに合わせて柔軟に曲げることにより、アーチ部を備えた樹脂サンダルを足の動きに合わせて快適に曲げることができる。したがって、樹脂サンダルの履き心地を高めることができる。
る。
【0010】
(3)上記態様において、前記溝部は、前記前後方向において前記複数の段差部の間にさらに設けられていてもよい。
(【0011】以降は省略されています)
この特許をJ-PlatPat(特許庁公式サイト)で参照する
関連特許
株式会社カインズ
樹脂サンダル
1か月前
株式会社カインズ
掛け寝具および寝具カバー
1日前
個人
健康下駄
2か月前
個人
シューズ
6か月前
個人
履物
11か月前
個人
靴
2か月前
個人
シューズ
5か月前
個人
履物躓き防止装置
2か月前
個人
靴用装着物
9か月前
個人
靴ひもカバー
3か月前
株式会社ダイマツ
靴
3か月前
山三商事株式会社
靴
11か月前
個人
シューズネームプレート
1日前
株式会社AR
短靴
14日前
アキレス株式会社
履物
2か月前
個人
靴形状と靴に装着する補助部品
7日前
株式会社KTC
インソールおよび履物
11か月前
美津濃株式会社
シューズのソール
6か月前
株式会社KTS
インソール
1か月前
個人
防滑シート及びその製造方法
7か月前
株式会社ナイガイ
履物用の中敷き
3か月前
株式会社フォーナインシューズ
靴
9か月前
徳武産業株式会社
履物
11か月前
株式会社興和インターナショナル
履物
2か月前
個人
履き物、サポーター、靴下
2か月前
糸伍株式会社
靴紐
10か月前
株式会社カインズ
樹脂サンダル
1か月前
株式会社オークラ商会
履物
1日前
カーボテック株式会社
歩行矯正姿勢改善具
2か月前
株式会社チャナカンパニー
シューキーパー
7か月前
株式会社アシックス
シューズ
7か月前
高笙工業有限公司
紐用リール
11か月前
威海港都貿易有限公司
履物及びその製造方法
3か月前
株式会社アシックス
靴
4か月前
株式会社アシックス
靴
4か月前
株式会社P.O.イノベーション
インソール
4か月前
続きを見る
他の特許を見る