TOP
|
特許
|
意匠
|
商標
特許ウォッチ
Twitter
他の特許を見る
公開番号
2025181347
公報種別
公開特許公報(A)
公開日
2025-12-11
出願番号
2024089286
出願日
2024-05-31
発明の名称
人力駆動車用の制御装置
出願人
株式会社シマノ
代理人
個人
,
個人
主分類
B62M
25/08 20060101AFI20251204BHJP(鉄道以外の路面車両)
要約
【課題】傾斜角度に応じた好適な制御を実行できる人力駆動車用の制御装置を提供する。
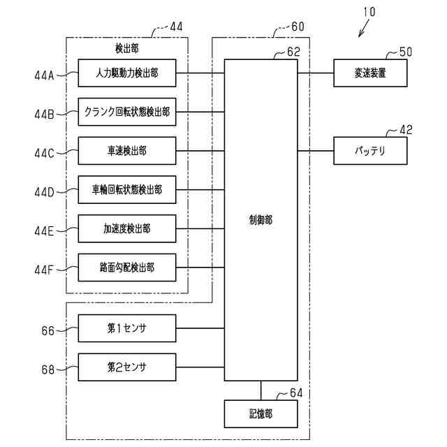
【解決手段】人力駆動車用の制御装置は、変速装置を制御するように構成される制御部を備え、制御部は、人力駆動車の走行状態および人力駆動車の走行環境の少なくとも1つに関する変速パラメータと変速閾値との比較に基づいて変速比を変更するように変速装置を制御するように構成され、人力駆動車の所定軸における所定傾斜角度に関する第1傾斜パラメータを検出可能な第1センサの出力、および、所定傾斜角度に関する第2傾斜パラメータを検出可能な第2センサの出力に応じて変速閾値を変更するように構成され、第2傾斜パラメータが第1所定値よりも小さい場合、第1傾斜パラメータに基づいて変速閾値を変更するように構成され、第2傾斜パラメータが第1所定値以上の場合、第2傾斜パラメータに基づいて変速閾値を変更するように構成される。
【選択図】図2
特許請求の範囲
【請求項1】
人力駆動車用の制御装置であって、
前記人力駆動車のクランク軸の回転速度に対する前記人力駆動車の車輪の回転速度の比率である変速比を変更するように構成される変速装置を制御するように構成される制御部を備え、
前記制御部は、
前記人力駆動車の走行状態および前記人力駆動車の走行環境の少なくとも1つに関する変速パラメータと変速閾値との比較に基づいて前記変速比を変更するように前記変速装置を制御するように構成され、
前記人力駆動車の所定軸における所定傾斜角度に関する第1傾斜パラメータを検出可能な第1センサの出力、および、前記所定傾斜角度に関する第2傾斜パラメータを検出可能であり、かつ、前記第1センサとは異なる第2センサの出力に応じて前記変速閾値を変更するように構成され、
前記第2傾斜パラメータが第1所定値よりも小さい場合、前記第1傾斜パラメータに基づいて前記変速閾値を変更するように構成され、
前記第2傾斜パラメータが前記第1所定値以上の場合、前記第2傾斜パラメータに基づいて前記変速閾値を変更するように構成される、制御装置。
続きを表示(約 1,400 文字)
【請求項2】
前記制御部は、前記第2傾斜パラメータが前記第1所定値よりも小さく、かつ、前記第1傾斜パラメータが第2所定値よりも大きい場合、前記変速比の増加を抑制するように前記変速閾値を変更するように構成される、請求項1に記載の制御装置。
【請求項3】
前記制御部は、前記第2傾斜パラメータが前記第1所定値よりも小さく、かつ、前記第1傾斜パラメータが第3所定値よりも大きい場合、前記変速比の減少を促進するように前記変速閾値を変更するように構成される、請求項1に記載の制御装置。
【請求項4】
前記制御部は、前記第2傾斜パラメータが前記第1所定値以上の場合、前記第2傾斜パラメータの変化方向に基づいて前記変速閾値を変更するように構成される、請求項1に記載の制御装置。
【請求項5】
前記制御部は、前記第2傾斜パラメータが前記第1所定値以上の場合、前記第1傾斜パラメータおよび前記第2傾斜パラメータの両方に基づいて、前記変速閾値を変更するように構成される、請求項1に記載の制御装置。
【請求項6】
人力駆動車用の制御装置であって、
前記人力駆動車のクランク軸の回転速度に対する前記人力駆動車の車輪の回転速度の比率である変速比を変更するように構成される変速装置を制御するように構成される制御部を備え、
前記制御部は、
前記人力駆動車の走行状態および前記人力駆動車の走行環境の少なくとも1つに関する変速パラメータと変速閾値との比較に基づいて前記変速比を変更するように前記変速装置を制御するように構成され、
前記人力駆動車の所定軸における所定傾斜角度に関する第1傾斜パラメータを検出可能な第1センサの出力、および、前記所定傾斜角度に関する第2傾斜パラメータを検出可能であり、かつ、前記第1センサとは異なる第2センサの出力に応じて前記変速装置を制御するように構成され、
前記第2傾斜パラメータが第1所定値よりも小さい場合、前記第1傾斜パラメータに基づいて前記変速閾値を変更するように構成され、
前記第2傾斜パラメータが前記第1所定値以上の場合、前記第2傾斜パラメータに基づいて前記変速比の変更を抑制するように前記変速装置を制御するように構成される、制御装置。
【請求項7】
前記制御部は、前記第2傾斜パラメータが前記第1所定値以上の場合、前記第1傾斜パラメータおよび前記第2傾斜パラメータの両方に基づいて前記変速比の変更を抑制するように前記変速装置を制御する、請求項6に記載の制御装置。
【請求項8】
前記制御部は、前記第2傾斜パラメータが前記第1所定値以上の場合、前記第2傾斜パラメータの変化方向に基づいて前記変速比の変更を抑制するように前記変速装置を制御するように構成される、請求項6に記載の制御装置。
【請求項9】
前記所定傾斜角度は、ピッチ角度を含む、請求項1または6に記載の制御装置。
【請求項10】
前記制御部は、前記第1傾斜パラメータが下り坂と対応する値であり、かつ、前記ピッチ角度が増加する方向に前記第2傾斜パラメータが変化する場合、前記変速比の減少を促進するように前記変速閾値を変更するように構成される、請求項9に記載の制御装置。
(【請求項11】以降は省略されています)
発明の詳細な説明
【技術分野】
【0001】
本開示は、人力駆動車用の制御装置に関する。
続きを表示(約 2,300 文字)
【背景技術】
【0002】
特許文献1は、傾斜角度に応じてコンポーネントを制御する人力駆動車用の制御装置を備える。
【先行技術文献】
【特許文献】
【0003】
特開2023-067701号公報
【発明の概要】
【発明が解決しようとする課題】
【0004】
本開示の目的の1つは、傾斜角度に応じた好適な制御を実行できる人力駆動車用の制御装置を提供することである。
【課題を解決するための手段】
【0005】
本開示の第1側面に従う制御装置は、人力駆動車用の制御装置であって、前記人力駆動車のクランク軸の回転速度に対する前記人力駆動車の車輪の回転速度の比率である変速比を変更するように構成される変速装置を制御するように構成される制御部を備え、前記制御部は、前記人力駆動車の走行状態および前記人力駆動車の走行環境の少なくとも1つに関する変速パラメータと変速閾値との比較に基づいて前記変速比を変更するように前記変速装置を制御するように構成され、前記人力駆動車の所定軸における所定傾斜角度に関する第1傾斜パラメータを検出可能な第1センサの出力、および、前記所定傾斜角度に関する第2傾斜パラメータを検出可能であり、かつ、前記第1センサとは異なる第2センサの出力に応じて前記変速閾値を変更するように構成され、前記第2傾斜パラメータが第1所定値よりも小さい場合、前記第1傾斜パラメータに基づいて前記変速閾値を変更するように構成され、前記第2傾斜パラメータが前記第1所定値以上の場合、前記第2傾斜パラメータに基づいて前記変速閾値を変更するように構成される。
第1側面の制御装置によれば、第1傾斜パラメータを検出可能な第1センサの出力、および、第2傾斜パラメータを検出可能な第2センサの出力に応じて変速装置を制御できるため、傾斜角度に応じた好適な制御を実行できる。
【0006】
本開示の第1側面に従う第2側面の制御装置において、前記制御部は、前記第2傾斜パラメータが前記第1所定値よりも小さく、かつ、前記第1傾斜パラメータが第2所定値よりも大きい場合、前記変速比の増加を抑制するように前記変速閾値を変更するように構成される。
第2側面の制御装置によれば、第2傾斜パラメータが第1所定値よりも小さく、かつ、第1傾斜パラメータが第2所定値よりも大きい場合、変速比の増加を抑制するように変速閾値を変更できるため、ライダの負荷が増加しにくくなる。
【0007】
本開示の第1または第2側面に従う第3側面の制御装置において、前記制御部は、前記第2傾斜パラメータが前記第1所定値よりも小さく、かつ、前記第1傾斜パラメータが第3所定値よりも大きい場合、前記変速比の減少を促進するように前記変速閾値を変更するように構成される。
第3側面の制御装置によれば、第2傾斜パラメータが第1所定値よりも小さく、かつ、第1傾斜パラメータが第3所定値よりも大きい場合、変速比の減少を促進するように変速閾値を変更するため、ライダの負荷が減少しやすくなる。
【0008】
本開示の第1から第3側面のいずれか1つに従う第4側面の制御装置において、前記制御部は、前記第2傾斜パラメータが前記第1所定値以上の場合、前記第2傾斜パラメータの変化方向に基づいて前記変速閾値を変更するように構成される。
第4側面の制御装置によれば、第2傾斜パラメータが第1所定値以上の場合、第2傾斜パラメータの変化方向に基づいて変速閾値を変更できる。
【0009】
本開示の第1から第4側面のいずれか1つに従う第5側面の制御装置において、前記制御部は、前記第2傾斜パラメータが前記第1所定値以上の場合、前記第1傾斜パラメータおよび前記第2傾斜パラメータの両方に基づいて、前記変速閾値を変更するように構成される。
第5側面の制御装置によれば、第2傾斜パラメータが第1所定値以上の場合、第1傾斜パラメータおよび第2傾斜パラメータの両方に基づいて、変速閾値を変更できる。
【0010】
本開示の第6側面に従う制御装置は、人力駆動車用の制御装置であって、前記人力駆動車のクランク軸の回転速度に対する前記人力駆動車の車輪の回転速度の比率である変速比を変更するように構成される変速装置を制御するように構成される制御部を備え、前記制御部は、前記人力駆動車の走行状態および前記人力駆動車の走行環境の少なくとも1つに関する変速パラメータと変速閾値との比較に基づいて前記変速比を変更するように前記変速装置を制御するように構成され、前記人力駆動車の所定軸における所定傾斜角度に関する第1傾斜パラメータを検出可能な第1センサの出力、および、前記所定傾斜角度に関する第2傾斜パラメータを検出可能であり、かつ、前記第1センサとは異なる第2センサの出力に応じて前記変速装置を制御するように構成され、前記第2傾斜パラメータが第1所定値よりも小さい場合、前記第1傾斜パラメータに基づいて前記変速閾値を変更するように構成され、前記第2傾斜パラメータが前記第1所定値以上の場合、前記第2傾斜パラメータに基づいて前記変速比の変更を抑制するように前記変速装置を制御するように構成される。
第6側面の制御装置によれば、第1傾斜パラメータを検出可能な第1センサの出力、および、第2傾斜パラメータを検出可能な第2センサの出力に応じて、変速比の変更を抑制できるため、傾斜角度に応じた好適な制御を実行できる。
(【0011】以降は省略されています)
この特許をJ-PlatPat(特許庁公式サイト)で参照する
関連特許
他の特許を見る